GM Service Manual Online
For 1990-2009 cars only
Figure 1:

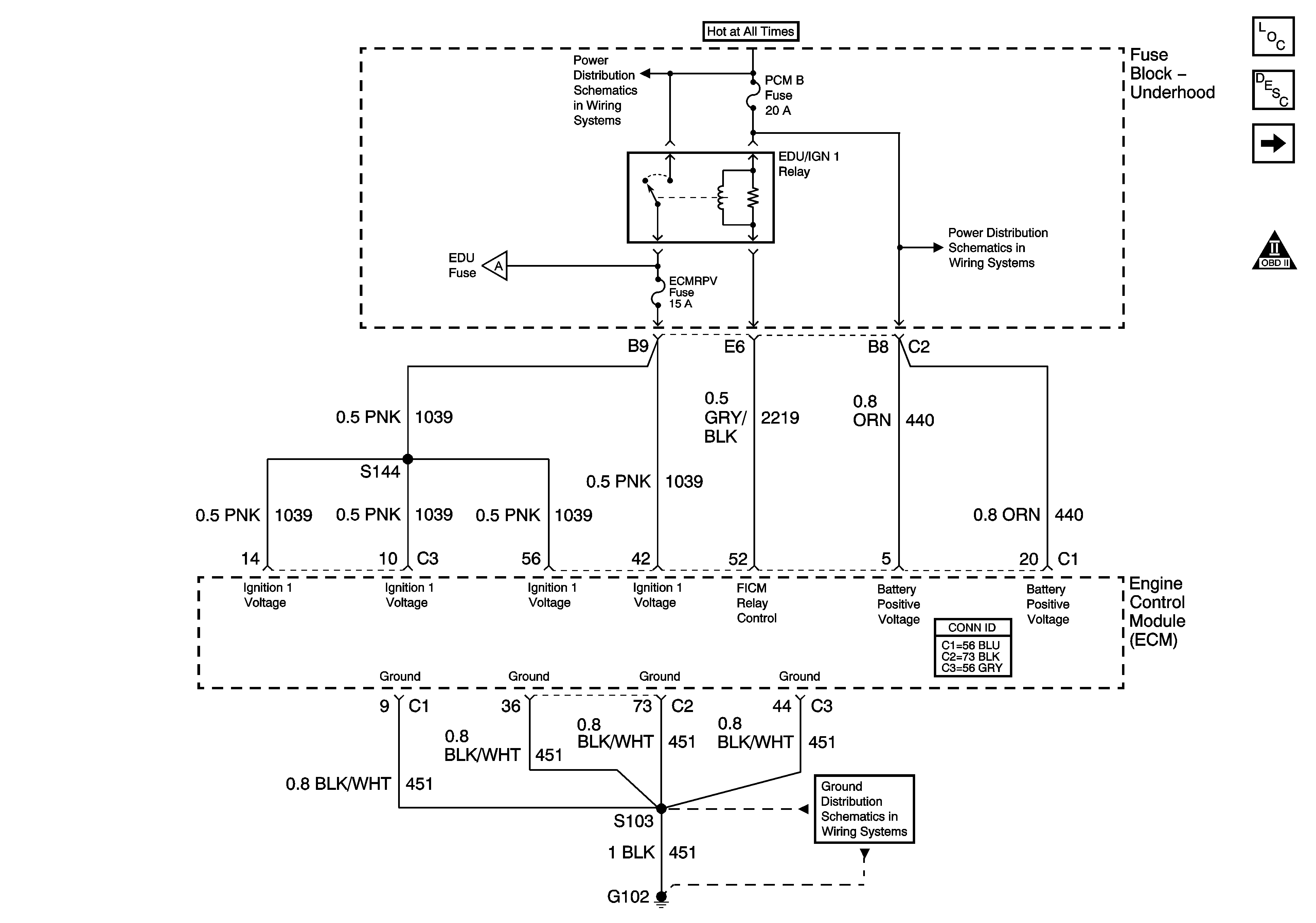
Module Power - 1 of 2 and Ground


Object Number: 1362206  Size: FS
Master Electrical Component List
Engine Control Module Description
Module Power - 2 of 2, Serial Data and MIL
Engine Controls Schematic Icons
B+ Bus Bar - 2 of 2
PCM B, ECMRPV, EDU Fuses, F/PMP and EDU/IGN 1 Relays - Diesel Only
Fuel Controls - Injector and Pressure Controls
G102, G103, G108 and G109 - Diesel
Figure 2:

Module Power - 2 of 2, Serial Data and MIL


Object Number: 1362224  Size: FS
Master Electrical Component List
Engine Control Module Description
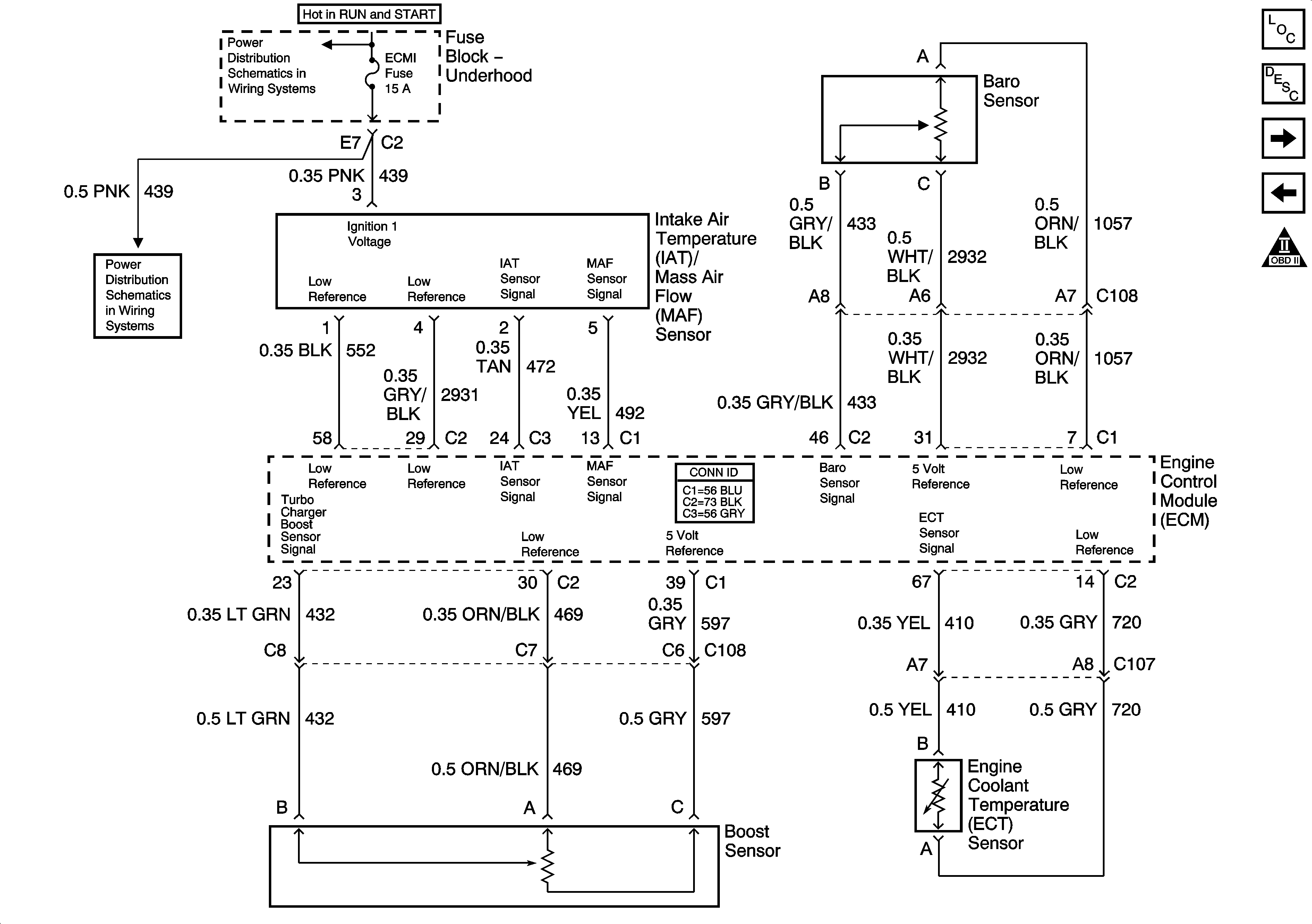
Engine Data Sensors - Pressure and Temperature
Module Power - 1 of 2 and Ground
Engine Controls Schematic Icons
Ignition Switch - START, RUN, and ACC/RUN/START Bus Bars
Ignition Switch - ACC/RUN and RUN/START Bus Bars
FUEL HT and PCM I Fuses - Diesel
RTD, IPC/DIC, SEO B1, SUNROOF, EAP, and RR WPR Fuses
RTD, IPC/DIC, SEO B1, SUNROOF, EAP, and RR WPR Fuses
Indicators
IGN 0, TBC IGN 0,TBC ACCY, SEO ACCY, RR WPR, and WS WPR Fuses
Controller Area Network (CAN) - Diesel
SP205 - 2 of 2
Figure 3:

Engine Data Sensors - Pressure and Temperature


Object Number: 1362253  Size: FS
Master Electrical Component List
Engine Control Module Description
Engine Data Sensors - EGR and Turbocharger Controls
Module Power - 2 of 2, Serial Data and MIL
Engine Controls Schematic Icons
SBA, ETC/ECM, PCM 1, BTSI, and TRL B/U Fuses
SBA, ETC/ECM, PCM 1, BTSI, and TRL B/U Fuses
Figure 4:

Engine Data Sensors - EGR and Turbocharger Controls


Object Number: 1362260  Size: FS
Master Electrical Component List
Engine Control Module Description
Engine Data Sensors - Pedal Position
Engine Data Sensors - Pressure and Temperature
Engine Controls Schematic Icons
Figure 5:

Engine Data Sensors - Pedal Position


Object Number: 1362268  Size: FS
Master Electrical Component List
Engine Control Module Description
Engine Data Sensors - VSS and Injection Timing Controls
Engine Data Sensors - EGR and Turbocharger Controls
Engine Controls Schematic Icons
Figure 6:

Engine Data Sensors - VSS and Injection Timing Controls


Object Number: 1362277  Size: FS
Master Electrical Component List
Engine Control Module Description
Engine Data Sensors - Glow Plug Controls
Engine Data Sensors - Pedal Position
Engine Controls Schematic Icons
Gages
Vehicle Speed and Speedometer
Speed Sensors
Manual Transmission Schematics
G102, G103, G108 and G109 - Diesel
G102, G103, G108 and G109 - Diesel
Figure 7:

Engine Data Sensors - Glow Plug Controls


Object Number: 1362294  Size: FS
Master Electrical Component List
Engine Control Module Description
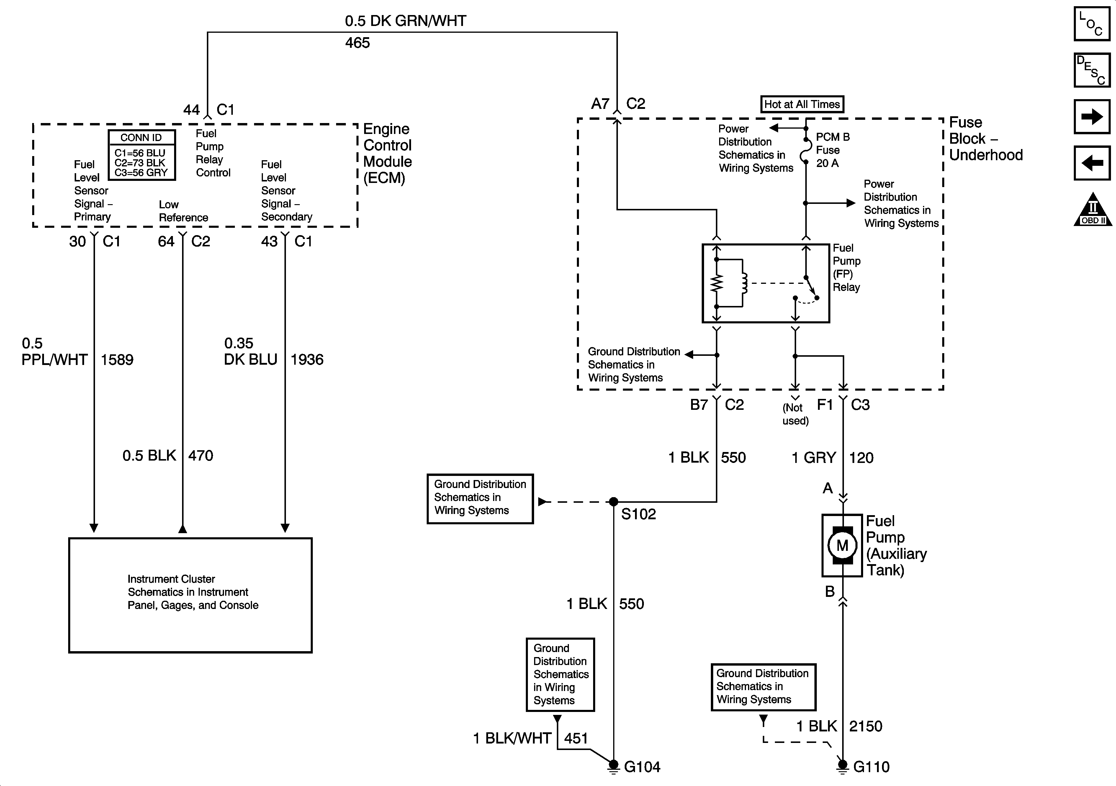
Fuel Controls - Fuel Pump Controls
Engine Data Sensors - VSS and Injection Timing Controls
Engine Controls Schematic Icons
Controller Area Network (CAN) - Diesel
Ignition Switch - ACC/RUN and RUN/START Bus Bars
FUEL HT and PCM I Fuses - Diesel
Battery Supply - 2 of 2
G102, G103, G108 and G109 - Diesel
Figure 8:

Fuel Controls - Fuel Pump Controls


Object Number: 1362299  Size: FS
Master Electrical Component List
Engine Control Module Description
Fuel Controls - Temperature
Engine Data Sensors - Glow Plug Controls
Engine Controls Schematic Icons
Fuel Gage
PCM B, ECMRPV, EDU Fuses, F/PMP and EDU/IGN 1 Relays - Diesel Only
PCM B, ECMRPV, EDU Fuses, F/PMP and EDU/IGN 1 Relays - Diesel Only
G104, G106, and G107
G104, G106, and G107
G104, G106, and G107
G110
Figure 9:

Fuel Controls - Temperature


Object Number: 1362305  Size: FS
Master Electrical Component List
Engine Control Module Description
Fuel Controls - Injector and Pressure Controls
Fuel Controls - Fuel Pump Controls
Engine Controls Schematic Icons
FUEL HT and PCM I Fuses - Diesel
Ignition Switch - ACC/RUN and RUN/START Bus Bars
G102, G103, G108 and G109 - Diesel
Figure 10:

Fuel Controls - Injector and Pressure Controls


Object Number: 1362331  Size: FS
Master Electrical Component List
Engine Control Module Description
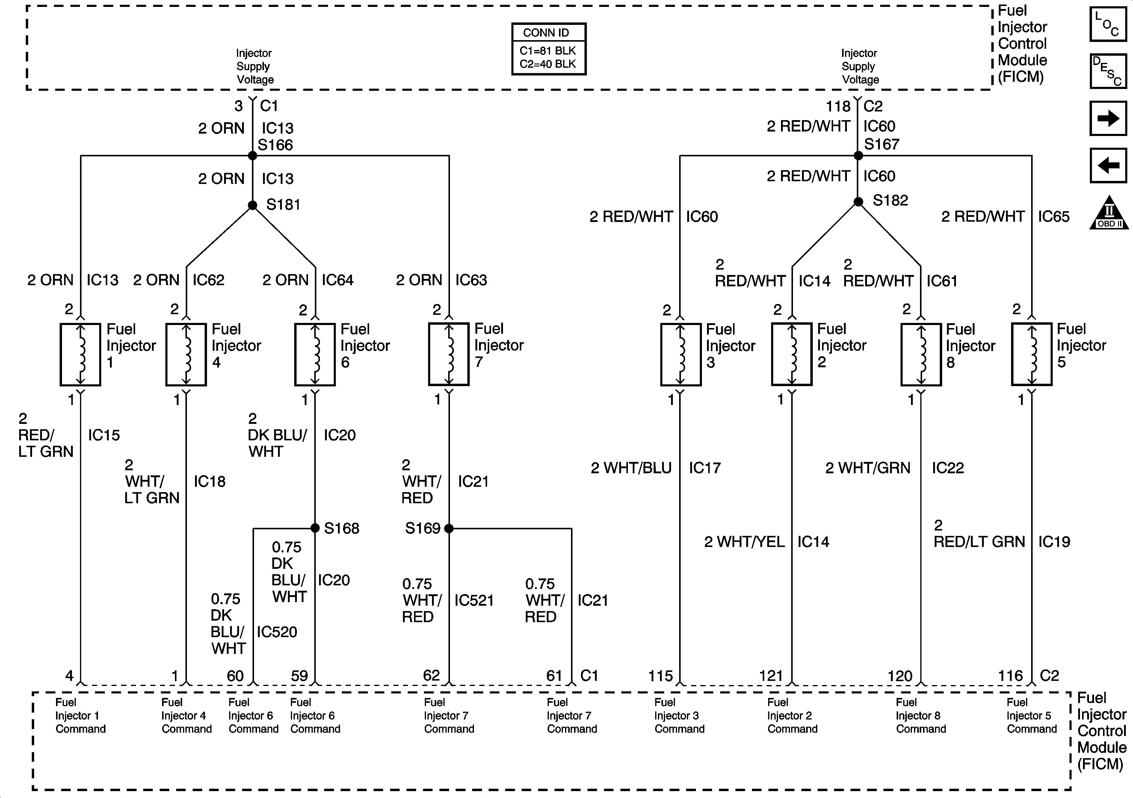
Fuel Controls - Fuel Injectors
Fuel Controls - Temperature
Engine Controls Schematic Icons
Module Power - 1 of 2 and Ground
G102, G103, G108 and G109 - Diesel
G102, G103, G108 and G109 - Diesel
G102, G103, G108 and G109 - Diesel
Figure 11:

Fuel Controls - Fuel Injectors


Object Number: 1362335  Size: FS
Master Electrical Component List
Engine Control Module Description
Controlled/Monitored Subsystem References - 1 of 2
Fuel Controls - Injector and Pressure Controls
Engine Controls Schematic Icons
Figure 12:

Controlled/Monitored Subsystem References - 1 of 2


Object Number: 1362341  Size: FS
Master Electrical Component List
Engine Control Module Description
Controlled/Monitored Subsystem References - 2 of 2
Fuel Controls - Fuel Injectors
Engine Controls Schematic Icons
A/C Compressor Controls
A/C Compressor Controls
Gages
Manual Transmission Schematics
Power Take-Off (PTO) Schematics
Diesel - 1 of 2
Figure 13:

Controlled/Monitored Subsystem References - 2 of 2


Object Number: 1362347  Size: FS
Master Electrical Component List
Engine Control Module Description
Controlled/Monitored Subsystem References - 1 of 2
Engine Controls Schematic Icons
Over 8600 GVW - 1 of 2
Over 8600 GVW - 1 of 2
Indicators
Coolant Level Indicator Control - Diesel and L18 Only
Transfer Case Control Schematics
Front Axle Actuator Control
Power, Ground, Class 2 Serial Data and Transfer Case Encoder Motor
Charging - Diesel
Starting - Diesel
Backup Lamps - Chevrolet
Shift Solenoids and PNP Signals
MIL Control, Serial Data and Torque Signals