GM Service Manual Online
For 1990-2009 cars only
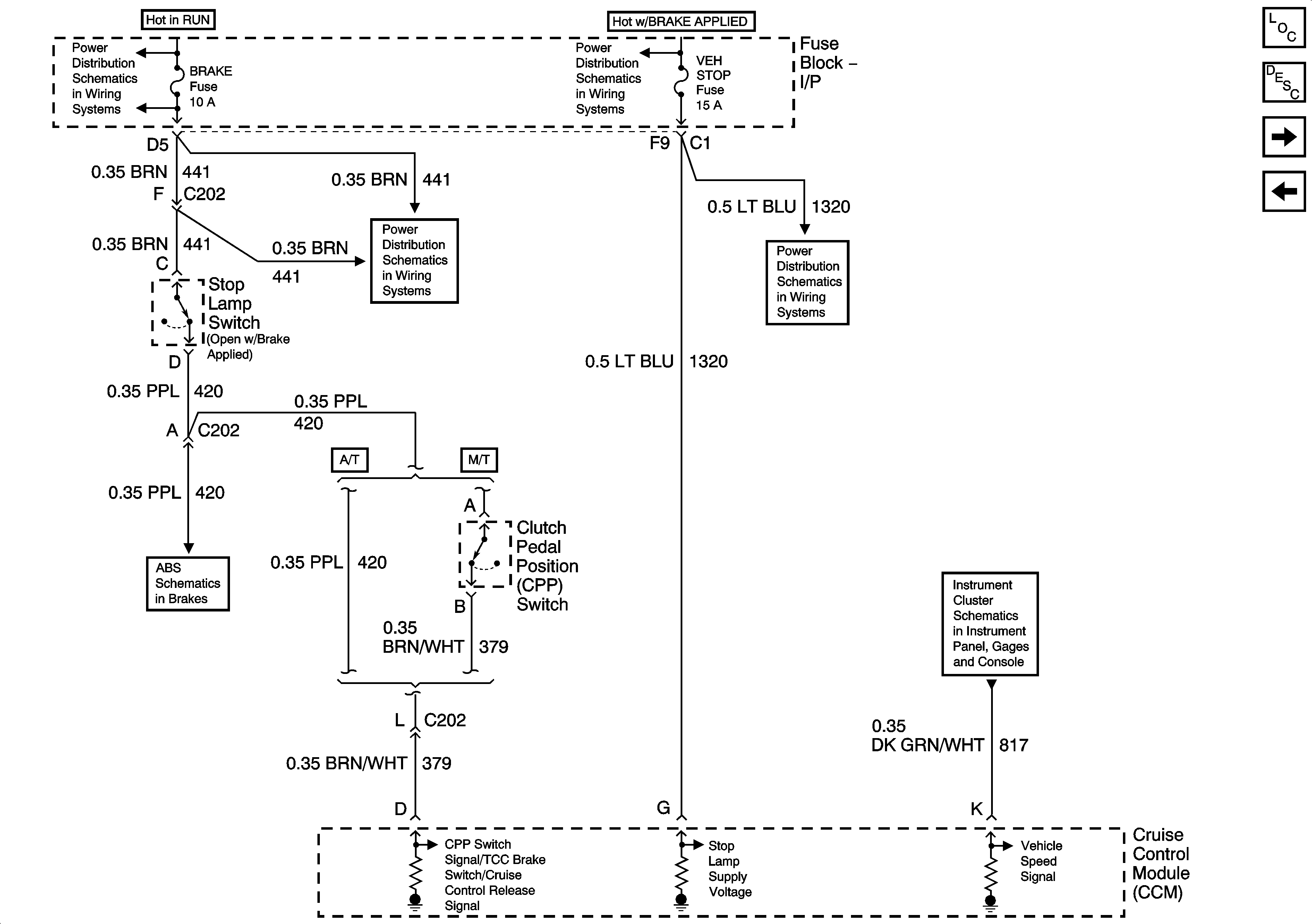
Figure 1:

4.3L - 1 of 2


Object Number: 1244747  Size: FS
Master Electrical Component List
Cruise Control Description and Operation 4.3L
4.3L - 2 of 2
IGN 3, Cruise, and 4WD Fuses
IGN 3, Cruise, and 4WD Fuses
SP205 - 1 of 2
G203 - 1 of 3
G203 - 1 of 3
G203 - 1 of 3
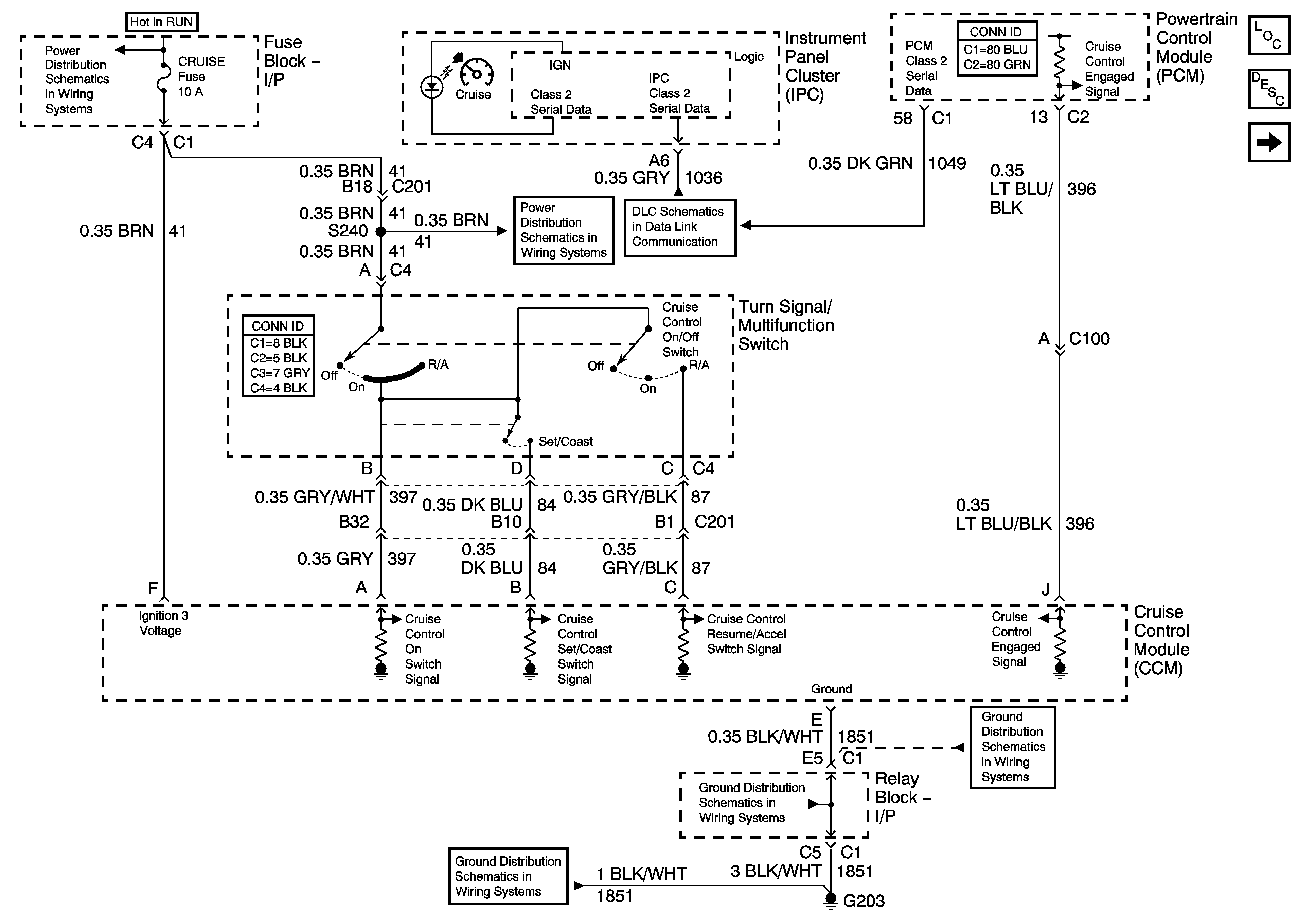
Figure 2:

4.3L - 2 of 2


Object Number: 1244752  Size: FS
Master Electrical Component List
Cruise Control Description and Operation 4.3L
4.8, 5.3, 6.0, and 8.1L - 1 of 2
4.3L - 1 of 2
BRAKE, HTR/AC, and HVAC 1 Fuses
VEH CHMSL, VEH STOP, LT TRLR ST/TRN, and RT TRLR ST/TRN Fuses
BRAKE, HTR/AC, and HVAC 1 Fuses
VEH CHMSL, VEH STOP, LT TRLR ST/TRN, and RT TRLR ST/TRN Fuses
8600 GVW or Less - 2 of 2
Vehicle Speed and Speedometer
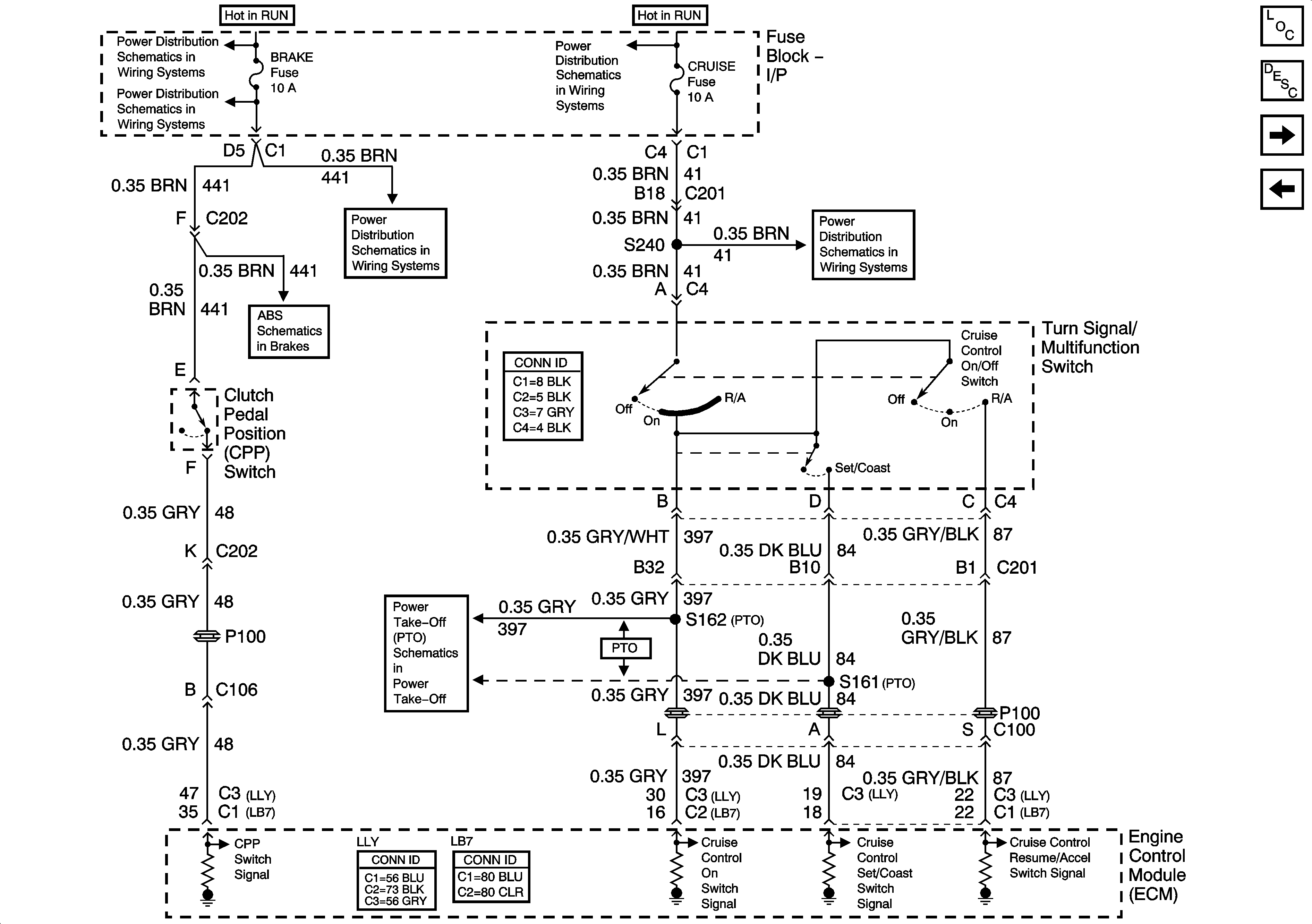
Figure 3:

4.8, 5.3, 6.0, and 8.1L - 1 of 2


Object Number: 1244753  Size: FS
Master Electrical Component List
Cruise Control Description and Operation 4.8L, 5.3L, 6.0L, and 8.1L
4.8, 5.3, 6.0, and 8.1L - 2 of 2
4.3L - 2 of 2
IGN 3, Cruise, and 4WD Fuses
VEH CHMSL, VEH STOP, LT TRLR ST/TRN, and RT TRLR ST/TRN Fuses
IGN 3, Cruise, and 4WD Fuses
Power Take-Off (PTO) Schematics
VEH CHMSL, VEH STOP, LT TRLR ST/TRN, and RT TRLR ST/TRN Fuses
Figure 4:

4.8, 5.3, 6.0, and 8.1L - 2 of 2


Object Number: 1244755  Size: FS
Master Electrical Component List
Cruise Control Description and Operation 4.8L, 5.3L, 6.0L, and 8.1L
Diesel - 1 of 2
4.8, 5.3, 6.0, and 8.1L - 1 of 2
Ignition Switch - START, RUN, and ACC/RUN/START Bus Bars
BRAKE, HTR/AC, and HVAC 1 Fuses
BRAKE, HTR/AC, and HVAC 1 Fuses
8600 GVW or Less - 2 of 2
Vehicle Speed and Speedometer
SP205 - 1 of 2
8600 GVW or Less - 2 of 2
Figure 5:

Diesel - 1 of 2


Object Number: 1244774  Size: FS
Master Electrical Component List
Cruise Control Description and Operation 6.6L
Diesel - 2 of 2
4.8, 5.3, 6.0, and 8.1L - 2 of 2
Ignition Switch - START, RUN, and ACC/RUN/START Bus Bars
BRAKE, HTR/AC, and HVAC 1 Fuses
IGN 3, Cruise, and 4WD Fuses
BRAKE, HTR/AC, and HVAC 1 Fuses
IGN 3, Cruise, and 4WD Fuses
Over 8600 GVW - 2 of 2
Power Take-Off (PTO) Schematics
Figure 6:

Diesel - 2 of 2


Object Number: 1379290  Size: FS
Master Electrical Component List
Cruise Control Description and Operation 6.6L
Diesel - 1 of 2
VEH CHMSL, VEH STOP, LT TRLR ST/TRN, and RT TRLR ST/TRN Fuses
VEH CHMSL, VEH STOP, LT TRLR ST/TRN, and RT TRLR ST/TRN Fuses
Vehicle Speed and Speedometer
SP205 - 1 of 2
Over 8600 GVW - 2 of 2