GM Service Manual Online
For 1990-2009 cars only

The C/K model vehicle uses two different clutch hydraulic systems and five different clutch variations. The vehicles with the 5 speed transmissions RPO MW3 and MG5 use a different clutch hydraulic system than the vehicles with the 6 speed transmission RPO ML6. For the proper diagnosis, because of the clutch variations, it is important to understand which clutch system is used.

4.3L Clutch

The 4.3L clutch system is described as the following:

    • Size - 280 mm (11 in)
    • Clutch pressure plate - Diaphragm spring plate, non-self adjusting
    • Clutch disc - Damper spring style
    • Hydraulic system - 5 speed

4.8L Clutch

The 4.8L clutch system is described as the following:

    • Size - 301 mm (11.85 in)
    • Clutch pressure plate - Diaphragm spring plate, non-self adjusting
    • Clutch disc - Damper spring style
    • Hydraulic system - 5 speed

6.0L Clutch

The 6.0L clutch system is described as the following:

    • Size - 297 mm (11.70 in)
    • Clutch pressure plate - Diaphragm spring plate, self adjusting
    • Clutch disc - Damper spring style
    • Hydraulic system - 5 speed

8.1L Clutch

The 8.1L clutch system is described as the following:

    • Size - 297 mm (11.7 in)
    • Clutch pressure plate - Diaphragm spring plate, self adjusting
    • Clutch disc - Damper spring style
    • Hydraulic system - 6 speed

6.6L Clutch

The 6.6L clutch system is described as the following:

    • Size - 302 mm (12 in)
    • Clutch pressure plate - Diaphragm spring plate, self adjusting
    • Clutch disc - No damper spring style
    • Hydraulic system - 6 speed

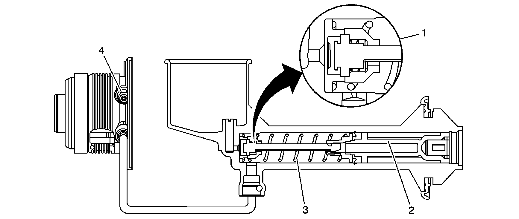
5 Speed Transmission Hydraulic Clutch System


Object Number: 827262  Size: SF

The reservoir, which is part of the master cylinder, supplies the fluid at the front of the master cylinder through the center feed port (1). The center feed ports allow the flow of fluid from the reservoir to the cylinder when the pedal is in the complete returned position. The master cylinder uses a spring (3) to return the piston (2) to the clutch engagement position. A bleeder screw (4) is located at the clutch actuator cylinder for bleeding the hydraulic system.

6 Speed Transmission Hydraulic Clutch System


Object Number: 827263  Size: SF

The reservoir, mounted on the front of the master cylinder, supplies low pressure (3) fluid to the master cylinder by a hose to the rear of the master cylinder, through a compensation port (1). The compensation port (1), a small groove in the nylon bore of the master cylinder, is closed from the high pressure (4) fluid by the seals on the piston (2) after the clutch pedal is depressed 8 mm (0.31 in). When the clutch pedal is in the full upright position, the port is opened to allow air to return to the reservoir, or to allow fluid from the reservoir to fill the cylinder bore. The piston in the master cylinder is connected to the pedal pushrod. The clutch pedal has a spring for returning the piston to the clutch engagement position. The system is bled by pumping the pedal, self-bleeding, or by the vacuum pump method on the reservoir.

Clutch Pedal Reserve


Object Number: 816125  Size: SH

Clutch pedal reserve is necessary in order for the clutch to be completely disengaged and allow proper shifting of the transmission. Clutch pedal reserve is the movement of the pedal after the clutch has fully released. The distance from clutch full release (2) to pedal fully down (1) is the clutch reserve dimension, typically 25-38 mm (1.0-1.5 in).

In order to test to determine if the clutch is properly releasing, and the hydraulic system is functioning properly:

  1. Depress the clutch pedal fully to disengage the clutch.
  2. Shift into a low gear, either 1st or reverse.
  3. Slowly shift out of the gear, only to disengage the synchronizer sleeve from the speed gear engagement teeth.
  4. Let up on the pedal, to engage the clutch.
  5. Depress the clutch pedal and shift back into gear.

If the clutch is releasing properly, you should be able to engage the gear without grinding after 4 to 5 seconds, which is the time for the clutch disc to quit spinning.

Clutch System Components

Non-Self-Adjusting Pressure Plate Assembly


Object Number: 827265  Size: MF

The non-self adjusting diaphragm spring clutch consists of a pressure plate (2), a diaphragm spring (3), a pivot ring (4), drive straps (5), and a cover (1). When the release bearing contacts the tips of the diaphragm spring fingers, it moves them toward the flywheel. The outside diameter of the diaphragm spring pivots on a pivot ring inside the cover. This action lifts the pressure plate off the flywheel through the drive straps, which connect the cover to the pressure plate. Non-self adjusting pressure plates have different symptoms. On non-self adjusting clutches, as the clutch wears, there is an increase in pedal effort. The piston or release bearing in the clutch actuator cylinder moves towards the transmission as the clutch wears. The piston is at the furthest position from the transmission with a new clutch.

Self-Adjusting Pressure Plate Assembly


Object Number: 827266  Size: MF

The self-adjusting diaphragm spring clutch consists of a pressure plate (1), a diaphragm spring (5), a ramp ring (3), sensor (4), coil spring (6), and a cover (2). In conventional clutch designs, pedal effort increases as the disc wears. The self-adjusting clutch was designed to keep pedal effort low and constant over the life of the clutch. As the disc friction material wears, the ramp ring (3) in the clutch adjusts for the wear. The main diaphragm spring (5) is not permanently riveted to the clutch cover, as with non-self-adjusting clutch assemblies, but is only retained axially against the cover by a defined or sensor (4) force. The clutch adjusts when the sensor (4) force cannot hold the diaphragm spring (5) against the cover (2) because of wear to the clutch disc. With the diaphragm spring (5) away from the cover, the spring loaded ramp ring (3) compensates for the gap. The adjustment lasts until the sensor (4) force can position the diaphragm spring to the original angle. When new, the clutch actuator piston or release bearing is closer to the transmission, on self-adjusting clutches. As the clutch wears, the clutch pressure plate levers move towards the engine. The clutch actuator piston moves further from the transmission. If a self-adjusting clutch does not self adjust, there will be low pedal effort and low clutch pedal reserve. If the clutch has backward adjusted after an incident of severe use, the pedal may seem hard. After a couple of applications, the clutch should adjust to the proper adjustment.

Clutch Disc


Object Number: 827267  Size: MF

The disc is a critical component in service life of the clutch system. It provides smooth engagement and dampens engine vibrations. Mounted to the input shaft between the flywheel and the clutch, it can slide forward and backward on the input shaft, but cannot rotate without rotating the input shaft. Critical component parts include the hub-flange (6) and the torsion springs (2 and 3). The hub-flange (6) is located between a cover plate (5) and a retainer plate (8); it is splined (7) to fit the input shaft. Torsion springs (2 and 3) reduce vibrations passed to the transmission through the input shaft and eliminate gear rattle. Friction material (1) is riveted to numerous metal components called marcels, or cushion segments (4). Waves in marcels soften engagement. The clutch disc with the 6.6L engine does not use damper springs.

Clutch Pedal


Object Number: 827268  Size: MF

The clutch pedal, mounted on the engine cowl, is designed to compress the clutch hydraulic fluid with little driver effort. The pedal swivels on bushings. There are two different clutch pedal configurations. With the 5 speed transmission clutch pedal (1), the clutch master cylinder pushrod latches into a socket on the pedal. A spring, located inside of the clutch master cylinder, keeps the pushrod in the pedal socket and returns the pedal to the correct position after depressing. With the 6 speed transmission clutch pedal (2), the clutch master cylinder pushrod connects to the pedal. The pedal contains a spring, which returns the pedal and the master cylinder piston to the correct position after depressing. The 6 speed pedal spring is an over-centering design. As the pedal is pushed further, the leverage design of the pedal compresses the hydraulic fluid without any driver effort. Because of the over-center design, if there is not hydraulic fluid resistance, the pedal will stay to the floor.

Flywheel


Object Number: 827269  Size: MF

Bolted to the end of the crankshaft, the flywheel (1) provides the mounting surface for the clutch. During engagement, the disc is clamped against the flywheel by the pressure plate. The flywheel acts as a heat sink, dissipating heat and moving it away from the clutch pressure plate and disc friction material. The flywheel must provide a smooth, flat surface in order for the clutch to operate properly. The dual-mass flywheel (2), which is used on the 6.6L engine, is designed to absorb engine vibrations before they are transmitted to the driveline, where they can create gear rattle. This is achieved by splitting the conventional flywheel into two sections: a primary section, which bolts to the crankshaft, and a secondary section, onto which the clutch is bolted. The primary section of the flywheel contains springs to isolate engine vibrations and a torque-limiting device to prevent engine torque spikes from exceeding engine and transmission component strength.

Pilot Bearing/Bushing


Object Number: 827271  Size: SH

On vehicles, except those with the 6.6L engine, a pilot bearing or bushing is located in the end of the crankshaft. On the 6.6L engine, the pilot bearing is located in the dual mass flywheel. The pilot bearing supports the end of the input shaft and centers the disc on the flywheel. A small and relatively inexpensive component, the pilot bearing or bushing should always be replaced during clutch installation. The variety of conditions caused by a worn or defective bearing or bushing is not worth the risk of having to remove the bell housing and transmission to replace this small part.

Clutch Actuator Cylinder


Object Number: 827272  Size: MF

The clutch actuator cylinder is fastened to the front of the transmission. The actuator cylinder moves the clutch release bearing from the pressurized hydraulic fluid. The actuator cylinder has a piston, which has seals that slide in the housing assembly. There is a spring between the piston and housing to keep the piston at the extended position, so that release bearing is in constant contact with the pressure plate fingers. With the 5 speed system (1), the clutch actuator has a bleeder for bleeding air out of the hydraulic system. The release bearing is replaceable on the 5 speed system. With the 6 speed system (2), the clutch actuator does not have a bleeder. To prevent loss of fluid, the hose comes with the actuator.

Release Bearing

The release bearing is attached to the clutch actuator cylinder, which is attached to the front of the transmission. Movement of the clutch actuator cylinder piston moves the release bearing, to press against the tips of the diaphragm spring fingers. Ball bearings, in the release bearing, enable it to turn while applying pressure to the fingers. The release bearing is held in constant contact with the diaphragm spring fingers to prevent slippage and wear. This load is supplied by the clutch actuator spring.