GM Service Manual Online
For 1990-2009 cars only
Table 1: Auxiliary Power Outlet 120-Volt AC - Exterior (HP2)
Table 2: Auxiliary Power Outlet 120-Volt AC - Interior (HP2)
Table 3: Auxiliary Power Outlet - Bin (Y91)
Table 4: Auxiliary Power Outlet - Console (UQ7)
Table 5: Auxiliary Power Outlet - Front (Except Z75)
Table 6: Auxiliary Power Outlet Switch (HP2)
Table 7: Cigar Lighter (Y91 or UQ3/UQ5)
Table 8: Cigar Lighter (YE9 w/UQ7)

Auxiliary Power Outlet 120-Volt AC - Exterior (HP2)


Object Number: 1391787  Size: CH

Connector Part Information

    • 15416865
    • 7-Way F GT 280/150 Series Sealed (BLK)

Pin

Wire Color

Circuit No.

Function

A

--

--

Not Used

B

WHT

5685

APO Neutral

C

ORN

5595

High Voltage Interlock Loop Signal - 2

D

BLK

50

Ground

E

YEL

5690

High Voltage Interlock Loop Signal - 3

F

DK GRN

5686

Ground

G

BLK

5683

APO Phase A

Auxiliary Power Outlet 120-Volt AC - Interior (HP2)


Object Number: 1391787  Size: CH

Connector Part Information

    • 15416865
    • 7-Way F GT 280/150 Series Sealed (BLK)

Pin

Wire Color

Circuit No.

Function

A

--

--

Not Used

B

WHT

5685

APO Neutral

C

ORN

5595

High Voltage Interlock Loop Signal - 2

D

--

--

Not Used

E

PPL

5087

High Voltage Interlock Loop Signal - 1

F

DK GRN

5686

Ground

G

BLK

5683

APO Phase A

Auxiliary Power Outlet - Bin (Y91)


Object Number: 320518  Size: CH

Connector Part Information

    • 12176446
    • 3-Way F Metri-Pack 280 Series Flexlock (BLK)

Pin

Wire Color

Circuit No.

Function

A

ORN

1040

Battery Positive Voltage

B

--

--

Not Used

C

BLK

1050

Ground

Auxiliary Power Outlet - Console (UQ7)


Object Number: 320518  Size: CH

Connector Part Information

    • 12176446
    • 3-Way F Metri-Pack 280 Series Flexlock (BLK)

Pin

Wire Color

Circuit No.

Function

A

ORN

1040

Battery Positive Voltage

B

--

--

Not Used

C

BLK

1050

Ground

Auxiliary Power Outlet - Front (Except Z75)


Object Number: 320518  Size: CH

Connector Part Information

    • 12176446
    • 3-Way F Metri-Pack 280 Series Flexlock (BLK)

Pin

Wire Color

Circuit No.

Function

A

ORN

1040

Battery Positive Voltage

B

--

--

Not Used

C

BLK

1050

Ground

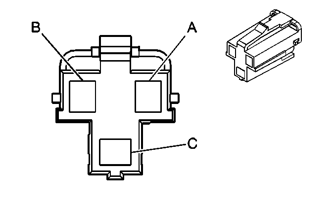
Auxiliary Power Outlet Switch (HP2)


Object Number: 304345  Size: CH

Connector Part Information

    • 12177195
    • 6-Way F Metri-Pack 150 Series (BLK)

Pin

Wire Color

Circuit No.

Function

A

BRN/WHT

5682

Low Reference

B

BLK

1050

Ground

C

YEL

5680

APO Switch Indicator Control

D

PNK

1639

Ignition 1 Voltage

E

BRN/WHT

230

Instrument Panel Lamps Dimming Control

F

PPL

5681

APO Switch Signal

Cigar Lighter (Y91 or UQ3/UQ5)


Object Number: 365964  Size: CH

Connector Part Information

    • 12176445
    • 3-Way F Metri-Pack 280 Series Flexlock (NAT)

Pin

Wire Color

Circuit No.

Function

A

ORN

640

Battery Positive Voltage

B

--

--

Not Used

C

BLK

1050

Ground

Cigar Lighter (YE9 w/UQ7)


Object Number: 362748  Size: CH

Connector Part Information

    • 12176836
    • 3-Way F Metri-Pack 280 Series (GRY)

Pin

Wire Color

Circuit No.

Function

A

ORN

640

Battery Positive Voltage

B

--

--

Not Used

C

BLK

1050

Ground