GM Service Manual Online
For 1990-2009 cars only
Figure 1:

PCM Location


Object Number: 310796  Size: MF
(1)Powertrain Control Module (PCM)
(2)Radiator Support
(3)Left Frame Rail
(4)PCM Wire Harness Connectors
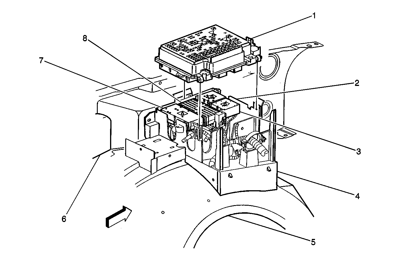
Figure 2:

Fuse Block-Underhood


Object Number: 310798  Size: MF
(1)Fuse Block-Underhood
(2)Forward Lamp Harness -- C4 (GRN)
(3)Chassis Harness -- C3 (RED)
(4)Fuse Block-Underhood Mounting Bracket
(5)Left Front Wheel House
(6)Left Front Inner Fender
(7)Instrument Panel Harness -- C1 (LT GRY)
(8)Engine Harness -- C2 (BLK)
Figure 3:

Mass Air Flow (MAF)/Intake Air Temperature (IAT) Sensor Assembly, Generator, Air Cleaner


Object Number: 405657  Size: MF
(1)Air Cleaner Assembly
(2)Mass Air Flow (MAF)/Intake Air Temperature (IAT) Sensor Assembly
(3)Air Inlet Tube
(4)Generator
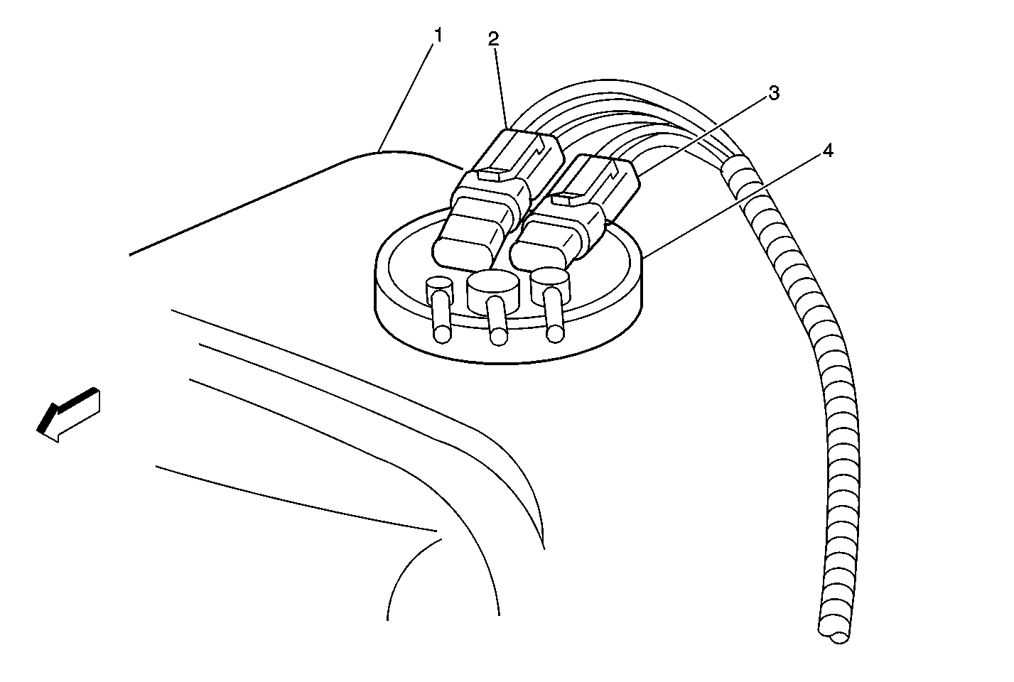
Figure 4:

Crankshaft Position (CKP) Sensor


Object Number: 235188  Size: MF
(1)Crankshaft
(2)Front Engine Cover
(3)Crankshaft Position (CKP) Sensor
Figure 5:

Crankshaft Position (CKP) Reluctor Wheel


Object Number: 212697  Size: MF
(1)Crankshaft Position (CKP) Reluctor Wheel
(2)Crankshaft
(3)Engine Block
Figure 6:

Throttle Position (TP) Sensor, Idle Air Control (IAC) Valve, and Positive Crankcase Ventilation Valve (PCV)


Object Number: 212698  Size: MF
(1)Throttle Position (TP) Sensor
(2)Idle Air Control (IAC) Valve
(3)Ignition Coil
(4)Evaporative (EVAP) Canister Purge Solenoid
(5)Engine Oil Pressure (EOP) Switch
(6)Knock Sensor (KS)
(7)Fuel Pressure Connection Valve
(8)Positive Crankcase Ventilation Valve (PCV)
Figure 7:

MAP, EGR, Purge Solenoid, and Throttle Body


Object Number: 209643  Size: SF
(1)Throttle Body
(2)Exhaust Gas Recirculation (EGR) Valve
(3)Generator
(4)Evaporative Emission (EVAP) Canister Purge Valve
(5)Manifold Absolute Pressure (MAP) Sensor
Figure 8:

Engine Coolant Temperature (ECT) Sensor


Object Number: 235186  Size: MF
(1)Bank 1 Cylinder Head
(2)Engine Coolant Temperature (ECT) Sensor
Figure 9:

Evaporative (EVAP) Canister Purge Valve


Object Number: 212690  Size: LF
(1)Engine Harness
(2)Injector Assembly Electrical Connector
(3)Throttle Body
(4)Manifold Absolute Pressure (MAP) Sensor
(5)Ignition Control Module (ICM)
(6)Ignition Coil
(7)Evaporative Emission (EVAP) Canister Purge Solenoid
Figure 10:

Camshaft Position (CMP) Sensor, Knock Sensor (KS), and Oil Pressure Switch


Object Number: 212680  Size: MF
(1)Camshaft Position (CMP) Sensor
(2)Engine Oil Pressure (EOP) Switch
(3)Knock Sensor (KS)
Figure 11:

Heated Oxygen Sensors


Object Number: 209624  Size: MF
(1)HO2S Bank 2 Sensor 2
(2)HO2S Bank 1 Sensor 2
(3)HO2S Bank 1 Sensor 1
(4)HO2S Bank 2 Sensor 1
Figure 12:

VSS 2 Wheel Drive Automatic Transmission


Object Number: 209622  Size: SF
(1)Vehicle Speed Sensor (VSS)
Figure 13:

Vehicle Speed Sensor (VSS) - 2 Wheel Drive Manual Transmission


Object Number: 246886  Size: MF
(1)Vehicle Speed Sensor (VSS)
Figure 14:

Vehicle Speed Sensor (VSS) - 4 Wheel Drive Automatic Transmission


Object Number: 246883  Size: MF
(1)Vehicle Speed Sensor (VSS)
Figure 15:

Vehicle Speed Sensor (VSS) - 4 Wheel Drive Manual Transmission


Object Number: 246884  Size: SF
(1)Manual Transmission
(2)Vehicle Speed Sensor (VSS)
(3)Transfer Case (4WD)
Figure 16:

Evaporative Emission (EVAP) Canister Vent Solenoid


Object Number: 334914  Size: MF
(1)Left Frame Rail
(2)Evaporative Emission (EVAP) Canister Vent Solenoid
(3)Fuel Tank
(4)Evaporative Emission (EVAP) Canister
Figure 17:

AIR System (RPO NC1 only), AC Accumulator


Object Number: 334932  Size: MF
(1)Secondary Air Injection (AIR) Pump
(2)Vacuum Hose to AIR Solenoid
(3)Low Pressure Switch
(4)A/C Accumulator
(5)AIR Hose to AIR Pipes
(6)AIR Solenoid
(7)AIR Pump Shut Off Valve
(8)Fender to Cowl Brace
Figure 18:

Fuel Tank Pressure (FTP) Sensor and Fuel Pump and Sender Assembly


Object Number: 235167  Size: MF
(1)Fuel Tank
(2)Fuel Tank Pressure (FTP) Sensor Connector
(3)Fuel Level Sensor
(4)Fuel Pump and Sender Assembly