|
| ||||||||||||||
|---|---|---|---|---|---|---|---|---|---|---|---|---|---|---|---|
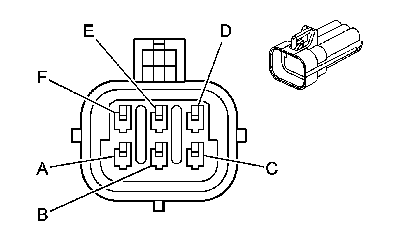
Connector Part Information |
| Connector Part Information |
| ||||||||||||
Pin | Wire Color | Circuit No. | Function | Pin | Wire Color | Circuit No. | Function | ||||||||
A | DK BLU | 84 | Cruise Control Set/Coast Switch Signal (KUP) | A | DK BLU | 84 | Cruise Control Set/Coast Switch Signal (KUP) | ||||||||
LT BLU/BLK | 396 | Cruise Control Engaged Signal (w/o KUP) | A | LT BLU/BLK | 396 | Cruise Control Engaged Signal (w/o KUP) | |||||||||
B | GRY | 48 | CPP Switch Signal (ML6, MG5 ) | B | GRY | 48 | CPP Switch Signal | ||||||||
C | BRN | 241 | Ignition 3 Voltage (TP2) | C | BRN | 241 | Ignition 3 Voltage | ||||||||
D | DK GRN/WHT | 817 | Vehicle Speed Signal | D | DK GRN/WHT | 817 | Vehicle Speed Signal | ||||||||
E | DK BLU | 507 | Wait to Start Indicator Control (Diesel) | E | DK BLU | 507 | Wait to Start Indicator Control (Diesel) | ||||||||
F | -- | -- | Not Used | F | -- | -- | Not Used | ||||||||
G | BRN/WHT | 419 | MIL Control | G | BRN/WHT | 419 | MIL Control | ||||||||
H | DK GRN | 1049 | PCM Class 2 Serial Data | H | DK GRN | 1049 | PCM Class 2 Serial Data | ||||||||
J | BLK/WHT | 5668 | Engine ON Signal (SBA) | J | DK BLU | 5668 | Engine ON Signal (SBA) | ||||||||
K | WHT | 121 | Engine Speed Signal | K | WHT | 121 | Engine Speed Signal | ||||||||
L | GRY | 397 | Cruise Control ON Switch Signal (K34) | L | GRY | 397 | Cruise Control ON Switch Signal (K34) | ||||||||
M | YEL | 710 | Class 2 Serial Data | M | YEL | 710 | Class 2 Serial Data | ||||||||
N | BRN | 241 | Ignition 3 Voltage (NP1, NP2, and NP8) | N | BRN | 241 | Ignition 3 Voltage (NP1, NP2, and NP8) | ||||||||
P | DK BLU | 204 | A/C Low Pressure Sensor Signal (CJ2/CJ3) | P | DK BLU | 204 | A/C Low Pressure Sensor Signal (CJ2/CJ3) | ||||||||
R | YEL | 2470 | Class 2 Serial Data (M74) | R | YEL | 2470 | Class 2 Serial Data (M74) | ||||||||
S | GRY/BLK | 87 | Cruise Control Resume/Accel Switch Signal | S | GRY/BLK | 87 | Cruise Control Resume/Accel Switch Signal | ||||||||
|
| ||||||||||||||
|---|---|---|---|---|---|---|---|---|---|---|---|---|---|---|---|
Connector Part Information |
| Connector Part Information |
| ||||||||||||
Pin | Wire Color | Circuit No. | Function | Pin | Wire Color | Circuit No. | Function | ||||||||
A | DK GRN | 1619 | Trailer Right Rear Turn/Stop Lamp Supply Voltage | A | DK GRN | 1619 | Trailer Right Rear Turn/Stop Lamp Supply Voltage | ||||||||
B | LT GRN | 24 | Backup Lamp Supply Voltage | B | LT GRN | 24 | Backup Lamp Supply Voltage | ||||||||
C | LT BLU | 1122 | ABS/TCS Class 2 Serial Data | C | LT BLU | 1122 | ABS/TCS Class 2 Serial Data | ||||||||
D | BRN | 441 | Ignition 3 Voltage | D | BRN | 441 | Ignition 3 Voltage | ||||||||
E | -- | -- | Not Used | E | -- | -- | Not Used | ||||||||
F | TAN/WHT | 1384 | Selective Ride Control Switch Signal (ZX3) | F | TAN/WHT | 1384 | Selective Ride Control Switch Signal (ZX3) | ||||||||
G | RED | 122 | Rear Fog Lamp Supply Voltage (T79) | G | RED | 122 | Rear Fog Lamp Supply Voltage (T79) | ||||||||
H | YEL | 1618 | Trailer Left Rear Turn/Stop Lamp Supply Voltage | H | YEL | 1618 | Trailer Left Rear Turn/Stop Lamp Supply Voltage | ||||||||
J | LT BLU | 1620 | CHMSL Supply Voltage | J | LT BLU | 1620 | CHMSL Supply Voltage | ||||||||
K | PNK | 139 | Ignition 1 Voltage (w/ Sec Fuel Tank) | K | PNK | 139 | Ignition 1 Voltage (w/ Sec Fuel Tank) | ||||||||
|
| ||||||||||||||
|---|---|---|---|---|---|---|---|---|---|---|---|---|---|---|---|
Connector Part Information |
| Connector Part Information |
| ||||||||||||
Pin | Wire Color | Circuit No. | Function | Pin | Wire Color | Circuit No. | Function | ||||||||
A | -- | -- | Not Used | A | -- | -- | Not Used | ||||||||
B | BLK | 150 | Ground | B | BLK | 150 | Ground | ||||||||
C | DK GRN | 189 | Headlamp Leveling Motor Supply Voltage | C | DK GRN | 189 | Headlamp Leveling Motor Supply Voltage | ||||||||
D | -- | -- | Not Used | D | -- | -- | Not Used | ||||||||
E | PNK | 639 | Ignition 1 Voltage | E | PNK | 639 | Ignition 1 Voltage | ||||||||
F | PNK | 639 | Ignition 1 Voltage | F | PNK | 639 | Ignition 1 Voltage | ||||||||
|
| ||||||||||||||
|---|---|---|---|---|---|---|---|---|---|---|---|---|---|---|---|
Connector Part Information |
| Connector Part Information |
| ||||||||||||
Pin | Wire Color | Circuit No. | Function | Pin | Wire Color | Circuit No. | Function | ||||||||
A | GRY | 349 | Discriminating Sensor - Left - Signal | A | GRY | 349 | Discriminating Sensor - Left - Signal | ||||||||
B | YEL | 354 | Discriminating Sensor - Signal | B | YEL | 354 | Discriminating Sensor - Signal | ||||||||
C | YEL | 1834 | Forward Discriminating Sensor Signal | C | YEL | 1834 | Forward Discriminating Sensor Signal | ||||||||
D | DK GRN | 1409 | Discriminating Sensor - Right - Signal | D | DK GRN | 1409 | Discriminating Sensor - Right - Signal | ||||||||
E | -- | -- | Not Used | E | -- | -- | Not Used | ||||||||
F | BLK/WHT | 174 | Low Washer Fluid Indicator Signal | F | BLK/WHT | 174 | Low Washer Fluid Indicator Signal | ||||||||
G | DK GRN /WHT | 636 | Ambient Air Temperature Sensor Signal | G | DK GRN /WHT | 636 | Ambient Air Temperature Sensor Signal | ||||||||
H | BLK/WHT | 1704 | Low Reference | H | BLK/WHT | 1704 | Low Reference | ||||||||
J | LT GRN/ BLK | 735 | Ambient Air Temperature Sensor Signal (CJ2) | J | LT GRN/ BLK | 735 | Ambient Air Temperature Sensor Signal (CJ2) | ||||||||
K | BRN | 718 | Low Reference (CJ2) | K | BRN | 718 | Low Reference (CJ2) | ||||||||
L-M | -- | -- | Not Used | L-M | -- | -- | Not Used | ||||||||
|
| ||||||||||||||
|---|---|---|---|---|---|---|---|---|---|---|---|---|---|---|---|
Connector Part Information |
| Connector Part Information |
| ||||||||||||
Pin | Wire Color | Circuit No. | Function | Pin | Wire Color | Circuit No. | Function | ||||||||
A | GRY | 349 | Discriminating Sensor - Left - Signal | A | GRY | 349 | Discriminating Sensor - Left - Signal | ||||||||
B | YEL | 354 | Discriminating Sensor - Signal | B | YEL | 354 | Discriminating Sensor - Signal | ||||||||
C | YEL | 1834 | Forward Discriminating Sensor Signal | C | YEL | 1834 | Forward Discriminating Sensor Signal | ||||||||
D | DK GRN | 1409 | Discriminating Sensor - Right - Signal | D | DK GRN | 1409 | Discriminating Sensor - Right - Signal | ||||||||
E | -- | -- | Not Used | E | -- | -- | Not Used | ||||||||
F | BLK/WHT | 174 | Low Washer Fluid Indicator Signal | F | BLK/WHT | 174 | Low Washer Fluid Indicator Signal | ||||||||
|
| ||||||||||||||
|---|---|---|---|---|---|---|---|---|---|---|---|---|---|---|---|
Connector Part Information |
| Connector Part Information |
| ||||||||||||
Pin | Wire Color | Circuit No. | Function | Pin | Wire Color | Circuit No. | Function | ||||||||
A | GRY | 1273 | Low Reference | A | GRY | 1273 | Low Reference | ||||||||
B | PPL | 1272 | Low Reference | B | PPL | 1272 | Low Reference | ||||||||
C | LT BLU | 1162 | APP Sensor 2 Signal | C | LT BLU | 1162 | APP Sensor 2 Signal | ||||||||
D | TAN | 1274 | 5-Volt Reference | D | TAN | 1274 | 5-Volt Reference | ||||||||
E | YEL/BLK | 1275 | 5-Volt Reference | E | YEL/BLK | 1275 | 5-Volt Reference | ||||||||
F | DK BLU | 1161 | APP Sensor 1 Signal | F | DK BLU | 1161 | APP Sensor 1 Signal | ||||||||
G | WHT/BLK | 1164 | 5-Volt Reference | G | WHT/BLK | 1164 | 5-Volt Reference | ||||||||
H | -- | -- | Not Used | H | -- | -- | Not Used | ||||||||
J | BRN | 1271 | Low Reference | J | BRN | 1271 | Low Reference | ||||||||
K | DK GRN | 1163 | APP Sensor 3 Signal | K | DK GRN | 1163 | APP Sensor 3 Signal | ||||||||
|
| ||||||||||||||
|---|---|---|---|---|---|---|---|---|---|---|---|---|---|---|---|
Connector Part Information |
| Connector Part Information |
| ||||||||||||
Pin | Wire Color | Circuit No. | Function | Pin | Wire Color | Circuit No. | Function | ||||||||
A | YEL | 2522 | PTO Engage Signal | A | YEL | 2522 | PTO Engage Signal | ||||||||
B | -- | -- | Not Used | B | -- | -- | Not Used | ||||||||
C | LT GRN | 488 | PTO On Switch-Signal | C | LT GRN | 488 | PTO On Switch-Signal | ||||||||
D | -- | -- | Not Used | D | -- | -- | Not Used | ||||||||
E | DK BLU | 84 | Cruise Control Set/Coast Switch Signal | E | DK BLU | 84 | Cruise Control Set/Coast Switch Signal | ||||||||
F | -- | -- | Not Used | F | -- | -- | Not Used | ||||||||
|
| ||||||||||||||
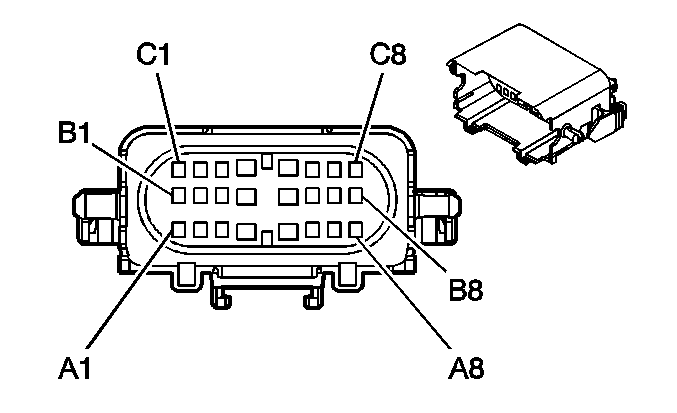
|---|---|---|---|---|---|---|---|---|---|---|---|---|---|---|---|
Connector Part Information |
| Connector Part Information |
| ||||||||||||
Pin | Wire Color | Circuit No. | Function | Pin | Wire Color | Circuit No. | Function | ||||||||
A1 | PNK | 239 | Ignition 1 Voltage | A1 | PNK | 239 | Ignition 1 Voltage | ||||||||
A2 | YEL | 505 | Glow Plug Relay Control | A2 | YEL | 505 | Glow Plug Relay Control | ||||||||
A3 | LT BLU | 506 | Glow Plug Signal (LB7) | A3 | LT BLU | 506 | Glow Plug Signal (LB7) | ||||||||
A4 | PNK | 339 | Ignition 1 Voltage | A4 | PNK | 339 | Ignition 1 Voltage | ||||||||
A5 | PNK | 339 | Ignition 1 Voltage | A5 | PNK | 339 | Ignition 1 Voltage | ||||||||
A6 | BRN | 1174 | Oil Level Switch Signal | A6 | BRN | 1174 | Oil Level Switch Signal | ||||||||
A7 | YEL | 410 | ECT Sensor Signal | A7 | YEL | 410 | ECT Sensor Signal | ||||||||
A8 | GRY | 720 | Low Reference | A8 | GRY | 720 | Low Reference | ||||||||
B1 | LT GRN/ BLK | 1745 | Fuel Injector 2 Control | B1 | LT GRN/ BLK | 1745 | Fuel Injector 2 Control | ||||||||
B2 | RED/BLK | 877 | Fuel Injector 7 Control | B2 | RED/BLK | 877 | Fuel Injector 7 Control | ||||||||
B3 | RED | 631 | 5-Volt Reference | B3 | RED | 631 | 5-Volt Reference | ||||||||
B4 | BRN/WHT | 633 | CMP Sensor Signal | B4 | BRN/WHT | 633 | CMP Sensor Signal | ||||||||
B5 | PNK/BLK | 632 | Low Reference | B5 | PNK/BLK | 632 | Low Reference | ||||||||
B6-B7 | -- | -- | Not Used | B6-B7 | -- | -- | Not Used | ||||||||
B8 | YEL/BLK | 1868 | Low Reference | B8 | YEL/BLK | 1868 | Low Reference | ||||||||
B9 | DK BLU/ WHT | 1869 | CKP Sensor Signal | B9 | DK BLU/ WHT | 1869 | CKP Sensor Signal | ||||||||
B10 | LT GRN | 1867 | 12-Volt Reference | B10 | LT GRN | 1867 | 12-Volt Reference | ||||||||
B11 | YEL /BLK | 846 | Fuel Injector 6 Control | B11 | YEL /BLK | 846 | Fuel Injector 6 Control | ||||||||
B12 | PNK/BLK | 1746 | Fuel Injector 3 Control | B12 | PNK/BLK | 1746 | Fuel Injector 3 Control | ||||||||
C1 | BLK | 1744 | Fuel Injector 1 Control | C1 | BLK | 1744 | Fuel Injector 1 Control | ||||||||
C2 | BLK/WHT | 845 | Fuel Injector 5 Control | C2 | BLK/WHT | 845 | Fuel Injector 5 Control | ||||||||
C3 | TAN | 2917 | 5-Volt Reference | C3 | TAN | 2917 | 5-Volt Reference | ||||||||
C4 | ORN/BLK | 2919 | Low Reference | C4 | ORN/BLK | 2919 | Low Reference | ||||||||
C5 | YEL | 2918 | FRP Sensor Signal | C5 | YEL | 2918 | FRP Sensor Signal | ||||||||
C6 | PNK | 239 | Ignition 1 Voltage | C6 | PNK | 239 | Ignition 1 Voltage | ||||||||
C7 | -- | -- | Not Used | C7 | -- | -- | Not Used | ||||||||
C8 | LT BLU | 2832 | Engine Speed Signal | C8 | LT BLU | 2832 | Engine Speed Signal | ||||||||
C9 | YEL | 2834 | Fuel Pressure Regulator Solenoid Control | C9 | YEL | 2834 | Fuel Pressure Regulator Solenoid Control | ||||||||
C10 | PPL/WHT | 2530 | Fuel Pressure Regulator Solenoid Supply Voltage | C10 | PPL/WHT | 2530 | Fuel Pressure Regulator Solenoid Supply Voltage | ||||||||
C11 | DK BLU/ WHT | 878 | Fuel Injector 8 Control | C11 | DK BLU/ WHT | 878 | Fuel Injector 8 Control | ||||||||
C12 | LT BLU/ BLK | 844 | Fuel Injector 4 Control | C12 | LT BLU/ BLK | 844 | Fuel Injector 4 Control | ||||||||
D1 | YEL | 1578 | Fuel Temperature Signal | D1 | YEL | 1578 | Fuel Temperature Signal | ||||||||
D2 | BRN | 718 | Low Reference | D2 | BRN | 718 | Low Reference | ||||||||
D3 | YEL/BLK | 508 | Water In Fuel Indicator Control | D3 | YEL/BLK | 508 | Water In Fuel Indicator Control | ||||||||
D4-D5 | -- | -- | Unavailable | D4-D5 | -- | -- | Unavailable | ||||||||
D6 | TAN/WHT | 332 | Oil Pressure Sensor Signal | D6 | TAN/WHT | 332 | Oil Pressure Sensor Signal | ||||||||
D7 | BLK | 2755 | Low Reference | D7 | BLK | 2755 | Low Reference | ||||||||
D8 | GRY | 2705 | 5-Volt Reference | D8 | GRY | 2705 | 5-Volt Reference | ||||||||
|
| ||||||||||||||
|---|---|---|---|---|---|---|---|---|---|---|---|---|---|---|---|
Connector Part Information |
| Connector Part Information |
| ||||||||||||
Pin | Wire Color | Circuit No. | Function | Pin | Wire Color | Circuit No. | Function | ||||||||
A1-A2 | -- | -- | Not Used | A1-A2 | -- | -- | Not Used | ||||||||
A3 | DK BLU/ WHT | 5763 | EGR Valve Position Signal (LLY) | A3 | BRN/ WHT | 5763 | EGR Valve Position Signal (LLY) | ||||||||
A4 | BRN | 5347 | IA Heater Relay Control (LB7) | A4 | PPL | 5347 | IA Heater Relay Control (LB7) | ||||||||
A5 | PNK | 5349 | Intake Heater Diag 1 (LB7) | A5 | TAN | 5349 | Intake Heater Diag 1 (LB7) | ||||||||
A6 | WHT/BLK | 2932 | 5-Volt Reference | A6 | WHT/BLK | 2932 | 5-Volt Reference | ||||||||
A7 | ORN/BLK | 1057 | Low Reference | A7 | ORN/BLK | 1057 | Low Reference | ||||||||
A8 | GRY/BLK | 433 | BARO Sensor Signal | A8 | GRY/BLK | 433 | BARO Sensor Signal | ||||||||
B1 | DK GRN | 2362 | SAE J1939 Serial Data Bus- | B1 | DK GRN | 2362 | SAE J1939 Serial Data Bus- | ||||||||
B2 | -- | -- | Not Used | B2 | -- | -- | Not Used | ||||||||
B3 | YEL/BLK | 2754 | Low Reference (LLY) | B3 | BLK | 2754 | Low Reference (LLY) | ||||||||
B4 | DK BLU | 5930 | Turbocharger Vane Position Control Solenoid Valve High control (LLY) | B4 | DK BLU | 5930 | Turbocharger Vane Position Control Solenoid Valve High control (LLY) | ||||||||
B5 | WHT | 1310 | EGR Vacuum Vent Solenoid Control (LB7) (California Emissions Only) | B5 | WHT | 1310 | EGR Vacuum Vent Solenoid Control (LB7) (California Emissions Only) | ||||||||
WHT | 5931 | Low Reference (LLY) | WHT | 5931 | Low Reference (LLY) | ||||||||||
B6 | DK GRN/WHT | 428 | EGR Throttle Valve Vacuum Solenoid Control (LB7) (California Emissions Only) | B6 | DK GRN /WHT | 428 | EGR Throttle Valve Vacuum Solenoid Control (LB7) (California Emissions Only) | ||||||||
TAN | 5929 | 5-Volt Reference (LLY) (Early Production) | ORN/BLK | 5929 | 5-Volt Reference (LLY) | ||||||||||
ORN/BLK | 5-Volt Reference (LLY) (Late Production) | ||||||||||||||
B7 | WHT | 257 | EGR Valve Vacuum Solenoid Control (LB7) (California Emissions Only) | B7 | WHT | 257 | EGR Valve Vacuum Solenoid Control (LB7) (California Emissions Only) | ||||||||
ORN/BLK | 5928 | Low Reference (LLY) (Early Production) | TAN | 5928 | Low Reference (LLY) | ||||||||||
TAN | Low Reference (LLY) (Late Production) | ||||||||||||||
B8 | BRN | 1456 | EGR Valve Vacuum Sensor Signal (LB7) (California Emissions Only) | B8 | BRN | 1456 | EGR Valve Vacuum Sensor Signal (LB7) (California Emissions Only) | ||||||||
YEL | 5775 | Turbocharger Vane Position Sensor Signal (LLY) | YEL | 5775 | Turbocharger Vane Position Sensor Signal (LLY) | ||||||||||
C1 | YEL | 2361 | SAE J1939 Serial Data Bus+ | C1 | YEL | 2361 | SAE J1939 Serial Data Bus+ | ||||||||
C2 | -- | -- | Not Used | C2 | GRY/BLK | 5765 | Fuel Filter Pressure Switch Signal | ||||||||
C3 | PPL | 2703 | 5-Volt Reference (LLY) | C3 | GRY | 2703 | 5-Volt Reference (LLY) | ||||||||
C4 | PNK | 5764 | EGR Motor High Control (LLY) | C4 | ORN/BLK | 5764 | EGR Motor High Control (LLY) | ||||||||
C5 | YEL | 5348 | Intake Heater Diag 2 (LB7) | C5 | TAN | 5348 | Intake Heater Diag 2 (LB7) | ||||||||
WHT | 5746 | EGR Motor Low Control (LLY) | LT GRN /BLK | 5746 | EGR Motor Low Control (LLY) | ||||||||||
C6 | GRY | 597 | 5-Volt Reference | C6 | GRY | 597 | 5-Volt Reference | ||||||||
C7 | ORN/BLK | 469 | Low Reference | C7 | ORN/BLK | 469 | Low Reference | ||||||||
C8 | LT GRN | 432 | Turbocharger Boost Sensor Signal | C8 | LT GRN | 432 | Turbocharger Boost Sensor Signal | ||||||||
|
| ||||||||||||||
|---|---|---|---|---|---|---|---|---|---|---|---|---|---|---|---|
Connector Part Information |
| Connector Part Information |
| ||||||||||||
Pin | Wire Color | Circuit No. | Function | Pin | Wire Color | Circuit No. | Function | ||||||||
A | ORN/BLK | -- | Ignition Voltage | A | RED | -- | Ignition Voltage | ||||||||
B | LT GRN /WHT | -- | Fuel Injector 4 Command | B | RED | -- | Fuel Injector 4 Command | ||||||||
C | ORN/WHT | -- | Ignition Voltage | C | YEL | -- | Ignition Voltage | ||||||||
D | LT GRN | -- | Fuel Injector 2 Command | D | YEL | -- | Fuel Injector 2 Command | ||||||||
|
| ||||||||||||||
|---|---|---|---|---|---|---|---|---|---|---|---|---|---|---|---|
Connector Part Information |
| Connector Part Information |
| ||||||||||||
Pin | Wire Color | Circuit No. | Function | Pin | Wire Color | Circuit No. | Function | ||||||||
A | ORN/WHT | -- | Ignition Voltage | A | RED | -- | Ignition Voltage | ||||||||
B | LT GRN/ GRN | -- | Fuel Injector 8 Command | B | RED | -- | Fuel Injector 8 Command | ||||||||
C | ORN/BLK | -- | Ignition Voltage | C | YEL | -- | Ignition Voltage | ||||||||
D | LT GRN/ PPL | -- | Fuel Injector 6 Command | D | YEL | -- | Fuel Injector 6 Command | ||||||||
|
| ||||||||||||||
|---|---|---|---|---|---|---|---|---|---|---|---|---|---|---|---|
Connector Part Information |
| Connector Part Information |
| ||||||||||||
Pin | Wire Color | Circuit No. | Function | Pin | Wire Color | Circuit No. | Function | ||||||||
A | ORN/WHT | -- | Ignition Voltage | A | RED | -- | Ignition Voltage | ||||||||
B | LT GRN/ RED | -- | Fuel Injector 5 Command | B | RED | -- | Fuel Injector 5 Command | ||||||||
C | ORN/BLK | -- | Ignition Voltage | C | YEL | -- | Ignition Voltage | ||||||||
D | LT GRN/ORN | -- | Fuel Injector 7 Command | D | YEL | -- | Fuel Injector 7 Command | ||||||||
|
| ||||||||||||||
|---|---|---|---|---|---|---|---|---|---|---|---|---|---|---|---|
Connector Part Information |
| Connector Part Information |
| ||||||||||||
Pin | Wire Color | Circuit No. | Function | Pin | Wire Color | Circuit No. | Function | ||||||||
A | ORN/BLK | -- | Ignition Voltage | A | RED | -- | Ignition Voltage | ||||||||
B | LT GRN/ RED | -- | Fuel Injector 1 Command | B | RED | -- | Fuel Injector 1 Command | ||||||||
C | ORN/WHT | -- | Ignition Voltage | C | YEL | -- | Ignition Voltage | ||||||||
D | LT GRN/ BLK | -- | Fuel Injector 3 Command | D | YEL | -- | Fuel Injector 3 Command | ||||||||
|
| ||||||||||||||
|---|---|---|---|---|---|---|---|---|---|---|---|---|---|---|---|
Connector Part Information |
| Connector Part Information |
| ||||||||||||
Pin | Wire Color | Circuit No. | Function | Pin | Wire Color | Circuit No. | Function | ||||||||
A | PNK/YEL | -- | Ground | A | PNK/YEL | -- | Ground | ||||||||
B | TAN/WHT | 332 | Oil Pressure Sensor Signal | B | TAN/WHT | 332 | Oil Pressure Sensor Signal | ||||||||
C | BRN | 1174 | Oil Level Switch Signal | C | BRN | 1174 | Oil Level Switch Signal | ||||||||
D | GRY | 2705 | 5-Volt Reference | D | GRY | 2705 | 5-Volt Reference | ||||||||
E | BLK | 2755 | Low Reference | E | BLK | 2755 | Low Reference | ||||||||
F | -- | -- | Not Used | F | -- | -- | Not Used | ||||||||
|
| ||||||||||||||
|---|---|---|---|---|---|---|---|---|---|---|---|---|---|---|---|
Connector Part Information |
| Connector Part Information |
| ||||||||||||
Pin | Wire Color | Circuit No. | Function | Pin | Wire Color | Circuit No. | Function | ||||||||
1 | BARE | -- | Drain Wire | 1 | BARE | -- | Drain Wire | ||||||||
2 | YEL | 2834 | Fuel Pressure Regulator Solenoid Control | 2 | YEL | 2834 | Fuel Pressure Regulator Solenoid Control | ||||||||
3 | PPL/WHT | 2530 | Fuel Pressure Regulator Solenoid Supply Voltage | 3 | PPL/WHT | 2530 | Fuel Pressure Regulator Solenoid Supply Voltage | ||||||||
|
| ||||||||||||||
|---|---|---|---|---|---|---|---|---|---|---|---|---|---|---|---|
Connector Part Information |
| Connector Part Information |
| ||||||||||||
Pin | Wire Color | Circuit No. | Function | Pin | Wire Color | Circuit No. | Function | ||||||||
A1 | DK BLU | 2544 | Rear Wheel Steer Mode Select Switch 5-Volt Reference | A1 | DK BLU | 2544 | Rear Wheel Steer Mode Select Switch 5-Volt Reference | ||||||||
A2 | LT BLU | 2568 | 2 Wheel Steer Mode Indicator Supply Voltage | A2 | LT BLU | 2568 | 2 Wheel Steer Mode Indicator Supply Voltage | ||||||||
A3 | TAN | 2569 | 4 Wheel Steer Mode Indicator Supply Voltage | A3 | TAN | 2569 | 4 Wheel Steer Mode Indicator Supply Voltage | ||||||||
A4 | -- | -- | Not Used | A4 | -- | -- | Not Used | ||||||||
A5 | ORN | 2538 | 4 Wheel Steer Trailer Mode Indicator Supply Voltage | A5 | ORN | 2538 | 4 Wheel Steer Trailer Mode Indicator Supply Voltage | ||||||||
A6 | DK GRN /WHT | 817 | Vehicle Speed Signal | A6 | DK GRN WHT | 817 | Vehicle Speed Signal | ||||||||
A7-B1 | -- | -- | Not Used | A7-B1 | -- | -- | Not Used | ||||||||
B2 | LT GRN | 1763 | Steering Wheel Position Signal A | B2 | LT GRN | 1763 | Steering Wheel Position Signal A | ||||||||
B3 | LT BLU | 1764 | Steering Wheel Position Signal B | B3 | LT BLU | 1764 | Steering Wheel Position Signal B | ||||||||
B4 | WHT | 1765 | Steering Wheel Position Marker Pulse Signal | B4 | WHT | 1765 | Steering Wheel Position Marker Pulse Signal | ||||||||
B5-B7 | -- | -- | Not Used | B5-B7 | -- | -- | Not Used | ||||||||
B8 | BRN | 541 | Ignition 3 Voltage | B8 | BRN | 541 | Ignition 3 Voltage | ||||||||
C1 | GRY | 2567 | Rear Wheel Steering Module Class 2 Serial Data | C1 | GRY | 2567 | Rear Wheel Steering Module Class 2 Serial Data | ||||||||
C2-C3 | -- | -- | Not Used | C2-C3 | -- | -- | Not Used | ||||||||
C4 | DK GRN /WHT | 2891 | Rear Wheel Steering Mode Select Switch Signal | C4 | DK GRN /WHT | 2891 | Rear Wheel Steering Mode Select Switch Signal | ||||||||
C5-C8 | -- | -- | Not Used | C6-C8 | -- | -- | Not Used | ||||||||
|
| ||||||||||||||
|---|---|---|---|---|---|---|---|---|---|---|---|---|---|---|---|
Connector Part Information |
| Connector Part Information |
| ||||||||||||
Pin | Wire Color | Circuit No. | Function | Pin | Wire Color | Circuit No. | Function | ||||||||
A1 | ORN | 2740 | Battery Positive Voltage | A1 | ORN | 2740 | Battery Positive Voltage | ||||||||
A2 | PNK | 1639 | Ignition 1 Voltage | A2 | PNK | 1639 | Ignition 1 Voltage | ||||||||
A3 | PPL/WHT | 5687 | Hybrid Control Module Class 2 Serial Data | A3 | PPL/WHT | 5687 | Hybrid Control Module Class 2 Serial Data | ||||||||
A4 | PNK | 3 | Ignition 1 Voltage | A4 | PNK | 3 | Ignition 1 Voltage | ||||||||
A5 | -- | -- | Not Used | A5 | -- | -- | Not Used | ||||||||
A6 | BRN/WHT | 5682 | Electric Power Take Off Switch Low Reference | A6 | BRN/WHT | 5682 | Electric Power Take Off Switch Low Reference | ||||||||
A7 | PNK | 1939 | Ignition 1 Voltage | A7 | PNK | 1939 | Ignition 1 Voltage | ||||||||
A8 | GRY/BLK | 5689 | Brake Pedal Position Sensor Low Reference | A8 | GRY/BLK | 5689 | Brake Pedal Position Sensor Low Reference | ||||||||
B1 | YEL | 5066 | Brake Pedal Position Sensor Signal | B1 | YEL | 5066 | Brake Pedal Position Sensor Signal | ||||||||
B2 | PPL | 5681 | Electric Power Take Off Switch Signal | B2 | PPL | 5681 | Electric Power Take Off Switch Signal | ||||||||
B3 | YEL | 5680 | Electric Power Take Off LED Signal | B3 | YEL | 5680 | Electric Power Take Off LED Signal | ||||||||
B4 | RED | 342 | Battery Positive Voltage | B4 | RED | 342 | Battery Positive Voltage | ||||||||
B5-B6 | -- | -- | Not Used | B5-B6 | -- | -- | Not Used | ||||||||
B7 | BLK/WHT | 1851 | Ground | B7 | BLK/WHT | 1851 | Ground | ||||||||
B8 | LT GRN | 1763 | Steering Wheel Position Signal A | B8 | LT GRN | 1763 | Steering Wheel Position Signal A | ||||||||
C1 | LT BLU | 1764 | Steering Wheel Position Signal B | C1 | LT BLU | 1764 | Steering Wheel Position Signal B | ||||||||
C2-C3 | -- | -- | Not Used | C2-C3 | -- | -- | Not Used | ||||||||
C4 | DK GRN | 591 | Ignition 1 Voltage | C4 | DK GRN | 591 | Ignition 1 Voltage | ||||||||
C5 | -- | -- | Not Used | C5 | -- | -- | Not Used | ||||||||
C6 | ORN | 5688 | Brake Pedal Position Sensor 5 Volt Reference | C6 | ORN | 5688 | Brake Pedal Position Sensor 5 Volt Reference | ||||||||
C7 | TAN/WHT | 2500 | High Speed GMLAN Serial Data Bus+ | C7 | TAN/WHT | 2500 | High Speed GMLAN Serial Data Bus+ | ||||||||
C8 | TAN | 2501 | High Speed GMLAN Serial Data Bus- | C8 | TAN | 2501 | High Speed GMLAN Serial Data Bus- | ||||||||
|
| ||||||||||||||
|---|---|---|---|---|---|---|---|---|---|---|---|---|---|---|---|
Connector Part Information |
| Connector Part Information |
| ||||||||||||
Pin | Wire Color | Circuit No. | Function | Pin | Wire Color | Circuit No. | Function | ||||||||
A | BLK | 50 | Ground | A | BLK | 50 | Ground | ||||||||
B | -- | -- | Unavailable | B | -- | -- | Unavailable | ||||||||
|
| ||||||||||||||
|---|---|---|---|---|---|---|---|---|---|---|---|---|---|---|---|
Connector Part Information |
| Connector Part Information |
| ||||||||||||
Pin | Wire Color | Circuit No. | Function | Pin | Wire Color | Circuit No. | Function | ||||||||
A | BLK | 50 | Ground | A | BLK | 50 | Ground | ||||||||
|
| ||||||||||||||
|---|---|---|---|---|---|---|---|---|---|---|---|---|---|---|---|
Connector Part Information |
| Connector Part Information |
| ||||||||||||
Pin | Wire Color | Circuit No. | Function | Pin | Wire Color | Circuit No. | Function | ||||||||
A | BLK | 50 | Ground | A | BLK | 50 | Ground | ||||||||
B | RED | 2 | Battery Positive Voltage | B | RED | 2 | Battery Positive Voltage | ||||||||
|
| ||||||||||||||
|---|---|---|---|---|---|---|---|---|---|---|---|---|---|---|---|
Connector Part Information |
| Connector Part Information |
| ||||||||||||
Pin | Wire Color | Circuit No. | Function | Pin | Wire Color | Circuit No. | Function | ||||||||
A | RED | 5875 | EHPS 42V Battery Voltage | A | RED | 5875 | EHPS 42V Battery Voltage | ||||||||
|
| ||||||||||||||
|---|---|---|---|---|---|---|---|---|---|---|---|---|---|---|---|
Connector Part Information |
| Connector Part Information |
| ||||||||||||
Pin | Wire Color | Circuit No. | Function | Pin | Wire Color | Circuit No. | Function | ||||||||
A | BLK | 5691 | EHPS 42V Ground | A | BLK | 5691 | EHPS 42V Ground | ||||||||
|
| ||||||||||||||
|---|---|---|---|---|---|---|---|---|---|---|---|---|---|---|---|
Connector Part Information |
| Connector Part Information |
| ||||||||||||
Pin | Wire Color | Circuit No. | Function | Pin | Wire Color | Circuit No. | Function | ||||||||
A | BRN | 2309 | Front Park Lamps Supply Voltage | A | BRN | 2309 | Front Park Lamps Supply Voltage | ||||||||
B | BRN | 2309 | Front Park Lamps Supply Voltage | B | BRN | 2309 | Front Park Lamps Supply Voltage | ||||||||
C | LT BLU | 2114 | Left Turn Signal Lamps Supply Voltage | C | LT BLU | 2114 | Left Turn Signal Lamps Supply Voltage | ||||||||
D | -- | -- | Not Available | D | -- | -- | Not Available | ||||||||
E | LT BLU | 2114 | Left Turn Signal Lamps Supply Voltage | E | LT BLU | 2114 | Left Turn Signal Lamps Supply Voltage | ||||||||
F | BLK | 150 | Ground | F | BLK | 150 | Ground | ||||||||
G | DK BLU | 545 | DRL Supply Voltage | G | DK BLU | 545 | DRL Supply Voltage | ||||||||
H | BLK | 150 | Ground | H | BLK | 150 | Ground | ||||||||
|
| ||||||||||||||
|---|---|---|---|---|---|---|---|---|---|---|---|---|---|---|---|
Connector Part Information |
| Connector Part Information |
| ||||||||||||
Pin | Wire Color | Circuit No. | Function | Pin | Wire Color | Circuit No. | Function | ||||||||
A | BRN | 2309 | Front Park Lamps Supply Voltage | A | BRN | 2309 | Front Park Lamps Supply Voltage | ||||||||
B | BRN | 2309 | Front Park Lamps Supply Voltage | B | BRN | 2309 | Front Park Lamps Supply Voltage | ||||||||
C | DK BLU | 2115 | Right Turn Signal Lamps Supply Voltage | C | DK BLU | 2115 | Right Turn Signal Lamps Supply Voltage | ||||||||
D | -- | -- | Not Available | D | -- | -- | Not Available | ||||||||
E | DK BLU | 2115 | Right Turn Signal Lamps Supply Voltage | E | DK BLU | 2115 | Right Turn Signal Lamps Supply Voltage | ||||||||
F | BLK | 150 | Ground | F | BLK | 150 | Ground | ||||||||
G | DK BLU | 545 | DRL Supply Voltage | G | DK BLU | 545 | DRL Supply Voltage | ||||||||
H | BLK | 150 | Ground | H | BLK | 150 | Ground | ||||||||
|
| ||||||||||||||
|---|---|---|---|---|---|---|---|---|---|---|---|---|---|---|---|
Connector Part Information |
| Connector Part Information |
| ||||||||||||
Pin | Wire Color | Circuit No. | Function | Pin | Wire Color | Circuit No. | Function | ||||||||
A | -- | -- | Not Used | A | -- | -- | Not Used | ||||||||
B | WHT | 5685 | 120 VAC Neutral | B | WHT | 5685 | 120 VAC Neutral | ||||||||
C | ORN | 5595 | High Voltage Interlock Loop Signal | C | YEL | 5690 | High Voltage Interlock Loop Signal | ||||||||
D | BLK | 50 | Ground | D | BLK | 50 | Ground | ||||||||
E | PPL | 5087 | High Voltage Interlock Loop Signal | E | PPL | 5087 | High Voltage Interlock Loop Signal | ||||||||
F | DK GRN | 5686 | 120 VAC Ground | F | DK GRN | 5686 | 120 VAC Ground | ||||||||
G | BLK | 5683 | 120 VAC Phase A | G | BLK | 5683 | 120 VAC Phase A | ||||||||
|
| ||||||||||||||
|---|---|---|---|---|---|---|---|---|---|---|---|---|---|---|---|
Connector Part Information |
| Connector Part Information |
| ||||||||||||
Pin | Wire Color | Circuit No. | Function | Pin | Wire Color | Circuit No. | Function | ||||||||
A | -- | -- | Not Used | A | -- | -- | Not Used | ||||||||
B | LT BLU | 494 | PTO Engine Kill Signal | B | LT BLU | 494 | PTO Engine Kill Signal | ||||||||
C | LT GRN | 488 | PTO On Switch-Signal | C | LT GRN | 488 | PTO On Switch-Signal | ||||||||
D | BLK | 550 | Ground | D | BLK | 550 | Ground | ||||||||
E-F | -- | -- | Not Used | E-F | -- | -- | Not Used | ||||||||
G | YEL | 2522 | PTO Engage Signal | G | YEL | 2522 | PTO Engage Signal | ||||||||
H | WHT | 2561 | PTO Supply Voltage | H | WHT | 2561 | PTO Supply Voltage | ||||||||
J | DK BLU | 84 | Cruise Control Set/Coast Switch Signal | J | DK BLU | 84 | Cruise Control Set/Coast Switch Signal | ||||||||
K | -- | -- | Not Used | K | -- | -- | Not Used | ||||||||
|
| ||||||||||||||
|---|---|---|---|---|---|---|---|---|---|---|---|---|---|---|---|
Connector Part Information |
| Connector Part Information |
| ||||||||||||
Pin | Wire Color | Circuit No. | Function | Pin | Wire Color | Circuit No. | Function | ||||||||
A | BLK | 550 | Ground | A | BLK | 550 | Ground | ||||||||
B | RED | 2127 | IC 7 Control | B | RED | 2127 | IC 7 Control | ||||||||
C | DK GRN | 2125 | IC 5 Control | C | DK GRN | 2125 | IC 5 Control | ||||||||
D | -- | -- | Not Available | D | -- | -- | Not Available | ||||||||
E | BRN | 2129 | Low Reference | E | BRN | 2129 | Low Reference | ||||||||
F | LT BLU | 2123 | IC 3 Control | F | LT BLU | 2123 | IC 3 Control | ||||||||
G | PPL | 2121 | IC 1 Control | G | PPL | 2121 | IC 1 Control | ||||||||
H | PNK | 1039 | Ignition 1 Voltage | H | PNK | 1039 | Ignition 1 Voltage | ||||||||
|
| ||||||||||||||
|---|---|---|---|---|---|---|---|---|---|---|---|---|---|---|---|
Connector Part Information |
| Connector Part Information |
| ||||||||||||
Pin | Wire Color | Circuit No. | Function | Pin | Wire Color | Circuit No. | Function | ||||||||
A | BLK | 550 | Ground | A | BLK | 550 | Ground | ||||||||
B | RED/WHT | 2122 | IC 2 Control | B | RED | 2122 | IC 2 Control | ||||||||
C | DK GRN/WHT | 2124 | IC 4 Control | C | DK GRN | 2124 | IC 4 Control | ||||||||
D | -- | -- | Not Available | D | -- | -- | Not Available | ||||||||
E | BRN/WHT | 2130 | Low Reference | E | BRN | 2130 | Low Reference | ||||||||
F | LT BLU/WHT | 2126 | IC 6 Control | F | LT BLU | 2126 | IC 6 Control | ||||||||
G | PPL/WHT | 2128 | IC 8 Control | G | PPL | 2128 | IC 8 Control | ||||||||
H | PNK | 1239 | Ignition 1 Voltage | H | PNK | 1239 | Ignition 1 Voltage | ||||||||
|
| ||||||||||||||
|---|---|---|---|---|---|---|---|---|---|---|---|---|---|---|---|
Connector Part Information |
| Connector Part Information |
| ||||||||||||
Pin | Wire Color | Circuit No. | Function | Pin | Wire Color | Circuit No. | Function | ||||||||
A | BLK/WHT | 1695 | Axle Switch Signal | A | BLK/WHT | 1695 | Axle Switch Signal | ||||||||
B | LT BLU | 1296 | Axle Actuator - Control | B | LT BLU | 1296 | Axle Actuator - Control | ||||||||
C | BRN | 241 | Ignition 3 Voltage | C | BRN | 241 | Ignition 3 Voltage | ||||||||
D | BLK | 2150 | Ground | D | BLK | 2150 | Ground | ||||||||
|
| ||||||||||||||
|---|---|---|---|---|---|---|---|---|---|---|---|---|---|---|---|
Connector Part Information |
| Connector Part Information |
| ||||||||||||
Pin | Wire Color | Circuit No. | Function | Pin | Wire Color | Circuit No. | Function | ||||||||
A | BLK | 2150 | Ground | A | BLK | 2150 | Ground | ||||||||
B | BLK/WHT | 1695 | Axle Switch Signal | B | BLK/WHT | 1695 | Axle Switch Signal | ||||||||
C | LT BLU | 1296 | Axle Actuator Control | C | LT BLU | 1296 | Axle Actuator Control | ||||||||
D | GRY/BLK | 1694 | 4WD Low Signal | D | GRY/BLK | 1694 | 4WD Low Signal | ||||||||
E | BRN/WHT | 1555 | Encoder Signal | E | BRN/WHT | 1555 | Encoder Signal | ||||||||
F | BLK | 1552 | Motor Control A | F | BLK | 1552 | Motor Control A | ||||||||
G | RED | 1553 | Motor Control B | G | RED | 1553 | Motor Control B | ||||||||
H | YEL | 400 | Signal High - Front (NP8) | H | YEL | 400 | Signal High - Front (NP8) | ||||||||
J | PPL | 401 | Signal Low - Front (NP8) | J | PPL | 401 | Signal Low - Front (NP8) | ||||||||
K | LT BLU | 2221 | Signal High - Rear (NP8) | K | LT BLU | 2221 | Signal High - Rear (NP8) | ||||||||
L | DK GRN | 2222 | Signal Low - Rear (NP8) | L | DK GRN | 2222 | Signal Low - Rear (NP8) | ||||||||
M | ORN | 1640 | Battery Positive Voltage (NP8) | M | ORN | 1640 | Battery Positive Voltage (NP8) | ||||||||
|
| ||||||||||||||
|---|---|---|---|---|---|---|---|---|---|---|---|---|---|---|---|
Connector Part Information |
| Connector Part Information |
| ||||||||||||
Pin | Wire Color | Circuit No. | Function | Pin | Wire Color | Circuit No. | Function | ||||||||
A | -- | -- | Not Used | A | -- | -- | Not Used | ||||||||
B | TAN | 1465 | Fuel Pump Relay Control - Secondary - Dual Fuel Tanks (Gas) | B | TAN | 1465 | Fuel Pump Relay Control - Secondary - Dual Fuel Tanks (Gas) | ||||||||
C | GRY | 474 | 5-Volt Reference (Gas) | C | GRY | 474 | 5-Volt Reference (Gas) | ||||||||
D | DK GRN | 890 | Fuel Tank Pressure Sensor Signal (Gas) | D | DK GRN | 890 | Fuel Tank Pressure Sensor Signal (Gas) | ||||||||
E | YEL/BLK | 1827 | Vehicle Speed Signal | E | YEL/BLK | 1827 | Vehicle Speed Signal | ||||||||
F | WHT | 1310 | EVAP Canister Vent Solenoid Control (Gas) | F | WHT | 1310 | EVAP Canister Vent Solenoid Control (Gas) | ||||||||
G | -- | -- | Not Used | G | -- | -- | Not Used | ||||||||
H | DK BLU | 1936 | Fuel Level Sensor Signal - Secondary - Dual Fuel Tanks | H | DK BLU | 1936 | Fuel Level Sensor Signal - Secondary - Dual Fuel Tanks (Gas) | ||||||||
J | BLK | 470 | Low Reference | J | BLK | 470 | Low Reference | ||||||||
K | PPL | 1589 | Fuel Level Sensor Signal - Primary | K | PPL | 1589 | Fuel Level Sensor Signal - Primary | ||||||||
L | TAN/BLK | 464 | Delivered Torque Signal (NW7) | L | TAN/BLK | 464 | Delivered Torque Signal (NW7) | ||||||||
M | ORN/BLK | 463 | Requested Torque Signal | M | ORN/BLK | 463 | Requested Torque Signal | ||||||||
|
| ||||||||||||||
|---|---|---|---|---|---|---|---|---|---|---|---|---|---|---|---|
Connector Part Information |
| Connector Part Information |
| ||||||||||||
Pin | Wire Color | Circuit No. | Function | Pin | Wire Color | Circuit No. | Function | ||||||||
A | GRY/BLK | 1694 | 4WD Low Signal | A | GRY/BLK | 1694 | 4WD Low Signal | ||||||||
B | BLK/WHT | 1695 | Axle Switch Signal (NP2) | B | BLK/WHT | 1695 | Axle Switch Signal | ||||||||
C | BRN | 241 | Ignition 3 Voltage | C | BRN | 241 | Ignition 3 Voltage | ||||||||
|
| ||||||||||||||
|---|---|---|---|---|---|---|---|---|---|---|---|---|---|---|---|
Connector Part Information |
| Connector Part Information |
| ||||||||||||
Pin | Wire Color | Circuit No. | Function | Pin | Wire Color | Circuit No. | Function | ||||||||
A | LT GRN/ BLK | 431 | 5-Volt Reference | A | LT GRN/ BLK | 431 | 5-Volt Reference | ||||||||
B | TAN | 1569 | Lock Solenoid Control (NP8) | B | TAN | 1569 | Lock Solenoid Control (NP8) | ||||||||
C | BLK/WHT | 1554 | Encoder Low Reference | C | BLK/WHT | 1554 | Encoder Low Reference | ||||||||
|
| ||||||||||||||
|---|---|---|---|---|---|---|---|---|---|---|---|---|---|---|---|
Connector Part Information |
| Connector Part Information |
| ||||||||||||
Pin | Wire Color | Circuit No. | Function | Pin | Wire Color | Circuit No. | Function | ||||||||
A | BLK | 1744 | Fuel Injector 1 Control | A | BLK | 1744 | Fuel Injector 1 Control | ||||||||
B | DK BLU/WHT | 878 | Fuel Injector 8 Control | B | DK BLU/WHT | 878 | Fuel Injector 8 Control | ||||||||
C | LT BLU/BLK | 844 | Fuel Injector 4 Control | C | LT BLU/BLK | 844 | Fuel Injector 4 Control | ||||||||
D | PNK/BLK | 1746 | Fuel Injector 3 Control | D | PNK/BLK | 1746 | Fuel Injector 3 Control | ||||||||
E | YEL/BLK | 846 | Fuel Injector 6 Control | E | YEL/BLK | 846 | Fuel Injector 6 Control | ||||||||
F | BLK/WHT | 845 | Fuel Injector 5 Control | F | BLK/WHT | 845 | Fuel Injector 5 Control | ||||||||
G | RED/BLK | 877 | Fuel Injector 7 Control | G | RED/BLK | 877 | Fuel Injector 7 Control | ||||||||
H | LT GRN/BLK | 1745 | Fuel Injector 2 Control | H | LT GRN/BLK | 1745 | Fuel Injector 2 Control | ||||||||
J | PNK | 1039 | Ignition 1 Voltage | J | PNK | 1039 | Ignition 1 Voltage | ||||||||
K | PNK | 1239 | Ignition 1 Voltage | K | PNK | 1239 | Ignition 1 Voltage | ||||||||
|
| ||||||||||||||
|---|---|---|---|---|---|---|---|---|---|---|---|---|---|---|---|
Connector Part Information |
| Connector Part Information |
| ||||||||||||
Pin | Wire Color | Circuit No. | Function | Pin | Wire Color | Circuit No. | Function | ||||||||
A | WHT | 111 | SEO Relay Switch Signal | A | WHT | 111 | SEO Relay Switch Signal | ||||||||
B | BLK | 1050 | Ground | B | BLK | 1050 | Ground | ||||||||
|
| ||||||||||||||
|---|---|---|---|---|---|---|---|---|---|---|---|---|---|---|---|
Connector Part Information |
| Connector Part Information |
| ||||||||||||
Pin | Wire Color | Circuit No. | Function | Pin | Wire Color | Circuit No. | Function | ||||||||
A | BRN | 27 | Hazard Flasher Signal | A | BRN | 27 | Hazard Flasher Signal | ||||||||
|
| ||||||||||||||
|---|---|---|---|---|---|---|---|---|---|---|---|---|---|---|---|
Connector Part Information |
| Connector Part Information |
| ||||||||||||
Pin | Wire Color | Circuit No. | Function | Pin | Wire Color | Circuit No. | Function | ||||||||
A | DK BLU | 47 | Trailer Auxiliary Supply Voltage | A | DK BLU | 47 | Trailer Auxiliary Supply Voltage | ||||||||
|
| ||||||||||||||
|---|---|---|---|---|---|---|---|---|---|---|---|---|---|---|---|
Connector Part Information |
| Connector Part Information |
| ||||||||||||
Pin | Wire Color | Circuit No. | Function | Pin | Wire Color | Circuit No. | Function | ||||||||
A1 | -- | -- | Not Used | A1 | -- | -- | Not Used | ||||||||
A2 | PNK | 3 | Ignition 1 Voltage | A2 | PNK | 3 | Ignition 1 Voltage | ||||||||
A3 | LT GRN | 1763 | Steering Wheel Position Signal A (NYS/HP2) | A3 | LT GRN | 1763 | Steering Wheel Position Signal A (NYS/HP2) | ||||||||
A4 | PPL | 1358 | DIC Switch Signal (w/steering wheel controls) | A4 | DK GRN /WHT | 1358 | DIC Switch Signal | ||||||||
A5 | BLK/WHT | 1851 | Ground | A5 | BLK/WHT | 1851 | Ground | ||||||||
BLK/WHT | 1851 | Ground (HP2) | |||||||||||||
A6 | LT BLU | 1764 | Steering Wheel Position Signal B (NYS/HP2) | A6 | LT BLU | 1764 | Steering Wheel Position Signal B (NYS/HP2) | ||||||||
A7 | WHT | 1765 | Steering Wheel Position Signal - Marker Pulse (NYS/HP2) | A7 | WHT | 1765 | Steering Wheel Position Signal - Marker Pulse (NYS) | ||||||||
A8 | PNK | 639 | Ignition 1 Voltage | A8 | PNK | 639 | Ignition 1 Voltage | ||||||||
A9 | -- | -- | Not Used | A9 | -- | -- | Not Used | ||||||||
A10 | RED | 142 | Battery Positive Voltage | A10 | RED | 142 | Battery Positive Voltage | ||||||||
B1 | GRY/BLK | 87 | Cruise Control Resume/Accel Switch Signal | B1 | GRY/BLK | 87 | Cruise Control Resume/Accel Switch Signal | ||||||||
B2 | YEL | 1327 | DIC Fuel Signal (w/steering wheel controls) | B2 | YEL | 1327 | DIC Fuel Signal | ||||||||
B3 | BLK | 28 | Horn Relay Control | B3 | BLK | 28 | Horn Relay Control | ||||||||
B4 | LT BLU | 1059 | Steering Wheel Position Sensor Signal (NYS) | B4 | LT BLU | 1059 | Steering Wheel Position Sensor Signal (NYS) | ||||||||
B5 | LT BLU | 553 | Tow/Haul Switch Signal | B5 | LT BLU | 553 | Tow/Haul Switch Signal | ||||||||
B6 | BRN/WHT | 230 | Instrument Panel Lamps Dimming Control (UK3) | B6 | BRN/WHT | 230 | Instrument Panel Lamps Dimming Control | ||||||||
B7 | GRY | 478 | Windshield Wiper Switch Supply Voltage | B7 | GRY | 478 | Windshield Wiper Switch Supply Voltage | ||||||||
B8 | BLK | 1050 | Ground | B8 | BLK | 1050 | Ground | ||||||||
B9 | BLK/WHT | 1851 | Ground | B9 | BLK/WHT | 1851 | Ground | ||||||||
B10 | DK BLU | 84 | Cruise Control Set/Coast Switch Signal | B10 | DK BLU | 84 | Cruise Control Set/Coast Switch Signal | ||||||||
B11 | -- | -- | Not Used | B11 | -- | -- | Not Used | ||||||||
B12 | PNK | 1796 | Steering Wheel Controls Signal (w/steering wheel controls) | B12 | DK BLU | 1796 | Steering Wheel Controls Signal | ||||||||
B13 | ORN/BLK | 1816 | DIC Set/Reset Switch Signal (w/steering wheel controls) | B13 | ORN | 1816 | DIC Set/Reset Switch Signal | ||||||||
B14 | DK GRN | 1932 | Transmission Shift Select Switch (Park) Signal | B14 | DK GRN /WHT | 1932 | Transmission Shift Select Switch (Park) Signal | ||||||||
B15 | PNK | 94 | Windshield Wiper Switch Signal 1 | B15 | PNK | 94 | Windshield Wiper Switch Signal 1 | ||||||||
B16 | YEL | 307 | Headlamp Switch Flash to Pass Signal | B16 | YEL | 307 | Headlamp Switch Flash to Pass Signal | ||||||||
B17 | LT GRN/ BLK | 11 | Headlamp High Beam Supply Voltage | B17 | LT GRN | 11 | Headlamp High Beam Supply Voltage | ||||||||
B18 | BRN | 41 | Ignition 3 Voltage | B18 | BRN | 41 | Ignition 3 Voltage | ||||||||
B19-B22 | -- | -- | Not Used | B19-B22 | -- | -- | Not Used | ||||||||
B23 | GRY | 1056 | Steering Wheel Position Sensor 5-Volt Reference Voltage (NYS/HP2) | B23 | GRY | 1056 | Steering Wheel Position Sensor 5-Volt Reference Voltage (NYS/HP2) | ||||||||
B24 | DK BLU | 477 | Windshield Wiper Switch High Signal | B24 | DK BLU | 477 | Windshield Wiper Switch High Signal | ||||||||
B25 | LT GRN | 80 | Key In Ignition Switch Signal | B25 | LT GRN | 80 | Key In Ignition Switch Signal | ||||||||
B26 | DK BLU | 894 | DIC Toggle Switch Signal | B26 | DK BLU | 894 | DIC Toggle Switch Signal | ||||||||
B27 | BLK | 1835 | Security System Sensor Low Reference | B27 | BLK | 1835 | Security System Sensor Low Reference | ||||||||
B28 | YEL | 1836 | Security System Sensor Signal | B28 | YEL | 1836 | Security System Sensor Signal | ||||||||
B29 | RED/WHT | 812 | 12-Volt Reference | B29 | RED/WHT | 812 | 12-Volt Reference | ||||||||
B30 | DK GRN /WHT | 1135 | A/T Shift Lock Control Solenoid Supply Voltage | B30 | DK GRN /WHT | 1135 | A/T Shift Lock Control Solenoid Supply Voltage | ||||||||
B31 | LT GRN | 1011 | Remote Radio Control Signal (w/steering wheel controls) | B31 | LT GRN | 1011 | Remote Radio Control Signal | ||||||||
B32 | GRY | 397 | Cruise Control On Switch Signal | B32 | GRY | 397 | Cruise Control On Switch Signal | ||||||||
C1 | RED | 342 | Battery Positive Voltage | C1 | RED | 342 | Battery Positive Voltage | ||||||||
C2-C8 | -- | -- | Not Used | C2-C8 | -- | -- | Not Used | ||||||||
C9 | YEL | 5 | Crank Voltage | C9 | YEL | 5 | Crank Voltage | ||||||||
C10 | -- | -- | Not Used | C10 | -- | -- | Not Used | ||||||||
|
| ||||||||||||||
|---|---|---|---|---|---|---|---|---|---|---|---|---|---|---|---|
Connector Part Information |
| Connector Part Information |
| ||||||||||||
Pin | Wire Color | Circuit No. | Function | Pin | Wire Color | Circuit No. | Function | ||||||||
A | PPL | 420 | TCC Brake Switch /Cruise Control Release Signal | A | PPL | 420 | TCC Brake Switch /Cruise Control Release Signal | ||||||||
B | DK GRN | 1433 | Clutch Start Switch Signal (Man Trans) | B | DK GRN | 1433 | Clutch Start Switch Signal (Man Trans) | ||||||||
GRY/BLK | 5689 | Low Reference (HP2) | GRY/BLK | 5689 | Low Reference (HP2) | ||||||||||
C | PNK | 639 | Ignition 1 Voltage (w/o HP2) | C | PNK | 639 | Ignition 1 Voltage (w/o HP2) | ||||||||
YEL | 5066 | Brake Pedal Position Sensor Signal (HP2) | YEL | 5066 | Brake Pedal Position Sensor Signal (HP2) | ||||||||||
D | DK GRN /WHT | 1135 | A/T Shift Lock Control Solenoid Supply Voltage | D | DK GRN /WHT | 1135 | A/T Shift Lock Control Solenoid Supply Voltage | ||||||||
E | LT GRN/ BLK | 584 | A/T Shift Lock Control Switch Supply Voltage | E | LT GRN/ BLK | 584 | A/T Shift Lock Control Switch Supply Voltage | ||||||||
F | BRN | 441 | Ignition 3 Voltage | F | BRN | 441 | Ignition 3 Voltage | ||||||||
G | ORN | 1540 | Battery Positive Voltage | G | ORN | 1540 | Battery Positive Voltage | ||||||||
H | WHT | 17 | Stop Lamp Switch Signal | H | WHT | 17 | Stop Lamp Switch Signal | ||||||||
J | LT BLU | 1134 | Park Brake Switch Signal | J | LT BLU | 1134 | Park Brake Switch Signal | ||||||||
K | GRY | 48 | CPP Switch Signal (Man Trans) | K | GRY | 48 | CPP Switch Signal (Man Trans) | ||||||||
ORN | 5688 | 5 Volt Reference (HP2) | ORN | 5688 | 5 Volt Reference (HP2) | ||||||||||
L-M | -- | -- | Not Used | L-M | -- | -- | Not Used | ||||||||
|
| ||||||||||||||
|---|---|---|---|---|---|---|---|---|---|---|---|---|---|---|---|
Connector Part Information |
| Connector Part Information |
| ||||||||||||
Pin | Wire Color | Circuit No. | Function | Pin | Wire Color | Circuit No. | Function | ||||||||
A | ORN | 5688 | Brake Pedal Position Sensor 5V Supply | A | RED | 5688 | Brake Pedal Position Sensor 5V Supply | ||||||||
B | YEL | 5066 | Brake Pedal Position Sensor Signal | B | DK BLU | 5066 | Brake Pedal Position Sensor Signal | ||||||||
C | GRY/BLK | 5689 | Brake Pedal Position Sensor 5V Return | C | WHT | 5689 | Brake Pedal Position Sensor 5V Return | ||||||||
|
| ||||||||||||||
|---|---|---|---|---|---|---|---|---|---|---|---|---|---|---|---|
Connector Part Information |
| Connector Part Information |
| ||||||||||||
Pin | Wire Color | Circuit No. | Function | Pin | Wire Color | Circuit No. | Function | ||||||||
A1 | -- | -- | Not Used | A1 | -- | -- | Not Used | ||||||||
A2 | YEL | 354 | Discriminating Sensor - Signal | A2 | YEL | 354 | Discriminating Sensor - Signal | ||||||||
A3 | GRY | 349 | Discriminating Sensor - Left - Signal | A3 | GRY | 349 | Discriminating Sensor - Left - Signal | ||||||||
A4 | LT BLU | 115 | Right Rear Speaker Output (-) | A4 | LT BLU | 115 | Right Rear Speaker Output (-) | ||||||||
A5 | DK BLU | 46 | Right Rear Speaker Output (+) | A5 | DK BLU | 46 | Right Rear Speaker Output (+) | ||||||||
A6 | TAN/WHT | 2500 | High Speed GMLAN Serial Data Bus+ (HP2) | A6 | TAN/WHT | 2500 | High Speed GMLAN Serial Data Bus+ (HP2) | ||||||||
TAN/WHT | 2500 | High Speed GMLAN Serial Data Bus+ (HP2) | |||||||||||||
A7 | YEL | 116 | Left Rear Speaker Output (-) | A7 | YEL | 116 | Left Rear Speaker Output (-) | ||||||||
A8 | BRN | 199 | Left Rear Speaker Output (+) | A8 | BRN | 199 | Left Rear Speaker Output (+) | ||||||||
A9 | YEL | 1834 | Forward Discriminating Sensor Signal | A9 | YEL | 1834 | Forward Discriminating Sensor Signal | ||||||||
A10 | TAN/BLK | 371 | I/P Module Disable Switch - Signal (C99) | A10 | TAN/BLK | 371 | I/P Module Disable Switch - Signal (C99) | ||||||||
A11 | PNK | 353 | I/P Module Suppression Indicator Control (C99) | A11 | PNK | 353 | I/P Module Suppression Indicator Control (C99) | ||||||||
B1 | DK GRN | 1409 | Discriminating Sensor - Right - Signal | B1 | DK GRN | 1409 | Discriminating Sensor - Right - Signal | ||||||||
B2 | DK GRN | 2164 | Side Impact Sensor - Right - Signal (HP2) | B2 | DK GRN | 2164 | Side Impact Sensor - Right - Signal (HP2) | ||||||||
B3 | TAN | 2163 | Side Impact Sensor - Right - Voltage (HP2) | B3 | TAN | 2163 | Side Impact Sensor - Right - Voltage (HP2) | ||||||||
B4 | TAN | 2501 | High Speed GMLAN Serial Data Bus - (HP2) | B4 | TAN | 2501 | High Speed GMLAN Serial Data Bus - (HP2) | ||||||||
TAN | 2501 | High Speed GMLAN Serial Data Bus - (HP2) | |||||||||||||
B5 | DK BLU/ WHT | 2218 | Serial Communications Circuit | B5 | DK BLU/ WHT | 2218 | Serial Communications Circuit | ||||||||
B6 | PNK | 1020 | Ignition 0 Voltage (HP2) | B6 | PNK | 1020 | Ignition 0 Voltage (HP2) | ||||||||
B7 | PNK | 1939 | Ignition 1 Voltage (HP2) | B7 | PNK | 1939 | Ignition 1 Voltage (HP2) | ||||||||
B8 | -- | -- | Not Used | B8 | -- | -- | Not Used | ||||||||
B9 | ORN | 2740 | Battery Positive Voltage (HP2) | B9 | ORN | 2740 | Battery Positive Voltage (HP2) | ||||||||
B10-B11 | -- | -- | Not Used | B10-B11 | -- | -- | Not Used | ||||||||
|
| ||||||||||||||
|---|---|---|---|---|---|---|---|---|---|---|---|---|---|---|---|
Connector Part Information |
| Connector Part Information |
| ||||||||||||
Pin | Wire Color | Circuit No. | Function | Pin | Wire Color | Circuit No. | Function | ||||||||
A | ORN | 2340 | Battery Positive Voltage | A | ORN | 2340 | Battery Positive Voltage | ||||||||
B | WHT | 111 | Hazard Switch Signal | B | WHT | 111 | Hazard Switch Signal | ||||||||
|
| ||||||||||||||
|---|---|---|---|---|---|---|---|---|---|---|---|---|---|---|---|
Connector Part Information |
| Connector Part Information |
| ||||||||||||
Pin | Wire Color | Circuit No. | Function | Pin | Wire Color | Circuit No. | Function | ||||||||
A | YEL/BLK | 2516 | Keypad Green LED Signal (UE1) | A | YEL/BLK | 2516 | Keypad Green LED Signal (UE1) | ||||||||
B | BRN/WHT | 2517 | Keypad Red LED Signal (UE1) | B | BRN/WHT | 2517 | Keypad Red LED Signal (UE1) | ||||||||
C | LT GRN/ BLK | 2515 | Keypad Supply Voltage (UE1) | C | LT GRN/ BLK | 2515 | Keypad Supply Voltage (UE1) | ||||||||
D | DK GRN /WHT | 2514 | Keypad Signal (UE1) | D | DK GRN /WHT | 2514 | Keypad Signal (UE1) | ||||||||
E-G | -- | -- | Not Used | E-G | -- | -- | Not Used | ||||||||
H | DK GRN /WHT | 368 | Remote Playback Device Right Audio Signal (U42) | H | DK GRN /WHT | 368 | Remote Playback Device Right Audio Signal (U42) | ||||||||
J | BRN/WHT | 367 | Remote Playback Device Left Audio Signal (U42) | J | BRN/WHT | 367 | Remote Playback Device Left Audio Signal (U42) | ||||||||
K | BLK/WHT | 372 | Radio On Signal (U42) | K | BLK/WHT | 372 | Radio On Signal (U42) | ||||||||
L | BARE | 1573 | Drain Wire (U42) | L | BARE | 1573 | Drain Wire (U42) | ||||||||
M | LT GRN/ BLK | 1098 | Class 2 Serial Data (U42) | M | LT GRN/ BLK | 1098 | Class 2 Serial Data (U42) | ||||||||
N | ORN | 3240 | Battery Positive Voltage (U42) | N | ORN | 3240 | Battery Positive Voltage (U42) | ||||||||
P | BLK/WHT | 1851 | Ground (U42) | P | BLK/WHT | 1851 | Ground (U42) | ||||||||
R-S | -- | -- | Not Used | R-S | -- | -- | Not Used | ||||||||
|
| ||||||||||||||
|---|---|---|---|---|---|---|---|---|---|---|---|---|---|---|---|
Connector Part Information |
| Connector Part Information |
| ||||||||||||
Pin | Wire Color | Circuit No. | Function | Pin | Wire Color | Circuit No. | Function | ||||||||
A | YEL/BLK | 2516 | Keypad Green LED Signal (UE1) | A | YEL/BLK | 2516 | Keypad Green LED Signal (UE1) | ||||||||
B | BRN/WHT | 2517 | Keypad Red LED Signal (UE1) | B | BRN/WHT | 2517 | Keypad Red LED Signal (UE1) | ||||||||
C | LT GRN/ BLK | 2515 | Keypad Supply Voltage (UE1) | C | LT GRN/ BLK | 2515 | Keypad Supply Voltage (UE1) | ||||||||
D | DK GRN /WHT | 2514 | Keypad Signal (UE1) | D | DK GRN /WHT | 2514 | Keypad Signal (UE1) | ||||||||
E-H | -- | -- | Not Used | E-G | -- | -- | Not Used | ||||||||
|
| ||||||||||||||
|---|---|---|---|---|---|---|---|---|---|---|---|---|---|---|---|
Connector Part Information |
| Connector Part Information |
| ||||||||||||
Pin | Wire Color | Circuit No. | Function | Pin | Wire Color | Circuit No. | Function | ||||||||
A | BLK | 50 | Ground | A | BLK | 50 | Ground | ||||||||
B | -- | -- | Not Used | B | -- | -- | Not Used | ||||||||
C | YEL | 243 | Accessory Voltage | C | YEL | 243 | Accessory Voltage | ||||||||
D | RED | 2 | Battery Positive Voltage | D | RED | 2 | Battery Positive Voltage | ||||||||
|
| ||||||||||||||
|---|---|---|---|---|---|---|---|---|---|---|---|---|---|---|---|
Connector Part Information |
| Connector Part Information |
| ||||||||||||
Pin | Wire Color | Circuit No. | Function | Pin | Wire Color | Circuit No. | Function | ||||||||
A1 | ORN | 1044 | Class 2 Serial Data | A1 | ORN | 1044 | Class 2 Serial Data | ||||||||
A2-A7 | -- | -- | Not Used | A2-A7 | -- | -- | Not Used | ||||||||
A8 | TAN | 201 | Left Front Speaker Output (+) | A8 | TAN | 201 | Left Front Speaker Output (+) | ||||||||
A9 | GRY | 118 | Left Front Speaker Output (-) | A9 | GRY | 118 | Left Front Speaker Output (-) | ||||||||
A10 | LT BLU | 115 | Right Rear Speaker Output (-) | A10 | LT BLU | 115 | Right Rear Speaker Output (-) | ||||||||
A11 | DK BLU | 46 | Right Rear Speaker Output (+) | A11 | DK BLU | 46 | Right Rear Speaker Output (+) | ||||||||
A12 | BLK/WHT | 1851 | Ground | A12 | BLK/WHT | 1851 | Ground | ||||||||
B1 | ORN | 340 | Battery Positive Voltage | B1 | ORN | 340 | Battery Positive Voltage | ||||||||
B2-B7 | -- | -- | Not Used | B2-B7 | -- | -- | Not Used | ||||||||
B8 | BRN | 199 | Left Rear Speaker Output (+) | B8 | BRN | 199 | Left Rear Speaker Output (+) | ||||||||
B9 | YEL | 116 | Left Rear Speaker Output (-) | B9 | YEL | 116 | Left Rear Speaker Output (-) | ||||||||
B10 | DK GRN | 117 | Right Front Speaker Output (-) | B10 | DK GRN | 117 | Right Front Speaker Output (-) | ||||||||
B11 | LT GRN | 200 | Right Front Speaker Output (+) | B11 | LT GRN | 200 | Right Front Speaker Output (+) | ||||||||
B12 | -- | -- | Not Used | B12 | -- | -- | Not Used | ||||||||
|
| ||||||||||||||
|---|---|---|---|---|---|---|---|---|---|---|---|---|---|---|---|
Connector Part Information |
| Connector Part Information |
| ||||||||||||
Pin | Wire Color | Circuit No. | Function | Pin | Wire Color | Circuit No. | Function | ||||||||
A1 | WHT | 347 | Steering Wheel Module - High Control | A1 | TAN | 3021 | Steering Wheel Module - Stage 1 - High Control | ||||||||
A2 | DK GRN | 348 | Steering Wheel Module - Low Control | A2 | BRN | 3020 | Steering Wheel Module - Stage 1 - Low Control | ||||||||
B1-B2 | -- | -- | Not Used | B1-B2 | -- | -- | Not Used | ||||||||
|
| ||||||||||||||
|---|---|---|---|---|---|---|---|---|---|---|---|---|---|---|---|
Connector Part Information |
| Connector Part Information |
| ||||||||||||
Pin | Wire Color | Circuit No. | Function | Pin | Wire Color | Circuit No. | Function | ||||||||
A1 | TAN | 3021 | Steering Wheel Module - Stage 1 - High Control | A1 | TAN | 3021 | Steering Wheel Module - Stage 1 - High Control | ||||||||
A2 | BRN | 3020 | Steering Wheel Module - Stage 1 - Low Control | A2 | BRN | 3020 | Steering Wheel Module - Stage 1 - Low Control | ||||||||
B1 | WHT | 3023 | Steering Wheel Module - Stage 2 - High Control | B1 | WHT | 3023 | Steering Wheel Module - Stage 2 - High Control | ||||||||
B2 | PNK | 2022 | Steering Wheel Module - Stage 2 - Low Control | B2 | PNK | 2022 | Steering Wheel Module - Stage 2 - Low Control | ||||||||
|
| ||||||||||||||
|---|---|---|---|---|---|---|---|---|---|---|---|---|---|---|---|
Connector Part Information |
| Connector Part Information |
| ||||||||||||
Pin | Wire Color | Circuit No. | Function | Pin | Wire Color | Circuit No. | Function | ||||||||
A1 | YEL | 3025 | I/P Module - Stage 1 - High Control | A1 | YEL | 3025 | I/P Module - Stage 1 - High Control | ||||||||
A2 | ORN | 3024 | I/P Module - Stage 1 - Low Control | A2 | ORN | 3024 | I/P Module - Stage 1 - Low Control | ||||||||
B1 | GRY | 3027 | I/P Module - Stage 2 - High Control (w/Dual Stage) | B1 | GRY | 3027 | I/P Module - Stage 2 - High Control (w/Dual Stage) | ||||||||
B2 | PPL | 3026 | I/P Module - Stage 2 - Low Control (w/Dual Stage) | B2 | PPL | 3026 | I/P Module - Stage 2 - Low Control (w/Dual Stage) | ||||||||
|
| ||||||||||||||
|---|---|---|---|---|---|---|---|---|---|---|---|---|---|---|---|
Connector Part Information |
| Connector Part Information |
| ||||||||||||
Pin | Wire Color | Circuit No. | Function | Pin | Wire Color | Circuit No. | Function | ||||||||
A | DK BLU/ WHT | 2218 | Serial Communications Circuit | A | DK BLU | 1128 | SDM Class 2 Serial Data | ||||||||
A | BRN/WHT | 1048 | SCM (Seat) Class 2 Serial Data (AG2) | ||||||||||||
B | YEL | 116 | Left Rear Speaker Output (-) | B | YEL | 116 | Left Rear Speaker Output (-) | ||||||||
C | BRN | 199 | Left Rear Speaker Output (+) | C | BRN | 199 | Left Rear Speaker Output (+) | ||||||||
D | LT BLU | 115 | Right Rear Speaker Output (-) | D | LT BLU | 115 | Right Rear Speaker Output (-) | ||||||||
E | DK BLU | 46 | Right Rear Speaker Output (+) | E | DK BLU | 46 | Right Rear Speaker Output (+) | ||||||||
F | -- | -- | Not Used | F | -- | -- | Not Used | ||||||||
G | YEL | 354 | Discriminating Sensor - Signal | G | YEL | 354 | Discriminating Sensor - Signal | ||||||||
H | GRY | 349 | Discriminating Sensor - Left - Signal | H | GRY | 349 | Discriminating Sensor - Left - Signal | ||||||||
J | YEL | 1834 | Forward Discriminating Sensor Signal | J | YEL | 1834 | Forward Discriminating Sensor Signal | ||||||||
K | PNK | 353 | I/P Module Suppression Indicator Control (C99) | L | PNK | 353 | I/P Module Suppression Indicator Control (C99) | ||||||||
L | TAN/BLK | 371 | I/P Module Disable Switch - Signal (C99) | K | TAN/BLK | 371 | I/P Module Disable Switch - Signal (C99) | ||||||||
M | DK GRN | 1409 | Discriminating Sensor - Right - Signal | M | DK GRN | 1409 | Discriminating Sensor - Right - Signal | ||||||||
N-S | -- | -- | Not Used | N-S | -- | -- | Not Used | ||||||||
|
| ||||||||||||||
|---|---|---|---|---|---|---|---|---|---|---|---|---|---|---|---|
Connector Part Information |
| Connector Part Information |
| ||||||||||||
Pin | Wire Color | Circuit No. | Function | Pin | Wire Color | Circuit No. | Function | ||||||||
A | Bare | 514 | Ground | A | Bare | 514 | Ground | ||||||||
B | GRY | 655 | Cellular Telephone Microphone Low Reference | B | GRY | 655 | Cellular Telephone Microphone Low Reference | ||||||||
|
| ||||||||||||||
|---|---|---|---|---|---|---|---|---|---|---|---|---|---|---|---|
Connector Part Information |
| Connector Part Information |
| ||||||||||||
Pin | Wire Color | Circuit No. | Function | Pin | Wire Color | Circuit No. | Function | ||||||||
A | ORN | 1040 | Battery Positive Voltage | A | ORN | 1040 | Battery Positive Voltage | ||||||||
B | ORN | 640 | Battery Positive Voltage | B | ORN | 640 | Battery Positive Voltage | ||||||||
C | BLK | 1050 | Ground | C | BLK | 1050 | Ground | ||||||||
D | -- | -- | Not Used | D | -- | -- | Not Used | ||||||||
|
| ||||||||||||||
|---|---|---|---|---|---|---|---|---|---|---|---|---|---|---|---|
Connector Part Information |
| Connector Part Information |
| ||||||||||||
Pin | Wire Color | Circuit No. | Function | Pin | Wire Color | Circuit No. | Function | ||||||||
A | ORN | 640 | Battery Positive Voltage | A | ORN | 640 | Battery Positive Voltage | ||||||||
B | -- | -- | Not Used | B | -- | -- | Not Used | ||||||||
C | BLK | 1050 | Ground | C | BLK | 1050 | Ground | ||||||||
|
| ||||||||||||||
|---|---|---|---|---|---|---|---|---|---|---|---|---|---|---|---|
Connector Part Information |
| Connector Part Information |
| ||||||||||||
Pin | Wire Color | Circuit No. | Function | Pin | Wire Color | Circuit No. | Function | ||||||||
A | -- | -- | Not Used | A | -- | -- | Not Used | ||||||||
B | BLK | 1050 | Ground | B | BLK | 1050 | Ground | ||||||||
C | TAN/WHT | 1384 | Selective Ride Control Switch Signal | C | TAN/WHT | 1384 | Selective Ride Control Switch Signal | ||||||||
D | PPL/WHT | 1382 | LED Dimming Signal/LED Dimming Supply | D | PPL/WHT | 1382 | LED Dimming Signal/LED Dimming Supply | ||||||||
E | BRN/WHT | 230 | Instrument Panel Lamps Dimming Control | E | BRN/WHT | 230 | Instrument Panel Lamps Dimming Control | ||||||||
F | PNK | 739 | Ignition 1 Voltage | F | PNK | 739 | Ignition 1 Voltage | ||||||||
|
| ||||||||||||||
|---|---|---|---|---|---|---|---|---|---|---|---|---|---|---|---|
Connector Part Information |
| Connector Part Information |
| ||||||||||||
Pin | Wire Color | Circuit No. | Function | Pin | Wire Color | Circuit No. | Function | ||||||||
A | -- | -- | Not Used | A | -- | -- | Not Used | ||||||||
B | BLK | 1050 | Ground | B | BLK | 1050 | Ground | ||||||||
C | WHT | 111 | Hazard Switch Signal | C | WHT | 111 | Hazard Switch Signal | ||||||||
D | PPL/WHT | 1382 | LED Dimming Signal/LED Dimming Supply | D | PPL/WHT | 1382 | LED Dimming Signal/LED Dimming Supply | ||||||||
E | BRN/WHT | 230 | Instrument Panel Lamps Dimming Control | E | BRN/WHT | 230 | Instrument Panel Lamps Dimming Control | ||||||||
F | ORN | 4540 | Battery Positive Voltage | F | ORN | 4540 | Battery Positive Voltage | ||||||||
|
| ||||||||||||||
|---|---|---|---|---|---|---|---|---|---|---|---|---|---|---|---|
Connector Part Information |
| Connector Part Information |
| ||||||||||||
Pin | Wire Color | Circuit No. | Function | Pin | Wire Color | Circuit No. | Function | ||||||||
A | WHT | 347 | Steering Wheel Module - High Control | A | WHT | 347 | Steering Wheel Module - High Control | ||||||||
B | DK GRN | 348 | Steering Wheel Module - Low Control | B | DK GRN | 348 | Steering Wheel Module - Low Control | ||||||||
|
| ||||||||||||||
|---|---|---|---|---|---|---|---|---|---|---|---|---|---|---|---|
Connector Part Information |
| Connector Part Information |
| ||||||||||||
Pin | Wire Color | Circuit No. | Function | Pin | Wire Color | Circuit No. | Function | ||||||||
A1 | TAN | 3021 | Steering Wheel Module - Stage 1 - High Control | A1 | TAN | 3021 | Steering Wheel Module - Stage 1 - High Control | ||||||||
A2 | BRN | 3020 | Steering Wheel Module - Stage 1 - Low Control | A2 | BRN | 3020 | Steering Wheel Module - Stage 1 - Low Control | ||||||||
B1 | WHT | 3023 | Steering Wheel Module - Stage 2 - High Control | B1 | WHT | 3023 | Steering Wheel Module - Stage 2 - High Control | ||||||||
B2 | PNK | 3022 | Steering Wheel Module - Stage 2 - Low Control | B2 | PNK | 3022 | Steering Wheel Module - Stage 2 - Low Control | ||||||||
|
| ||||||||||||||
|---|---|---|---|---|---|---|---|---|---|---|---|---|---|---|---|
Connector Part Information |
| Connector Part Information |
| ||||||||||||
Pin | Wire Color | Circuit No. | Function | Pin | Wire Color | Circuit No. | Function | ||||||||
A | YEL | 1327 | DIC Fuel Signal | A | YEL | 1327 | DIC Fuel Signal | ||||||||
B | DK BLU | 894 | DIC Toggle Switch Signal | B | DK BLU | 894 | DIC Toggle Switch Signal | ||||||||
C | PPL | 1358 | DIC Switch Signal | C | DK GRN | 1358 | DIC Switch Signal | ||||||||
D | ORN/BLK | 1816 | DIC Set/Reset Switch Signal | D | ORN | 1816 | DIC Set/Reset Switch Signal | ||||||||
E | PNK | 1796 | Steering Wheel Controls Signal | E | WHT | 2283 | 12-Volt Reference | ||||||||
F | BRN/WHT | 230 | Instrument Panel Lamps Dimming Control | F | BRN | 230 | Instrument Panel Lamps Dimming Control | ||||||||
G | LT GRN | 1011 | Remote Radio Control Signal | G | LT GRN | 1011 | Remote Radio Control Signal | ||||||||
G | LT GRN | 1011 | Remote Radio Control Signal | ||||||||||||
H | BLK | 1851 | Ground | H | BLK | 2250 | Ground | ||||||||
|
| ||||||||||||||
|---|---|---|---|---|---|---|---|---|---|---|---|---|---|---|---|
Connector Part Information |
| Connector Part Information |
| ||||||||||||
Pin | Wire Color | Circuit No. | Function | Pin | Wire Color | Circuit No. | Function | ||||||||
A | ORN | 1440 | Battery Positive Voltage (AG1) | A | ORN | 1440 | Battery Positive Voltage (AG1) | ||||||||
B | PNK | 2480 | Driver Heated Seat Cushion Element Control (KA1) | B | PNK | 2480 | Driver Heated Seat Cushion Element Control (KA1) | ||||||||
C | -- | -- | Not Used | C | -- | -- | Not Used | ||||||||
D | BRN/WHT | 1048 | Class 2 Serial Data (AN3) | D | BRN/WHT | 1048 | Class 2 Serial Data (AN3) | ||||||||
E | BLK/WHT | 238 | Seat Belt Switch - Left | E | BLK/WHT | 238 | Seat Belt Switch - Left | ||||||||
F | LT GRN | 5055 | Seat Position Switch - Left - Signal (AL0) | F | LT GRN | 5055 | Seat Position Switch - Left - Signal (AL0) | ||||||||
G | LT BLU | 2433 | Driver Heated Seat Back Element Control (KA1) | G | LT BLU | 2433 | Driver Heated Seat Back Element Control (KA1) | ||||||||
H | DK BLU | 2479 | Driver Heated Seat Element Supply Voltage (KA1) | H | DK BLU | 2479 | Driver Heated Seat Element Supply Voltage (KA1) | ||||||||
J | DK BLU | 1363 | Seat Belt Switch - Left - Low Reference | J | YEL | 234 | Seat Belt Indicator Control | ||||||||
DK BLU | 1363 | Seat Belt Switch - Right - Low Reference (AL0) | YEL | 234 | Seat Belt Indicator Control (AL0) | ||||||||||
K | DK BLU | 5475 | Driver Heated Seat Back Temperature Signal (KA1) | K | DK BLU | 5475 | Driver Heated Seat Back Temperature Signal (KA1) | ||||||||
L | -- | -- | Not Used | L | -- | -- | Not Used | ||||||||
M-R | -- | -- | Not Used | M-R | -- | -- | Not Used | ||||||||
S | BLK | 1150 | Ground | S | BLK | 1150 | Ground | ||||||||
|
| ||||||||||||||
|---|---|---|---|---|---|---|---|---|---|---|---|---|---|---|---|
Connector Part Information |
| Connector Part Information |
| ||||||||||||
Pin | Wire Color | Circuit No. | Function | Pin | Wire Color | Circuit No. | Function | ||||||||
A1 | BARE | 2011 | Drain Wire (UQ7) | A1 | BARE | 2011 | Drain Wire (UQ7) | ||||||||
A2-A3 | -- | -- | Not Used | A2-A3 | -- | -- | Not Used | ||||||||
A4 | ORN | 1040 | Battery Positive Voltage | A4 | ORN | 1040 | Battery Positive Voltage | ||||||||
A5 | ORN | 3740 | Battery Positive Voltage | A5 | ORN | 3740 | Battery Positive Voltage | ||||||||
A6-A8 | -- | -- | Not Used | A6-A8 | -- | -- | Not Used | ||||||||
B1-B2 | -- | -- | Not Used | B1-B2 | -- | -- | Not Used | ||||||||
B3 | LT BLU | 2288 | Class 2 Serial Data | B3 | LT BLU | 2288 | Class 2 Serial Data | ||||||||
B4 | GRY/BLK | 2334 | Radio Mute | B4 | GRY/BLK | 2334 | Radio Mute | ||||||||
B5 | -- | -- | Not Used | B5 | -- | -- | Not Used | ||||||||
B6 | PNK | 314 | Radio On Signal | B6 | PNK | 314 | Radio On Signal | ||||||||
B7 | -- | -- | Not Used | B7 | -- | -- | Not Used | ||||||||
B8 | BLK | 1050 | Ground | B8 | BLK | 1050 | Ground | ||||||||
B9 | TAN | 201 | Left Front Speaker Output (+) | B9 | TAN | 201 | Left Front Speaker Output (+) | ||||||||
B10 | -- | -- | Not Used | B10 | -- | -- | Not Used | ||||||||
B11 | GRY | 118 | Left Front Speaker Output (-) | B11 | GRY | 118 | Left Front Speaker Output (-) | ||||||||
B12 | PPL | 493 | Rear Seat Audio Enable Signal | B12 | PPL | 493 | Rear Seat Audio Enable Signal | ||||||||
C1 | BARE | 2099 | Drain Wire | C1 | BARE | 2099 | Drain Wire | ||||||||
C2 | TAN | 511 | Left Front Low Level Audio Signal (+) | C2 | TAN | 511 | Left Front Low Level Audio Signal (+) | ||||||||
C3 | DK GRN | 1947 | Left Front Low Level Audio Signal (-) | C3 | DK GRN | 1947 | Left Front Low Level Audio Signal (-) | ||||||||
C4 | LT GRN | 512 | Right Front Low Level Audio Signal (+) | C4 | LT GRN | 512 | Right Front Low Level Audio Signal (+) | ||||||||
C5 | ORN | 640 | Battery Positive Voltage | C5 | ORN | 640 | Battery Positive Voltage | ||||||||
C6 | BLK | 1946 | Right Rear Low Level Audio Signal (-) | C6 | BLK | 1946 | Right Rear Low Level Audio Signal (-) | ||||||||
C7 | ORN/BLK | 1546 | Front Low Level Audio Signal (-) | C7 | ORN/BLK | 1546 | Front Low Level Audio Signal (-) | ||||||||
C8 | BRN | 599 | Left Rear Low Level Audio Signal (+) | C8 | BRN | 599 | Left Rear Low Level Audio Signal (+) | ||||||||
C9 | DK GRN /WHT | 1547 | Rear Low Level Audio Signal (-) | C9 | DK GRN /WHT | 1547 | Rear Low Level Audio Signal (-) | ||||||||
C10 | BRN | 199 | Left Rear Speaker Output (+) | C10 | BRN | 199 | Left Rear Speaker Output (+) | ||||||||
C11 | DK BLU | 546 | Right Rear Low Level Audio Signal (+) | C11 | DK BLU | 546 | Right Rear Low Level Audio Signal (+) | ||||||||
C12 | LT GRN | 200 | Right Front Speaker Output (+) | C12 | LT GRN | 200 | Right Front Speaker Output (+) | ||||||||
D1 | DK GRN | 117 | Right Front Speaker Output (-) | D1 | DK GRN | 117 | Right Front Speaker Output (-) | ||||||||
D2 | YEL | 116 | Left Rear Speaker Output (-) | D2 | LT GRN | 116 | Left Rear Speaker Output (-) | ||||||||
D3-D4 | -- | -- | Not Used | D3-D4 | -- | -- | Not Used | ||||||||
D5 | BLK/WHT | 1851 | Ground | D5 | BLK/WHT | 1851 | Ground | ||||||||
D6 | ORN | 340 | Battery Positive Voltage | D6 | ORN | 340 | Battery Positive Voltage | ||||||||
D7 | DK BLU | 46 | Right Rear Speaker Output (+) | D7 | DK BLU | 46 | Right Rear Speaker Output (+) | ||||||||
D8 | LT BLU | 115 | Right Rear Speaker Output (-) | D8 | LT BLU | 115 | Right Rear Speaker Output (-) | ||||||||
|
| ||||||||||||||
|---|---|---|---|---|---|---|---|---|---|---|---|---|---|---|---|
Connector Part Information |
| Connector Part Information |
| ||||||||||||
Pin | Wire Color | Circuit No. | Function | Pin | Wire Color | Circuit No. | Function | ||||||||
A1 | BRN/WHT | 230 | Instrument Panel Lamps Dimming Control | A1 | BRN/WHT | 230 | Instrument Panel Lamps Dimming Control | ||||||||
A2 | -- | -- | Not Used | A2 | -- | -- | Not Used | ||||||||
A3 | BRN/WHT | 230 | Instrument Panel Lamps Dimming Control (Z75) | A3 | BRN/WHT | 230 | Instrument Panel Lamps Dimming Control (Z75) | ||||||||
A4 | ORN | 1040 | Battery Positive Voltage | A4 | ORN | 1040 | Battery Positive Voltage | ||||||||
A5 | ORN | 3740 | Battery Positive Voltage | A5 | ORN | 3740 | Battery Positive Voltage | ||||||||
A6 | ORN | 3240 | Battery Positive Voltage | A6 | ORN | 3240 | Battery Positive Voltage | ||||||||
A7 | DK GRN /WHT | 368 | Right Audio Signal (+) | A7 | DK GRN /WHT | 368 | Right Audio Signal (+) | ||||||||
A8 | BRN/WHT | 367 | Left Audio Signal (+) | A8 | BRN/WHT | 367 | Left Audio Signal (+) | ||||||||
B1 | BLK/WHT | 372 | Audio Common | B1 | BLK/WHT | 372 | Audio Common | ||||||||
B2 | -- | -- | Not Used | B2 | -- | -- | Not Used | ||||||||
B3 | LT BLU | 2288 | Class 2 Serial Data (UK6) | B3 | LT BLU | 2288 | Class 2 Serial Data (UK6) | ||||||||
B4 | -- | -- | Not Used | B4 | -- | -- | Not Used | ||||||||
B5 | TAN | 5072 | Remote Playback Device Class 2 Serial Data | B5 | TAN | 5072 | Remote Playback Device Class 2 Serial Data | ||||||||
B6 | -- | -- | Not Used | B6 | -- | -- | Not Used | ||||||||
B7 | DK BLU | 2272 | Amplifier Class 2 Serial Data | B7 | DK BLU | 2272 | Amplifier Class 2 Serial Data | ||||||||
B8 | BLK | 1050 | Ground | B8 | BLK | 1050 | Ground | ||||||||
B9 | TAN | 201 | Left Front Speaker Output (+) | B9 | TAN | 201 | Left Front Speaker Output (+) | ||||||||
B10 | BARE | 1573 | Drain Wire | B10 | BARE | 1573 | Drain Wire | ||||||||
B11 | GRY | 118 | Left Front Speaker Output (-) | B11 | GRY | 118 | Left Front Speaker Output (-) | ||||||||
B12 | -- | -- | Not Used | B12 | -- | -- | Not Used | ||||||||
C1 | -- | -- | Not Used | C1 | -- | -- | Not Used | ||||||||
C2 | TAN | 511 | Left Front Low Level Audio Signal (+) | C2 | TAN | 511 | Left Front Low Level Audio Signal (+) | ||||||||
C3 | DK GRN | 1947 | Left Front Low Level Audio Signal (-) | C3 | DK GRN | 1947 | Left Front Low Level Audio Signal (-) | ||||||||
C4 | LT GRN | 512 | Right Front Low Level Audio Signal (+) | C4 | LT GRN | 512 | Right Front Low Level Audio Signal (+) | ||||||||
C5 | ORN | 640 | Battery Positive Voltage | C5 | ORN | 640 | Battery Positive Voltage | ||||||||
C6 | BLK | 1946 | Right Rear Low Level Audio Signal (-) | C6 | BLK | 1946 | Right Rear Low Level Audio Signal (-) | ||||||||
C7 | ORN/BLK | 1546 | Front Low Level Audio Signal (-) | C7 | ORN/BLK | 1546 | Front Low Level Audio Signal (-) | ||||||||
C8 | BRN | 599 | Left Rear Low Level Audio Signal (+) | C8 | BRN | 599 | Left Rear Low Level Audio Signal (+) | ||||||||
C9 | DK GRN /WHT | 1547 | Rear Low Level Audio Signal (-) | C9 | DK GRN /WHT | 1547 | Rear Low Level Audio Signal (-) | ||||||||
C10 | BRN | 199 | Left Rear Speaker Output (+) | C10 | BRN | 199 | Left Rear Speaker Output (+) | ||||||||
C11 | DK BLU | 546 | Right Rear Low Level Audio Signal (+) | C11 | DK BLU | 546 | Right Rear Low Level Audio Signal (+) | ||||||||
C12 | LT GRN | 200 | Right Front Speaker Output (+) | C12 | LT GRN | 200 | Right Front Speaker Output (+) | ||||||||
D1 | DK GRN | 117 | Right Front Speaker Output (-) | D1 | DK GRN | 117 | Right Front Speaker Output (-) | ||||||||
D2 | YEL | 116 | Left Rear Speaker Output (-) | D2 | LT GRN | 116 | Left Rear Speaker Output (-) | ||||||||
D3 | BRN/WHT | 230 | Instrument Panel Lamps Dimming Control | D3 | BRN/WHT | 230 | Instrument Panel Lamps Dimming Control | ||||||||
D4 | BARE | 2011 | Drain Wire | D4 | BARE | 2011 | Drain Wire | ||||||||
D5 | BLK/WHT | 1851 | Ground | D5 | BLK/WHT | 1851 | Ground | ||||||||
D6 | ORN | 340 | Battery Positive Voltage (UK6) | D6 | ORN | 340 | Battery Positive Voltage (UK6) | ||||||||
D7 | DK BLU | 46 | Right Rear Speaker Output (+) | D7 | DK BLU | 46 | Right Rear Speaker Output (+) | ||||||||
D8 | LT BLU | 115 | Right Rear Speaker Output (-) | D8 | LT BLU | 115 | Right Rear Speaker Output (-) | ||||||||
|
| ||||||||||||||
|---|---|---|---|---|---|---|---|---|---|---|---|---|---|---|---|
Connector Part Information |
| Connector Part Information |
| ||||||||||||
Pin | Wire Color | Circuit No. | Function | Pin | Wire Color | Circuit No. | Function | ||||||||
A | WHT | 1185 | Power Window Relay Left Rear Up Control (YE9) | A | WHT | 1185 | Power Window Relay Left Rear Up Control (YE9) | ||||||||
B | YEL | 1187 | Power Window Relay Left Rear Down Control (YE9) | B | YEL | 1187 | Power Window Relay Left Rear Down Control (YE9) | ||||||||
C | LT BLU | 2265 | Power Window Lockout Left Rear Control (YE9) | C | LT BLU | 2265 | Power Window Lockout Left Rear Control (YE9) | ||||||||
D | -- | -- | Not Used | D | -- | -- | Not Used | ||||||||
E | BRN/WHT | 230 | Instrument Panel Lamps Dimming Control (YE9) | E | BRN/WHT | 230 | Instrument Panel Lamps Dimming Control (YE9) | ||||||||
F | BLK | 1150 | Ground (YE9) | F | BLK | 1150 | Ground (YE9) | ||||||||
G | ORN | 1240 | Battery Positive Voltage (YE9) | G | ORN | 1240 | Battery Positive Voltage (YE9) | ||||||||
H | LT BLU/ BLK | 747 | Left Rear Door Ajar Switch Signal | H | LT BLU/ BLK | 747 | Left Rear Door Ajar Switch Signal | ||||||||
J | -- | -- | Not Used | J | -- | -- | Not Used | ||||||||
K | YEL | 116 | Left Rear Speaker Output (-) | K | YEL | 116 | Left Rear Speaker Output (-) | ||||||||
L | BRN | 199 | Left Rear Speaker Output (+) | L | BRN | 199 | Left Rear Speaker Output (+) | ||||||||
M | BLK | 1150 | Ground | M | BLK | 1150 | Ground | ||||||||
N | TAN | 294 | Door Lock Actuator Unlock Control | N | TAN | 294 | Door Lock Actuator Unlock Control | ||||||||
P | GRY | 295 | Door Lock Actuator Lock Control | P | GRY | 295 | Door Lock Actuator Lock Control | ||||||||
R-T | -- | -- | Not Used | R-T | -- | -- | Not Used | ||||||||
|
| ||||||||||||||
|---|---|---|---|---|---|---|---|---|---|---|---|---|---|---|---|
Connector Part Information |
| Connector Part Information |
| ||||||||||||
Pin | Wire Color | Wire Color | Function | Pin | Wire Color | Circuit No. | Function | ||||||||
1 | BLK | 1150 | Ground | 1 | BLK | 1150 | Ground | ||||||||
2 | DK BLU | 611 | Drivers Seat Lumbar Motor Forward Control | 2 | DK BLU | 611 | Drivers Seat Lumbar Motor Forward Control | ||||||||
3-5 | -- | -- | Not Used | 3-5 | -- | -- | Not Used | ||||||||
6 | DK BLU | 2479 | Passenger Heated Seat Element Supply Voltage(KA1) | 6 | DK BLU | 2479 | Passenger Heated Seat Element Supply Voltage (KA1) | ||||||||
DK BLU | 2479 | Passenger Heated Seat Element Supply Voltage (KA1) | |||||||||||||
7 | ORN | 1440 | Battery Positive Voltage | 7 | ORN | 1440 | Battery Positive Voltage | ||||||||
8 | PPL | 1258 | Driver Seat Torso Bolster Out Control | 8 | PPL | 1258 | Driver Seat Torso Bolster Out Control | ||||||||
9 | YEL | 1257 | Driver Seat Torso Bolster In Control | 9 | YEL | 1257 | Driver Head Rest Motor Up Control | ||||||||
10 | -- | -- | Not Used | 10 | -- | -- | Not Used | ||||||||
11 | PNK | 610 | Driver Seat Lumbar Motor Rearward Control | 11 | PNK | 610 | Driver Seat Lumbar Motor Rearward Control | ||||||||
12 | PNK | 2480 | Passenger Heated Seat Cushion Element Control (KA1) | 12 | PNK | 2480 | Passenger Heated Seat Cushion Element Control (KA1) | ||||||||
13 | LT BLU | 2433 | Passenger Heated Seat Back Element Control (KA1) | 13 | LT BLU | 2433 | Passenger Heated Seat Back Element Control (KA1) | ||||||||
|
| ||||||||||||||
|---|---|---|---|---|---|---|---|---|---|---|---|---|---|---|---|
Connector Part Information |
| Connector Part Information |
| ||||||||||||
Pin | Wire Color | Circuit No. | Function | Pin | Wire Color | Circuit No. | Function | ||||||||
1 | WHT | 940 | 12-Volt Reference | 1 | WHT | 940 | 12-Volt Reference | ||||||||
2 | LT BLU | 2751 | Low Reference | 2 | LT BLU | 2751 | Low Reference | ||||||||
3 | YEL | 1063 | Driver Seat Lumbar Horizontal Position Sensor Signal | 3 | YEL | 1063 | Driver Seat Lumbar Horizontal Position Sensor Signal | ||||||||
4 | PPL | 5700 | Drivers Seat Torso Bolster Position Sensor Signal | 4 | PPL | 5700 | Drivers Seat Torso Bolster Position Sensor Signal | ||||||||
5 | -- | -- | Not Used | 5 | -- | -- | Not Used | ||||||||
6 | BRN/WHT | 718 | Low Reference | 6 | BRN/WHT | 718 | Low Reference | ||||||||
7 | ORN | 1540 | Battery Positive Voltage | 7 | ORN | 1540 | Battery Positive Voltage | ||||||||
8 | BRN/WHT | 1048 | Class 2 Serial Data | 8 | BRN/WHT | 1048 | Class 2 Serial Data | ||||||||
9 | DK GRN | 1518 | Power Seat Front Vertical Up Switch Signal | 9 | DK GRN | 1518 | Power Seat Front Vertical Up Switch Signal | ||||||||
10 | DK BLU | 1520 | Power Seat Front Vertical Down Switch Signal | 10 | DK BLU | 1520 | Power Seat Front Vertical Down Switch Signal | ||||||||
11 | GRY/BLK | 1269 | Power Seat Recline Forward Switch Signal | 11 | GRY/BLK | 1269 | Power Seat Recline Forward Switch Signal | ||||||||
12 | DK GRN /WHT | 1270 | Power Seat Recline Rearward Switch Signal | 12 | DK GRN /WHT | 1270 | Power Seat Recline Rearward Switch Signal | ||||||||
13 | LT GRN | 1523 | Power Seat Horizontal Rearward Switch Signal | 13 | LT GRN | 1523 | Power Seat Horizontal Rearward Switch Signal | ||||||||
14 | TAN | 1522 | Power Seat Horizontal Forward Switch Signal | 14 | TAN | 1522 | Power Seat Horizontal Forward Switch Signal | ||||||||
15 | YEL | 2407 | Driver Seat Lumbar Motor Forward Switch Signal | 15 | YEL | 2407 | Driver Seat Lumbar Motor Forward Switch Signal | ||||||||
16 | TAN | 2408 | Driver Seat Lumbar Rearward Control | 16 | TAN | 2408 | Driver Seat Lumbar Rearward Control | ||||||||
17-18 | -- | -- | Not Used | 17-18 | -- | -- | Not Used | ||||||||
19 | LT BLU | 1521 | Power Seat Rear Vertical Down Switch Signal | 19 | LT BLU | 1521 | Power Seat Rear Vertical Down Switch Signal | ||||||||
20 | YEL | 1519 | Power Seat Rear Vertical Up Switch Signal | 20 | YEL | 1519 | Power Seat Rear Vertical Up Switch Signal | ||||||||
21 | WHT/RED | 5701 | Drivers Seat Torso Bolster In Switch Signal | 21 | WHT/RED | 5701 | Drivers Seat Torso Bolster In Switch Signal | ||||||||
22 | GRY/RED | 5702 | Drivers Seat Torso Bolster Out Switch Signal | 22 | GRY/RED | 5702 | Drivers Seat Torso Bolster Out Switch Signal | ||||||||
23 | DK BLU | 5475 | Front Passenger Heated Seat Back Temperature Signal (KA1) | 23 | DK BLU | 5475 | Front Passenger Heated Seat Back Temperature Signal (KA1) | ||||||||
24 | WHT | 1985 | 5-Volt Reference | 24 | WHT | 1985 | 5-Volt Reference | ||||||||
|
| ||||||||||||||
|---|---|---|---|---|---|---|---|---|---|---|---|---|---|---|---|
Connector Part Information |
| Connector Part Information |
| ||||||||||||
Pin | Wire Color | Circuit No. | Function | Pin | Wire Color | Circuit No. | Function | ||||||||
A | DK BLU | 569 | Horizontal Seat Motor Position Sensor Signal | A | DK GRN | 569 | Horizontal Seat Motor Position Sensor Signal | ||||||||
B | RED | 940 | 12-Volt Reference | B | WHT | 940 | 12-Volt Reference | ||||||||
C | BLK | 718 | Low Reference | C | BRN/WHT | 718 | Low Reference | ||||||||
D | DK BLU | 557 | Front Vertical Seat Motor Position Sensor Signal | D | BRN/WHT | 557 | Front Vertical Seat Motor Position Sensor Signal | ||||||||
E | RED | 940 | 12-Volt Reference | E | WHT | 940 | 12-Volt Reference | ||||||||
F | BLK | 718 | Low Reference | F | BRN/WHT | 718 | Low Reference | ||||||||
G | DK BLU | 568 | Rear Vertical Seat Motor Position Sensor Signal | G | TAN | 568 | Rear Vertical Seat Motor Position Sensor Signal | ||||||||
H | RED | 940 | 12-Volt Reference | H | WHT | 940 | 12-Volt Reference | ||||||||
J | BLK | 718 | Low Reference | J | BRN/WHT | 718 | Low Reference | ||||||||
K | -- | -- | Not Used | K | -- | -- | Not Used | ||||||||
|
| ||||||||||||||
|---|---|---|---|---|---|---|---|---|---|---|---|---|---|---|---|
Connector Part Information |
| Connector Part Information |
| ||||||||||||
Pin | Wire Color | Circuit No. | Function | Pin | Wire Color | Circuit No. | Function | ||||||||
A | BLK | 283 | Driver Seat Rear Vertical Motor Down Control | A | LT BLU | 283 | Driver Seat Rear Vertical Motor Down Control | ||||||||
B | RED | 282 | Driver Seat Rear Vertical Motor Up Control | B | YEL | 282 | Driver Seat Rear Vertical Motor Up Control | ||||||||
C | BLK | 285 | Driver Seat Horizontal Motor Forward Control | C | TAN | 285 | Driver Seat Horizontal Motor Forward Control | ||||||||
D | RED | 284 | Driver Seat Horizontal Motor Rearward Control | D | LT GRN | 284 | Driver Seat Horizontal Motor Rearward Control | ||||||||
E | BLK | 287 | Driver Seat Front Vertical Motor Down Control | E | DK BLU | 287 | Driver Seat Front Vertical Motor Down Control | ||||||||
F | RED | 286 | Driver Seat Front Vertical Motor Up Control | F | DK GRN | 286 | Driver Seat Front Vertical Motor Up Control | ||||||||
|
| ||||||||||||||
|---|---|---|---|---|---|---|---|---|---|---|---|---|---|---|---|
Connector Part Information |
| Connector Part Information |
| ||||||||||||
Pin | Wire Color | Circuit No. | Function | Pin | Wire Color | Circuit No. | Function | ||||||||
A | PPL/WHT | 611 | Driver Seat Lumbar Motor Forward Control | A | DK BLU | 611 | Driver Seat Lumbar Motor Forward Control | ||||||||
B | LT BLU | 1063 | Driver Seat Lumbar Horizontal Position Sensor Signal | B | YEL/BLK | 1063 | Driver Seat Lumbar Horizontal Position Sensor Signal | ||||||||
C | BRN | 940 | 12-Volt Reference | C | WHT | 940 | 12-Volt Reference | ||||||||
C | BRN | 940 | 12-Volt Reference | ||||||||||||
D | TAN/WHT | 1258 | Driver Seat Torso Bolster Out Control | D | PPL | 1258 | Driver Seat Torso Bolster Out Control | ||||||||
E | PNK/BLK | 1257 | Driver Seat Torso Bolster In Control | E | YEL | 1257 | Driver Seat Torso Bolster In Control | ||||||||
F | DK BLU/WHT | 718 | Low Reference | F | BRN/WHT | 718 | Low Reference | ||||||||
F | DK BLU/WHT | 718 | Low Reference | ||||||||||||
G | PPL/WHT | 5700 | Drivers Seat Torso Bolster Position Sensor Signal | G | PPL | 5700 | Drivers Seat Torso Bolster Position Sensor Signal | ||||||||
H | DK BLU/WHT | 610 | Driver Seat Lumbar Motor Rearward Control | H | PNK | 610 | Driver Seat Lumbar Motor Rearward Control | ||||||||
|
| ||||||||||||||
|---|---|---|---|---|---|---|---|---|---|---|---|---|---|---|---|
Connector Part Information |
| Connector Part Information |
| ||||||||||||
Pin | Wire Color | Circuit No. | Function | Pin | Wire Color | Circuit No. | Function | ||||||||
A | BRN | 2077 | Heated Seat Cushion Element Supply Voltage | A | RED/WHT | 2077 | Heated Seat Cushion Element Supply Voltage | ||||||||
B | BLK/RED | 2425 | Driver Heated Seat Back Temperature Sensor Signal | B | DK BLU | 2425 | Driver Heated Seat Back Temperature Sensor Signal | ||||||||
C | YEL | 2432 | Driver Heated Seat Back Element Supply Voltage | C | BRN | 2432 | Driver Heated Seat Back Element Supply Voltage | ||||||||
D | BLK | 2424 | Driver Heated Seat Back Element Control | D | PPL | 2424 | Driver Heated Seat Back Element Control | ||||||||
E | BLK/RED | 2426 | Low Reference | E | PNK | 2751 | Low Reference | ||||||||
F | BLK | 2078 | Heated Seat Cushion Element Control | F | LT GRN | 2078 | Heated Seat Cushion Element Control | ||||||||
|
| ||||||||||||||
|---|---|---|---|---|---|---|---|---|---|---|---|---|---|---|---|
Connector Part Information |
| Connector Part Information |
| ||||||||||||
Pin | Wire Color | Circuit No. | Function | Pin | Wire Color | Circuit No. | Function | ||||||||
A | BRN | 2479 | Passenger Heated Seat Element Supply Voltage | A | DK BLU | 2479 | Passenger Heated Seat Element Supply Voltage | ||||||||
B | BLK/RED | 5475 | Front Passenger Heated Seat Back Temperature Signal | B | DK BLU | 5475 | Front Passenger Heated Seat Back Temperature Signal | ||||||||
C | YEL | 2479 | Passenger Heated Seat Element Supply Voltage | C | DK BLU | 2479 | Passenger Heated Seat Element Supply Voltage | ||||||||
D | BLK | 2433 | Passenger Heated Seat Back Element Control | D | LT BLU | 2433 | Passenger Heated Seat Back Element Control | ||||||||
E | BLK/RED | 5476 | Low Reference | E | LT BLU | 5476 | Low Reference | ||||||||
F | BLK | 2480 | Passenger Heated Seat Cushion Element Control | F | PNK | 2480 | Passenger Heated Seat Cushion Element Control | ||||||||
|
| ||||||||||||||
|---|---|---|---|---|---|---|---|---|---|---|---|---|---|---|---|
Connector Part Information |
| Connector Part Information |
| ||||||||||||
Pin | Wire Color | Circuit No. | Function | Pin | Wire Color | Circuit No. | Function | ||||||||
A | DK BLU | 211 | Passenger Seat Lumbar Motor Forward Control | A | DK BLU | 211 | Passenger Seat Lumbar Motor Forward Control | ||||||||
B | WHT | 210 | Passenger Seat Lumbar Motor Rearward Control | B | WHT | 210 | Passenger Seat Lumbar Motor Rearward Control | ||||||||
C | ORN | 2462 | Passenger Torso Bolster Out Control | C | DK BLU | 2462 | Passenger Torso Bolster Out Control | ||||||||
D | PNK | 2427 | Passenger Torso Bolster In Control | D | LT BLU | 2427 | Passenger Torso Bolster In Control | ||||||||
|
| ||||||||||||||
|---|---|---|---|---|---|---|---|---|---|---|---|---|---|---|---|
Connector Part Information |
| Connector Part Information |
| ||||||||||||
Pin | Wire Color | Circuit No. | Function | Pin | Wire Color | Circuit No. | Function | ||||||||
A | TAN/BLK | 371 | I/P Module Disable Switch - Signal | A | TAN/BLK | 371 | I/P Module Disable Switch - Signal | ||||||||
B | PNK | 353 | I/P Module Supression Indicator Control | B | PNK | 353 | I/P Module Supression Indicator Control | ||||||||
|
| ||||||||||||||
|---|---|---|---|---|---|---|---|---|---|---|---|---|---|---|---|
Connector Part Information |
| Connector Part Information |
| ||||||||||||
Pin | Wire Color | Circuit No. | Function | Pin | Wire Color | Circuit No. | Function | ||||||||
1 | TAN/WHT | 2500 | High Speed GMLAN Serial Data Bus+ | 1 | WHT | 2500 | High Speed GMLAN Serial Data Bus+ | ||||||||
2 | TAN | 2501 | High Speed GMLAN Serial Data Bus- | 2 | WHT | 2501 | High Speed GMLAN Serial Data Bus- | ||||||||
3 | ORN | 2740 | Battery Positive Voltage | 3 | WHT | 2740 | Battery Positive Voltage | ||||||||
4-6 | -- | -- | Not Used | 4-6 | -- | -- | Not Used | ||||||||
7 | PNK | 1939 | Ignition 1 Voltage | 7 | WHT | 1939 | Ignition 1 Voltage | ||||||||
8 | PNK | 1020 | Ignition 0 Voltage | 8 | WHT | 1020 | Ignition 0 Voltage | ||||||||
|
| ||||||||||||||
|---|---|---|---|---|---|---|---|---|---|---|---|---|---|---|---|
Connector Part Information |
| Connector Part Information |
| ||||||||||||
Pin | Wire Color | Circuit No. | Function | Pin | Wire Color | Circuit No. | Function | ||||||||
A | RED | 5084 | High Voltage Battery (+) | A | BLK | 5084 | High Voltage Battery (+) | ||||||||
B | BLK | 5691 | High Voltage Battery (-) | B | BLK | 5691 | High Voltage Battery (-) | ||||||||
|
| ||||||||||||||
|---|---|---|---|---|---|---|---|---|---|---|---|---|---|---|---|
Connector Part Information |
| Connector Part Information |
| ||||||||||||
Pin | Wire Color | Circuit No. | Function | Pin | Wire Color | Circuit No. | Function | ||||||||
1 | PPL/WHT | 821 | VSS High Signal | A | PPL/WHT | 821 | VSS High Signal | ||||||||
2 | LT GRN/BLK | 822 | VSS Low Signal | B | LT GRN/BLK | 822 | VSS Low Signal | ||||||||
|
| ||||||||||||||
|---|---|---|---|---|---|---|---|---|---|---|---|---|---|---|---|
Connector Part Information |
| Connector Part Information |
| ||||||||||||
Pin | Wire Color | Circuit No. | Function | Pin | Wire Color | Circuit No. | Function | ||||||||
A | BLK | 289 | Passenger Seat Rear Vertical Motor Down Control | A | LT BLU | 289 | Passenger Seat Rear Vertical Motor Down Control | ||||||||
B | RED | 288 | Passenger Seat Rear Vertical Motor Up Control | B | YEL | 288 | Passenger Seat Rear Vertical Motor Up Control | ||||||||
C | BLK | 290 | Passenger Seat Horizontal Motor Rearward Control | C | LT GRN | 290 | Passenger Seat Horizontal Motor Rearward Control | ||||||||
D | RED | 296 | Passenger Seat Horizontal Motor Forward Control | D | TAN | 296 | Passenger Seat Horizontal Motor Forward Control | ||||||||
E | BLK | 298 | Passenger Seat Front Vertical Motor Down Control | E | DK BLU | 298 | Passenger Seat Front Vertical Motor Down Control | ||||||||
F | RED | 297 | Passenger Seat Front Vertical Motor Up Control | F | DK GRN | 297 | Passenger Seat Front Vertical Motor Up Control | ||||||||
|
| ||||||||||||||
|---|---|---|---|---|---|---|---|---|---|---|---|---|---|---|---|
Connector Part Information |
| Connector Part Information |
| ||||||||||||
Pin | Wire Color | Circuit No. | Function | Pin | Wire Color | Circuit No. | Function | ||||||||
A | GRY/BLK | 1186 | Power Window Relay Right Rear Up Control (YE9) | A | WHT | 1185 | Power Window Relay Right Rear Up Control (YE9) | ||||||||
B | DK GRN | 1188 | Power Window Relay Left Rear Up Control (YE9) | B | YEL | 1187 | Power Window Relay Left Rear Up Control (YE9) | ||||||||
C | LT GRN | 2266 | Power Window Lockout Right Rear Control (YE9) | C | LT BLU | 2265 | Power Window Lockout Right Rear Control (YE9) | ||||||||
D | -- | -- | Not Used | D | -- | -- | Not Used | ||||||||
E | BRN/WHT | 230 | Instrument Panel Lamps Dimming Control (YE9) | E | BRN/WHT | 230 | Instrument Panel Lamps Dimming Control (YE9) | ||||||||
F | BLK | 1250 | Ground (YE9) | F | BLK | 1150 | Ground (YE9) | ||||||||
G | ORN | 1340 | Battery Positive Voltage (YE9) | G | ORN | 1240 | Battery Positive Voltage (YE9) | ||||||||
H | LT GRN/BLK | 748 | Right Rear Door Ajar Switch Signal | H | LT BLU/BLK | 747 | Right Rear Door Ajar Switch Signal | ||||||||
J | -- | -- | Not Used | J | -- | -- | Not Used | ||||||||
K | LT BLU | 115 | Right Rear Speaker Output (-) | K | YEL | 116 | Right Rear Speaker Output (-) | ||||||||
L | DK BLU | 46 | Right Rear Speaker Output (+) | L | BRN | 199 | Right Rear Speaker Output (+) | ||||||||
M | BLK | 1250 | Ground | M | BLK | 1150 | Ground | ||||||||
N | TAN | 294 | Door Lock Actuator Unlock Control | N | TAN | 294 | Door Lock Actuator Unlock Control | ||||||||
P | GRY | 295 | Door Lock Actuator Lock Control | P | GRY | 295 | Door Lock Actuator Lock Control | ||||||||
R-T | -- | -- | Not Used | R-T | -- | -- | Not Used | ||||||||
|
| ||||||||||||||
|---|---|---|---|---|---|---|---|---|---|---|---|---|---|---|---|
Connector Part Information |
| Connector Part Information |
| ||||||||||||
Pin | Wire Color | Circuit No. | Function | Pin | Wire Color | Circuit No. | Function | ||||||||
A | ORN | 1440 | Battery Positive Voltage (AG2) | A | ORN | 1440 | Battery Positive Voltage (AG2) | ||||||||
B | PNK | 2480 | Passenger Heated Seat Cushion Element Control (KA1) | B | PNK | 2480 | Passenger Heated Seat Cushion Element Control (KA1) | ||||||||
C | LT BLU | 2433 | Passenger Heated Seat Back Element Control (KA1) | C | LT BLU | 2433 | Passenger Heated Seat Back Element Control (KA1) | ||||||||
D | -- | -- | Not Used | D | -- | -- | Not Used | ||||||||
E | ORN | 1362 | Seat Belt Switch - Right - Signal (AL0) | E | ORN | 1362 | Seat Belt Switch - Right - Signal (AL0) | ||||||||
F | LT BLU | 5056 | Seat Position Switch - Right - Signal (AL0) | F | LT BLU | 5056 | Seat Position Switch - Right - Signal (AL0) | ||||||||
G | DK BLU | 5475 | Front Passenger Heated Seat Back Element Control (KA1) | G | DK BLU | 5475 | Front Passenger Heated Seat Back Element Control (KA1) | ||||||||
H | DK BLU | 2479 | Passenger Seat Heater Element Supply Voltage (KA1) | H | DK BLU | 2479 | Passenger Seat Heater Element Supply Voltage (KA1) | ||||||||
H | DK BLU | 2479 | Passenger Seat Heater Element Supply Voltage (KA1) | ||||||||||||
J | DK BLU | 1363 | Seat Belt Indicator Control (w/o AL0) | J | YEL | 234 | Seat Belt Indicator Control (AL0) | ||||||||
J | YEL | 234 | Seat Belt Indicator Control (AL0) | ||||||||||||
K | PNK | 2306 | Class 2 Serial Data (w/o AL0) | K | PNK | 2306 | Class 2 Serial Data (w/o AL0) | ||||||||
L | DK BLU | 2307 | Passenger Air Bag On Indicator Control (AL0) | M | DK BLU | 2307 | Passenger Air Bag On Indicator Control (AL0) | ||||||||
M | DK GRN | 2308 | Passenger Air Bag Off Indicator Control (AL0) | L | DK GRN | 2308 | Passenger Air Bag Off Indicator Control (AL0) | ||||||||
N | PNK | 1139 | Ignition 1 Voltage (AL0) | N | PNK | 1139 | Ignition 1 Voltage (AL0) | ||||||||
P | BLK | 2351 | Ground (AL0) | P | BLK | 2351 | Ground (AL0) | ||||||||
R | LT BLU | 5476 | Low Reference | R | LT BLU | 5476 | Low Reference | ||||||||
S | BLK | 1250 | Ground | S | BLK | 1250 | Ground | ||||||||
|
| ||||||||||||||
|---|---|---|---|---|---|---|---|---|---|---|---|---|---|---|---|
Connector Part Information |
| Connector Part Information |
| ||||||||||||
Pin | Wire Color | Circuit No. | Function | Pin | Wire Color | Circuit No. | Function | ||||||||
A | BRN/WHT | 2609 | Park Lamps Supply Voltage | A | BRN/WHT | 2609 | Park Lamps Supply Voltage | ||||||||
B | BLK | 1750 | Ground | B | BLK | 1750 | Ground | ||||||||
|
| ||||||||||||||
|---|---|---|---|---|---|---|---|---|---|---|---|---|---|---|---|
Connector Part Information |
| Connector Part Information |
| ||||||||||||
Pin | Wire Color | Circuit No. | Function | Pin | Wire Color | Circuit No. | Function | ||||||||
A | BRN | 2509 | Park Lamps Supply Voltage | A | BRN | 2509 | Park Lamps Supply Voltage | ||||||||
B | BLK | 1750 | Ground | B | BLK | 1750 | Ground | ||||||||
|
| ||||||||||||||
|---|---|---|---|---|---|---|---|---|---|---|---|---|---|---|---|
Connector Part Information |
| Connector Part Information |
| ||||||||||||
Pin | Wire Color | Circuit No. | Function | Pin | Wire Color | Circuit No. | Function | ||||||||
A | RED | 122 | Rear Fog Lamps Supply Voltage | A | RED | 122 | Rear Fog Lamps Supply Voltage | ||||||||
B | BLK | 2250 | Ground | B | BLK | 2250 | Ground | ||||||||
|
| ||||||||||||||
|---|---|---|---|---|---|---|---|---|---|---|---|---|---|---|---|
Connector Part Information |
| Connector Part Information |
| ||||||||||||
Pin | Wire Color | Circuit No. | Function | Pin | Wire Color | Circuit No. | Function | ||||||||
A | RED | 122 | Rear Fog Lamps Supply Voltage | A | RED | 122 | Rear Fog Lamps Supply Voltage | ||||||||
B | BLK | 2250 | Ground | B | BLK | 2250 | Ground | ||||||||