GM Service Manual Online
For 1990-2009 cars only
Table 1: Accelerator Pedal Position (APP) Sensor
Table 2: BARO Sensor
Table 3: Boost Pressure Sensor
Table 4: Camshaft Position (CMP) Sensor
Table 5: Crankshaft Position (CKP) Sensor
Table 6: Engine Coolant Temperature (ECT) Sensor
Table 7: Exhaust Gas Recirculation (EGR) Valve
Table 8: Fuel Heater
Table 9: Fuel Injection Control Module (FICM) Connector - C1
Table 10: Fuel Injection Control Module (FICM) Connector - C2
Table 11: Fuel Injector 1
Table 12: Fuel Injector 2
Table 13: Fuel Injector 3
Table 14: Fuel Injector 4
Table 15: Fuel Injector 5
Table 16: Fuel Injector 6
Table 17: Fuel Injector 7
Table 18: Fuel Injector 8
Table 19: Fuel Pressure Regulator
Table 20: Fuel Pressure Sensor
Table 21: Fuel Pump w/Dual Tanks
Table 22: Fuel Temperature Sensor
Table 23: Glow Plug Controller - C1
Table 24: Glow Plug Controller - C2
Table 25: Intake Air Temperature (IAT)/Mass Air Flow (MAF) Sensor
Table 26: Turbocharger Vane Position Control Solenoid Valve
Table 27: Turbocharger Vane Position Sensor

Accelerator Pedal Position (APP) Sensor


Object Number: 366097  Size: CH

Connector Part Information

    • 15318071
    • 10-Way F Metri-Pack 150 Series (GRY)

Pin

Wire Color

Circuit No.

Function

A

GRY

1273

Low Reference

B

PPL

1272

Low Reference

C

LT BLU

1162

APP Sensor 2 Signal

D

TAN

1274

5-Volt Reference

E

BRN

1271

Low Reference

F

DK BLU

1161

APP Sensor 1 Signal

G

WHT/BLK

1164

5-Volt Reference

H

--

--

Not Used

J

YEL/BLK

1275

5-Volt Reference

K

DK GRN

1163

APP Sensor 3 Signal

BARO Sensor


Object Number: 684840  Size: CH

Connector Part Information

    • 12129946
    • 3-Way F M/P 150 Series Sealed (GRY)

Pin

Wire Color

Circuit No.

Function

A

ORN/BLK

1057

Low Reference

B

GRY/BLK

433

BARO Sensor Signal

C

WHT/BLK

2932

5-Volt Reference

Boost Pressure Sensor


Object Number: 684840  Size: CH

Connector Part Information

    • 12129946
    • 3-Way F Sealed (GRY)

Pin

Wire Color

Circuit No.

Function

A

ORN/BLK

469

Low Reference

B

LT GRN

432

Turbocharger Boost Sensor Signal

C

GRY

597

5-Volt Reference

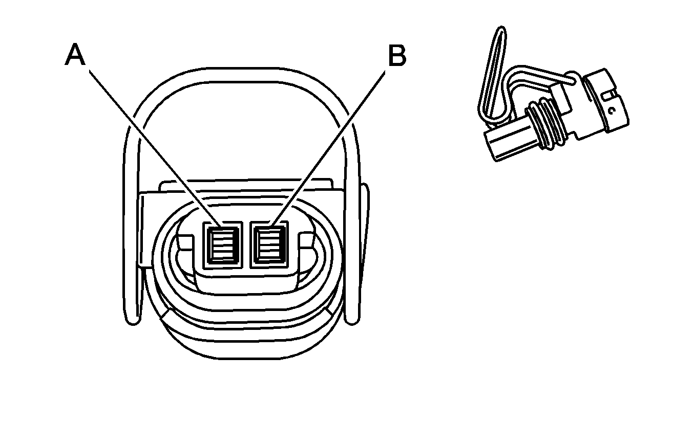
Camshaft Position (CMP) Sensor


Object Number: 1366572  Size: CH

Connector Part Information

    • 6248-5317
    • 3-Way F Sealed (GRY)

Pin

Wire Color

Circuit No.

Function

1

BRN/WHT

633

CMP Sensor Signal

2

PNK/BLK

632

Low Reference

3

RED

631

5-Volt Reference

Crankshaft Position (CKP) Sensor


Object Number: 1366572  Size: CH

Connector Part Information

    • 6248-5317
    • 3-Way F Sealed (GRY)

Pin

Wire Color

Circuit No.

Function

1

DK BLU/WHT

1869

CKP Sensor Signal

2

YEL/BLK

1868

Low Reference

3

LT GRN

1867

12-Volt Reference

Engine Coolant Temperature (ECT) Sensor


Object Number: 655692  Size: CH

Connector Part Information

    • 12162192
    • 2-Way Metri-Pack 150.2 Series, Sealed, Pull To Seat (BLK)

Pin

Wire Color

Circuit No.

Function

A

GRY

720

Low Reference

B

YEL

410

ECT Sensor Signal

Exhaust Gas Recirculation (EGR) Valve


Object Number: 1366573  Size: CH

Connector Part Information

    • 6195-0021
    • 6-Way F DL Series Sealed (GRY)

Pin

Wire Color

Circuit No.

Function

A

PPL

2703

5-Volt Reference

B

YEL/BLK

2754

Low Reference

C

DK BLU/WHT

5763

EGR Valve Position Signal

D

PNK

5764

EGR Motor High Control

E

--

--

Not Used

F

WHT

5746

EGR Motor Low Control

Fuel Heater


Object Number: 903274  Size: CH

Connector Part Information

    • 7118-3320-30
    • 2-Way F Sealed (BLK)

Pin

Wire Color

Circuit No.

Function

1

PNK

239

Ignition 1 Voltage

2

BLK

50

Ground

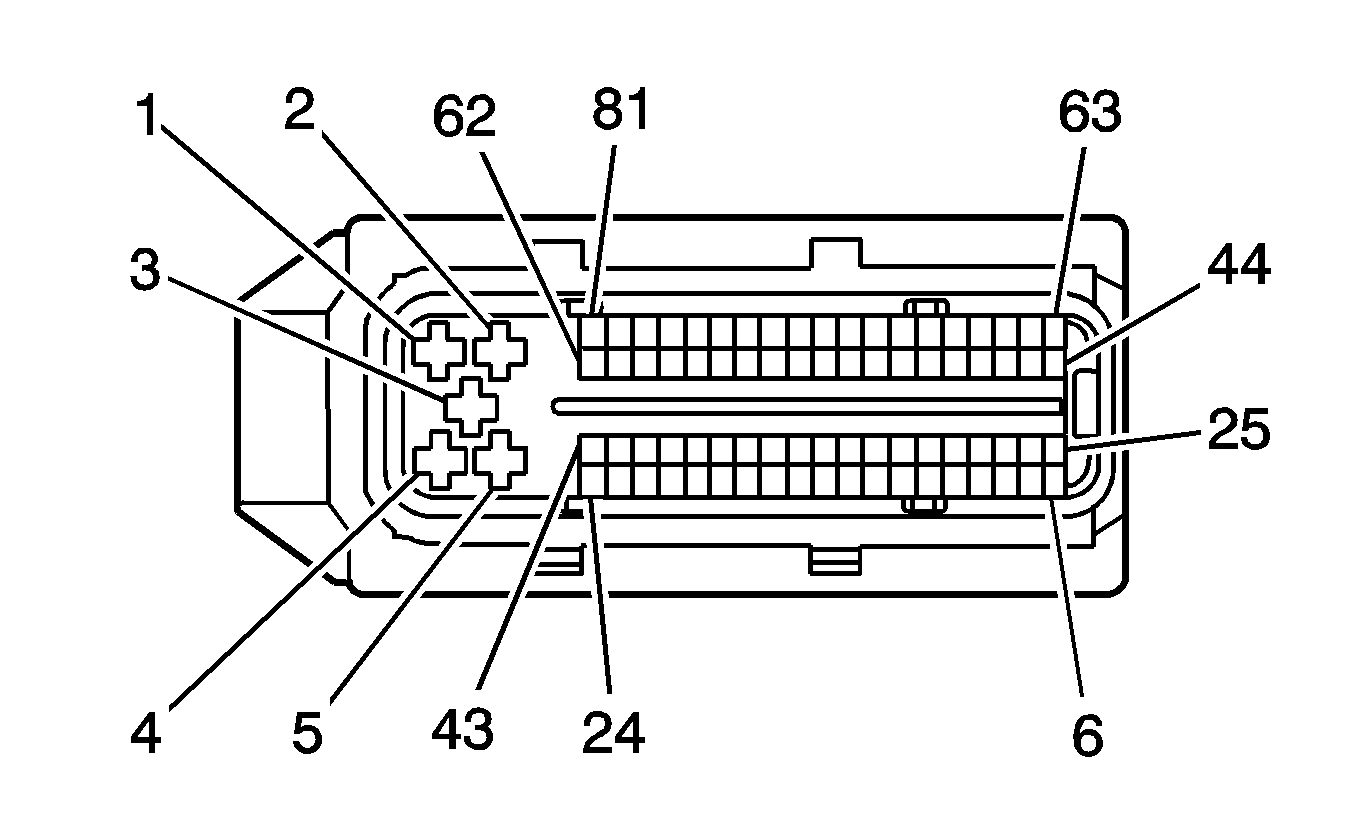
Fuel Injection Control Module (FICM) Connector - C1


Object Number: 743315  Size: CH

Connector Part Information

    • 1928403454
    • 81-Way F Bosch Series (BLK)

Pin

Wire Color

Circuit No.

Function

1

WHT/LT GRN

IC18

Fuel Injector 4 Command

2

YEL/BLK

IZ17

Ground

3

ORN

IC13

Injector Supply Voltage

4

RED/LT GRN

IC15

Fuel Injector 1 Command

5

PNK

339

Ignition 1 Voltage

6-43

--

--

Not Used

44

LT BLU/BLK

844

Fuel Injector 4 Control

45

BLK/WHT

845

Fuel Injector 5 Control

46

--

--

Not Used

47

PNK/BLK

1746

Fuel Injector 3 Control

48

RED/BLK

877

Fuel Injector 7 Control

49-58

--

--

Not Used

59

DK BLU/WHT

IC20

Fuel Injector 6 Command

60

DK BLU/WHT

IC520

Fuel Injector 6 Command

61

WHT/RED

IC21

Fuel Injector 7 Command

62

WHT/RED

IC521

Fuel Injector 7 Command

63

DK BLU/WHT

878

Fuel Injector 8 Control

64

YEL/BLK

846

Fuel Injector 6 Control

65

--

--

Not Used

66

BLK

1744

Fuel Injector 1 Control

67

LT GRN/BLK

1745

Fuel Injector 2 Control

68-81

--

--

Not Used

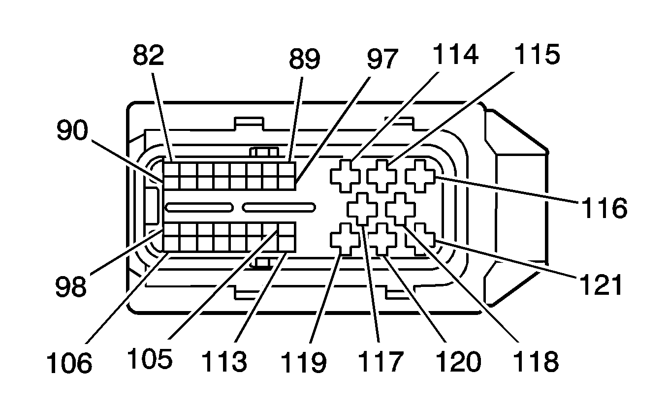
Fuel Injection Control Module (FICM) Connector - C2


Object Number: 743317  Size: CH

Connector Part Information

    • 1928403462
    • 40-Way F Bosch Series (BLK)

Pin

Wire Color

Circuit No.

Function

82-89

--

--

Not Used

90

DK GRN

2362

SAE J1939 Serial Data Bus -

91

YEL

2361

SAE J1939 Serial Data Bus +

92-93

--

--

Not Used

94

LT BLU

2832

Engine Speed Signal

95-113

--

--

Not Used

114

BLK/GRN

IZ18

Ground

115

WHT/LT BLU

IC17

Fuel Injector 3 Command

116

RED/LT GRN

IC19

Fuel Injector 5 Command

117

--

--

Not Used

118

RED/WHT

IC60

Injector Supply Voltage

119

PNK

339

Ignition 1 Voltage

120

WHT/GRN

IC22

Fuel Injector 8 Command

121

WHT/YEL

IC16

Fuel Injector 2 Command

Fuel Injector 1


Object Number: 784092  Size: CH

Connector Part Information

    • 1928403874
    • 2-Way F Sealed (BLK)

Pin

Wire Color

Circuit No.

Function

1

RED/LT GRN

IC15

Fuel Injector 1 Command

2

ORN

IC13

Injector Supply Voltage

Fuel Injector 2


Object Number: 784092  Size: CH

Connector Part Information

    • 1928403874
    • 2-Way F Sealed (BLK)

Pin

Wire Color

Circuit No.

Function

1

WHT/YEL

IC16

Fuel Injector 2 Command

2

RED/WHT

IC14

Injector Supply Voltage

Fuel Injector 3


Object Number: 784092  Size: CH

Connector Part Information

    • 1928403874
    • 2-Way F Sealed (BLK)

Pin

Wire Color

Circuit No.

Function

1

WHT/BLU

IC17

Fuel Injector 3 Command

2

RED/WHT

IC60

Injector Supply Voltage

Fuel Injector 4


Object Number: 784092  Size: CH

Connector Part Information

    • 1928403874
    • 2-Way F Sealed (BLK)

Pin

Wire Color

Circuit No.

Function

1

WHT/LT GRN

IC18

Fuel Injector 4 Command

2

ORN

IC62

Injector Supply Voltage

Fuel Injector 5


Object Number: 784092  Size: CH

Connector Part Information

    • 1928403874
    • 2-Way F Sealed (BLK)

Pin

Wire Color

Circuit No.

Function

1

RED/LT GRN

IC19

Fuel Injector 5 Command

2

RED/WHT

IC61

Injector Supply Voltage

Fuel Injector 6


Object Number: 784092  Size: CH

Connector Part Information

    • 1928403874
    • 2-Way F Sealed (BLK)

Pin

Wire Color

Circuit No.

Function

1

DK BLU/WHT

IC20

Fuel Injector 6 Command

2

ORN

IC64

Injector Supply Voltage

Fuel Injector 7


Object Number: 784092  Size: CH

Connector Part Information

    • 1928403874
    • 2-Way F Sealed (BLK)

Pin

Wire Color

Circuit No.

Function

1

WHT/RED

IC21

Fuel Injector 7 Command

2

ORN

IC63

Injector Supply Voltage

Fuel Injector 8


Object Number: 784092  Size: CH

Connector Part Information

    • 1928403874
    • 2-Way F Sealed (BLK)

Pin

Wire Color

Circuit No.

Function

1

WHT/GRN

IC22

Fuel Injector 8 Command

2

RED/WHT

IC65

Injector Supply Voltage

Fuel Pressure Regulator


Object Number: 784092  Size: CH

Connector Part Information

    • 1 928 403 874
    • 2-Way F Sealed (BLK)

Pin

Wire Color

Circuit No.

Function

1

PPL/WHT

2530

Fuel Pressure Regulator Solenoid Supply Voltage

2

YEL

2834

Fuel Pressure Solenoid Control

Fuel Pressure Sensor


Object Number: 1331443  Size: CH

Connector Part Information

    • 1 928 403 968
    • 3-Way F Sealed (BLK)

Pin

Wire Color

Circuit No.

Function

1

ORN/BLK

2919

Low Reference

2

YEL

2918

FRP Sensor Signal

3

TAN

2917

5-Volt Reference

Fuel Pump w/Dual Tanks


Object Number: 365945  Size: CH

Connector Part Information

    • 12059450
    • 2-Way M Metri-Pack 280 Series Sealed (BLK)

Pin

Wire Color

Circuit No.

Function

A

GRY

120

Fuel Pump Supply Voltage

B

BLK

1650

Ground (20 Series)

BLK

2150

Ground (30 Series)

Fuel Temperature Sensor


Object Number: 784094  Size: CH

Connector Part Information

    • 178392-6
    • 2-Way F Sealed (GRY)

Pin

Wire Color

Circuit No.

Function

1

YEL

1578

Fuel Temperature Signal

2

BRN

718

Low Reference

Glow Plug Controller - C1


Object Number: 1366585  Size: CH

Connector Part Information

    • 15443870
    • 1-Way F Sealed (BLK)

Pin

Wire Color

Circuit No.

Function

1

BLK

1042

Battery Positive Voltage

Glow Plug Controller - C2


Object Number: 1366583  Size: CH

Connector Part Information

    • 60412601 E
    • 12-Way F Sealed (BLK)

Pin

Wire Color

Circuit No.

Function

1

RED/GRN

HB11

Glow Plug 1 Supply Voltage

2

WHT/GRN

HB12

Glow Plug 2 Supply Voltage

3

RED/WHT

HB13

Glow Plug 3 Supply Voltage

4

WHT/YEL

HB14

Glow Plug 4 Supply Voltage

5

PNK

239

Ignition 1 Voltage

6

DK GRN

2362

SAE J1939 Serial Data Bus

7

RED/LT GRN

HB15

Glow Plug 5 Supply Voltage

8

WHT/LT GRN

HB16

Glow Plug 6 Supply Voltage

9

RED/BLU

HB17

Glow Plug 7 Supply Voltage

10

WHT/BLU

HB18

Glow Plug 8 Supply Voltage

11

PNK/YEL

HB03

Ground

12

YEL

2361

SAE J1939 Serial Data Bus +

Intake Air Temperature (IAT)/Mass Air Flow (MAF) Sensor


Object Number: 655786  Size: CH

Connector Part Information

    • 15324447
    • 5-Way F 090II SLD (BLK)

Pin

Wire Color

Circuit No.

Function

1

BLK

552

Low Reference

2

TAN

472

IAT Sensor Signal

3

PNK

439

Ignition 1 Voltage

4

GRY/BLK

2931

Low Reference

5

YEL

492

MAF Sensor Signal

Turbocharger Vane Position Control Solenoid Valve


Object Number: 1366580  Size: CH

Connector Part Information

    • PR-IA066070097
    • 2-Way F Sealed (BLK)

Pin

Wire Color

Circuit No.

Function

A

DK BLU

5930

Turbocharger Vane Position Control Solenoid Valve

B

WHT

5931

Low Reference

Turbocharger Vane Position Sensor


Object Number: 1366574  Size: CH

Connector Part Information

    • 282088-1
    • 4-Way F Superseal 1.5 Series Sealed (BLK)

Pin

Wire Color

Circuit No.

Function

A

TAN

5929

5-Volt Reference (Early Production)

ORN/BLK

5-Volt Reference (Late Production)

B

ORN/BLK

5928

Low Reference (Early Production)

TAN

Low Reference (Late Production)

C

YEL

5775

Turbocharger Vane Position Sensor Signal

D

--

--

Not Used