GM Service Manual Online
For 1990-2009 cars only
Figure 1:

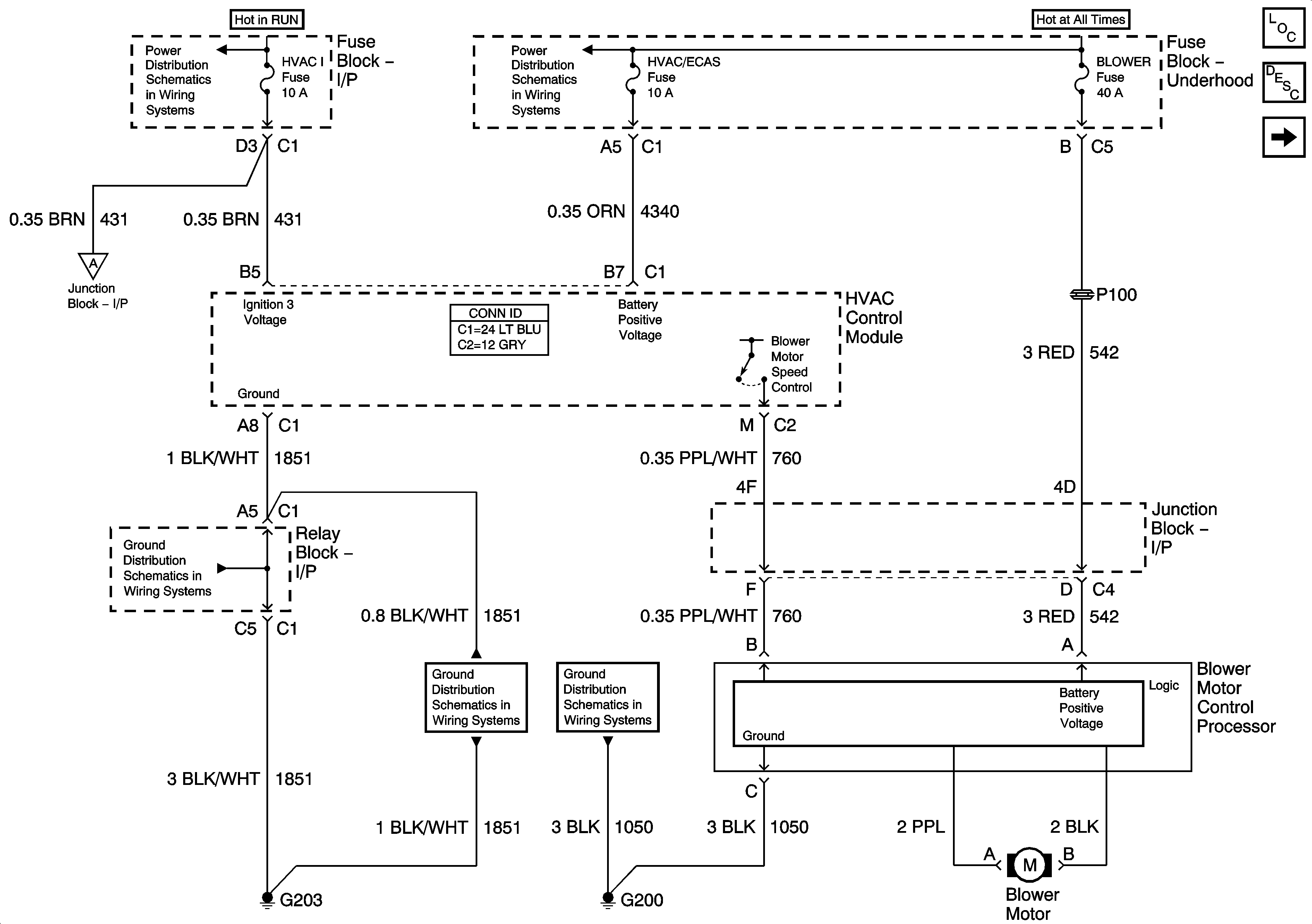
Power, Ground, Serial Data, and Front Blower Controls


Object Number: 1227304  Size: FS
Master Electrical Component List
Air Delivery Description and Operation
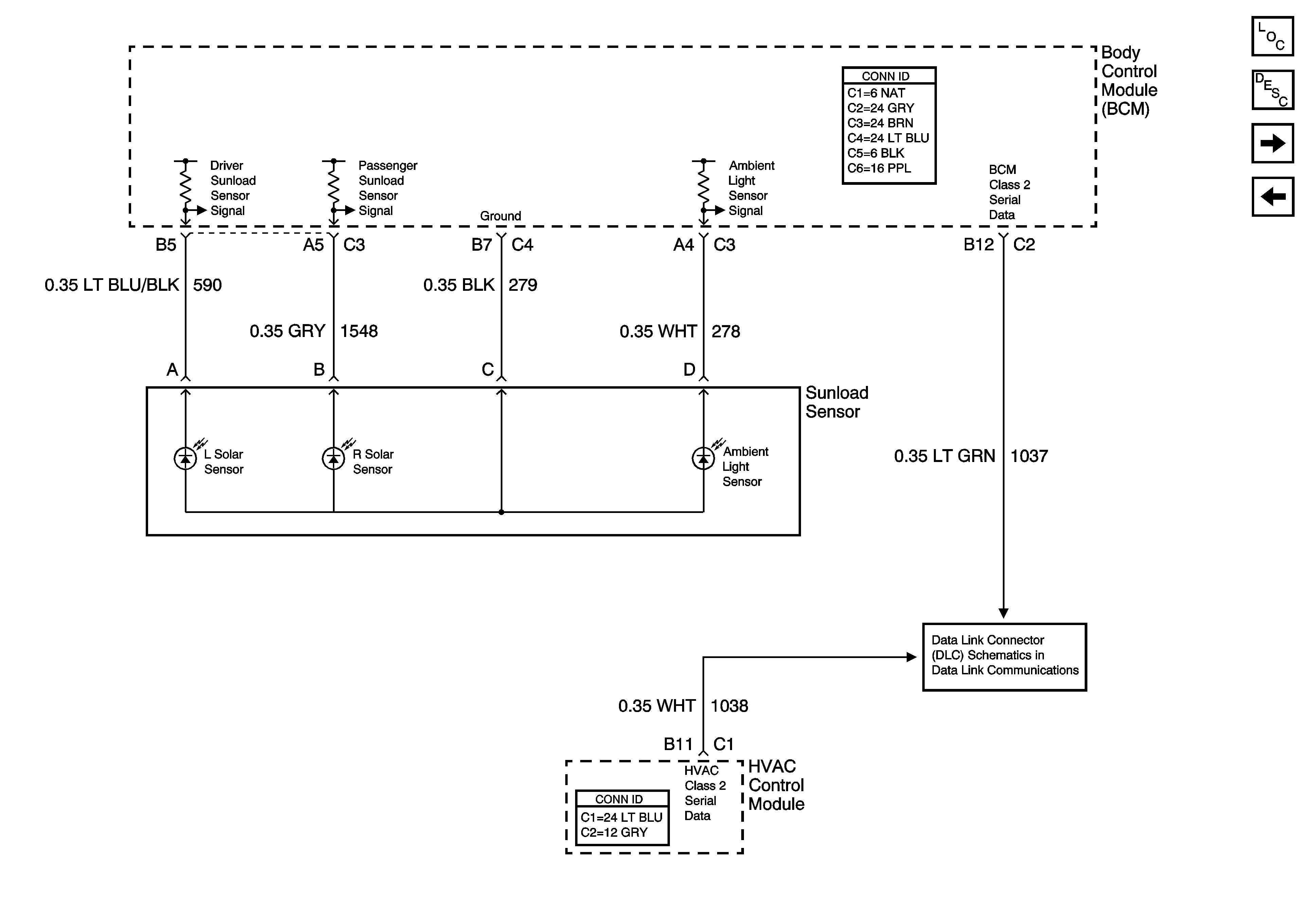
Sunload Sensor Inputs
BRAKE, HTR/AC, and HVAC 1 Fuses
HVAC/ECAS, RR HVAC, BLOWER, RR DEFOG, STOP LP, and TREC Fuses
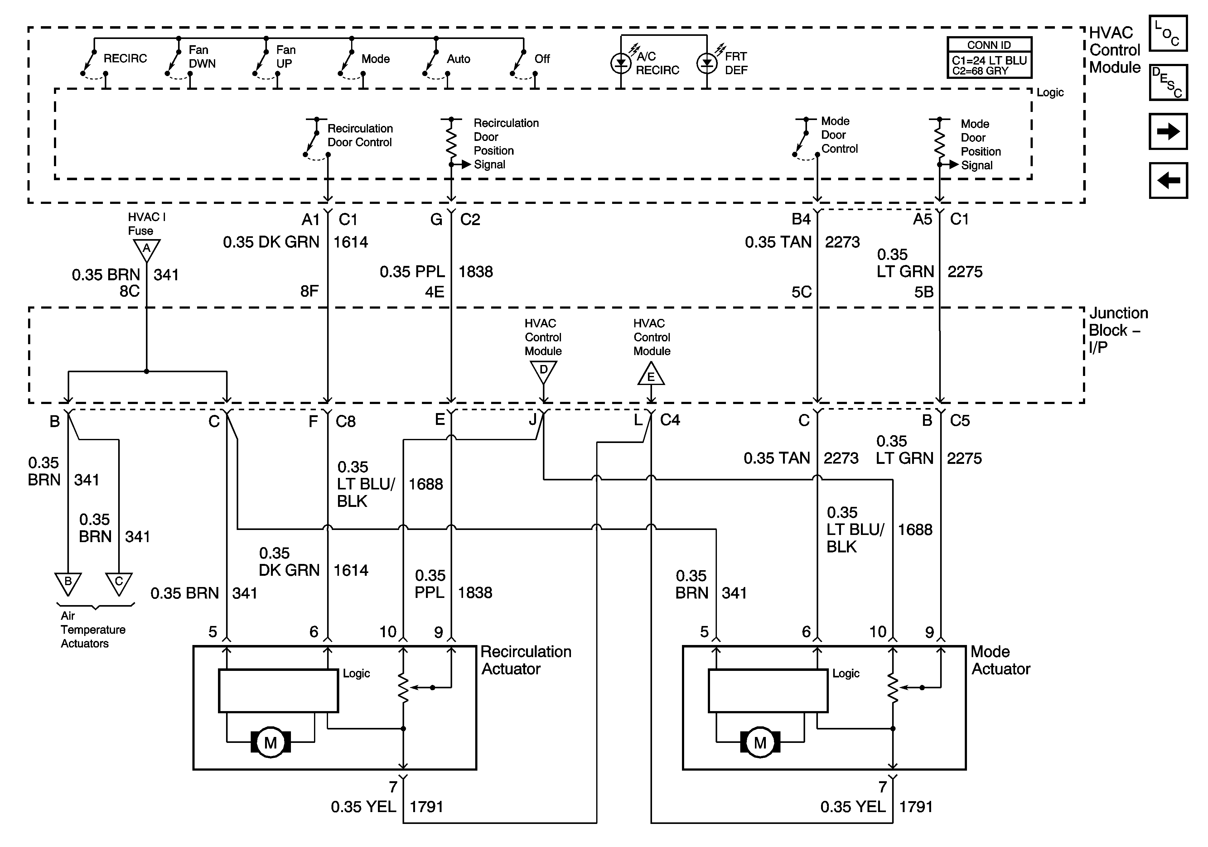
Recirculation and Mode Door Controls
G203 - 1 of 3
G203 - 1 of 3
G200 - 1 of 3
Figure 2:

Sunload Sensor Inputs


Object Number: 1227305  Size: FS
Master Electrical Component List
Air Temperature Description and Operation
Front Left and Right Temperature Control
Power, Ground, Serial Data, and Front Blower Controls
SP205 - 1 of 2
Figure 3:

Front Left and Right Temperature Control


Object Number: 1227307  Size: FS
Master Electrical Component List
Air Delivery Description and Operation
Recirculation and Mode Door Controls
Sunload Sensor Inputs
Recirculation and Mode Door Controls
Recirculation and Mode Door Controls
Recirculation and Mode Door Controls
Recirculation and Mode Door Controls
Figure 4:

Recirculation and Mode Door Controls


Object Number: 1227308  Size: FS
Master Electrical Component List
Air Delivery Description and Operation
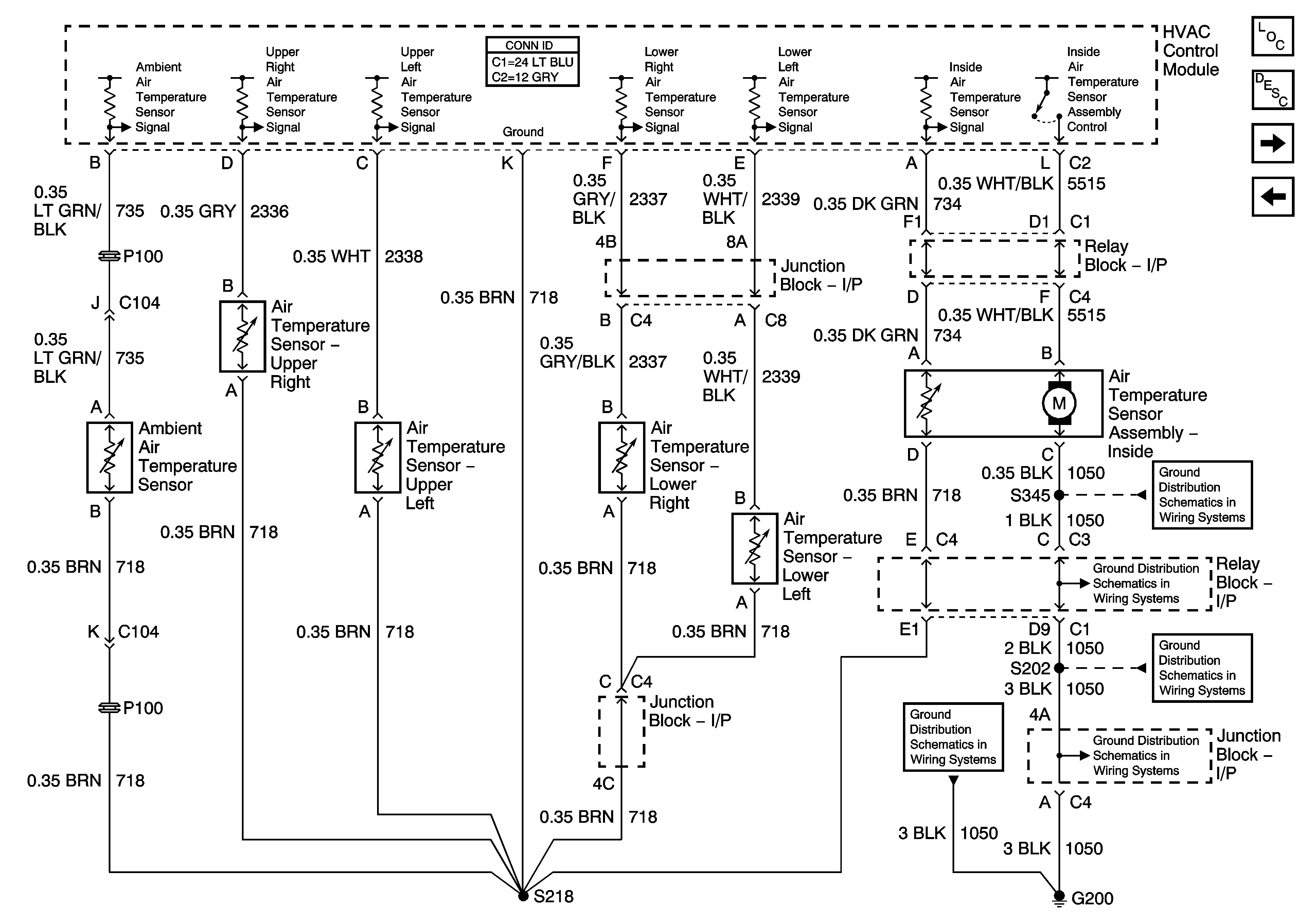
Front Air Temperature Sensors
Front Left and Right Temperature Control
Power, Ground, Serial Data, and Front Blower Controls
Front Left and Right Temperature Control
Front Left and Right Temperature Control
Front Left and Right Temperature Control
Figure 5:

Front Air Temperature Sensors


Object Number: 1227310  Size: FS
Master Electrical Component List
Air Temperature Description and Operation
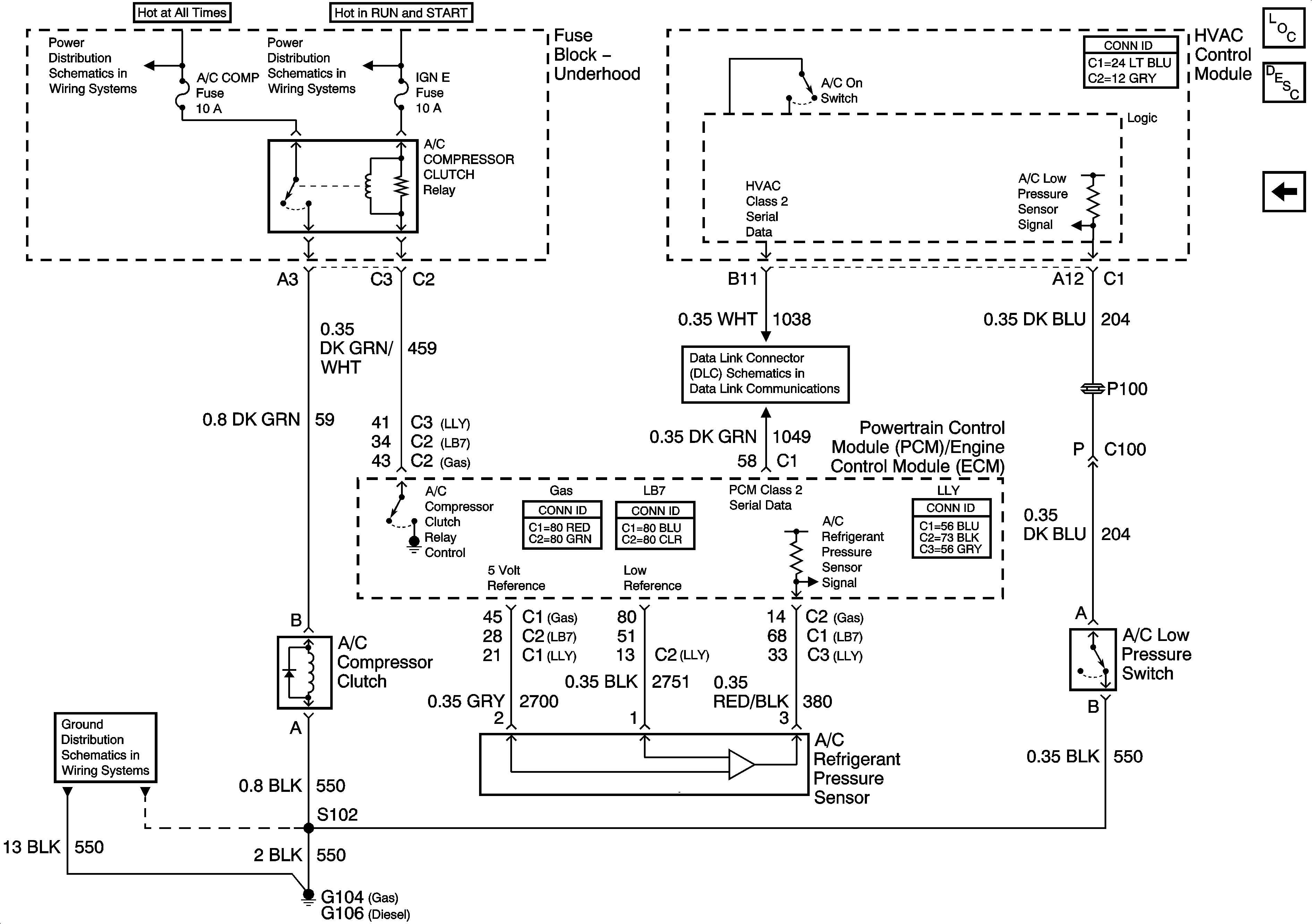
A/C Compressor Controls
Recirculation and Mode Door Controls
G200 - 3 of 3
G200 - 1 of 3
G200 - 1 of 3
G200 - 1 of 3
Figure 6:

A/C Compressor Controls


Object Number: 1227311  Size: FS
Master Electrical Component List
Air Temperature Description and Operation
Front Air Temperature Sensors
B+ Bus Bar - 2 of 2
IGN E Fuse
SP205 - 1 of 2
G102, G103, G108 and G109 - Diesel