GM Service Manual Online
For 1990-2009 cars only

If a tire goes flat, avoid further tire and wheel damage by driving slowly to a level place. Turn on your hazard warning flashers.

Caution: Changing a tire can be dangerous. The vehicle can slip off the jack and roll over or fall on you or other people. You and they could be badly injured or even killed. Find a level place to change your tire. To help prevent the vehicle from moving:

  1. Set the parking brake firmly.
  2. Put the shift lever in PARK (P).
  3. Turn off the engine and do not restart while the vehicle is raised.
  4. Do not allow passengers to remain in the vehicle.
  5. Put the wheel blocks at the front and rear of the tire farthest away from the one being changed. That would be the tire on the other side, at the opposite end of the vehicle.


Object Number: 809231  Size: B3

The following steps will tell you how to use the jack and change a tire.

Removing the Spare Tire and Tools

Regular Cab and Crew Cab


Object Number: 808170  Size: B3

Extended Cab®


Object Number: 854551  Size: B3
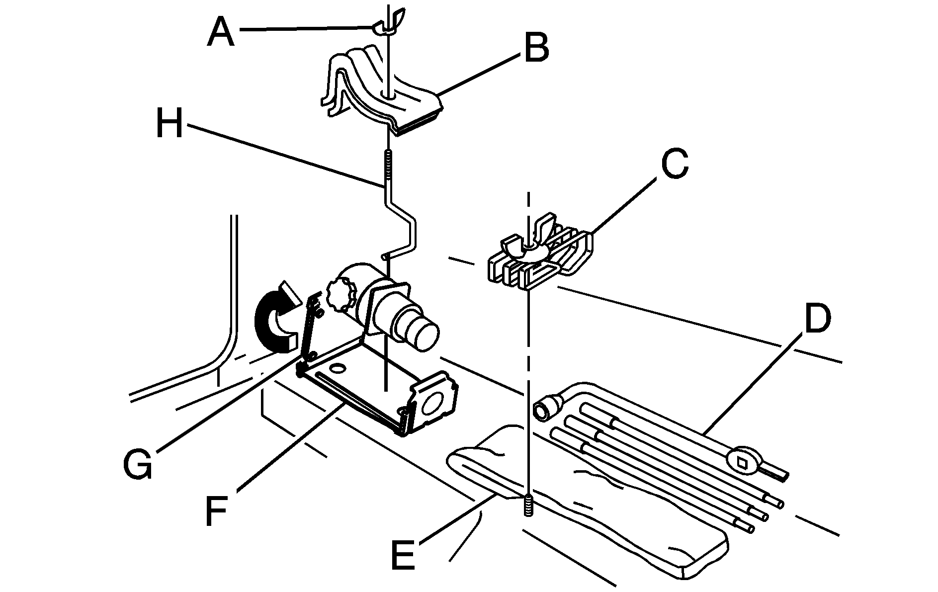
  1. Wing Nut holding Wheel Blocks

  2. Wheel Blocks

  3. Retaining Hook

  4. Jack

  5. Knob

  6. Retaining Bracket and Wing Nut

  7. Tool Kit and Jack Tools

1500 Crew Cab


Object Number: 1241454  Size: B3

For regular cab models, the equipment you'll need is behind the passenger's seat. For Extended and crew cab models, the equipment is on the shelf behind the passenger's side second row seat.

  1. If there is a cover, move the seats forward and turn the wing nut on the cover counterclockwise to remove it. For crew cab models, pull up the second row seat with the loop at the base of the seat cushion to access the tools.
  2. To release the bottle jack from its holder, turn the knob on the bottle jack counterclockwise to lower the jack head.
  3. The wheel blocks and the wheel block retainer can be removed by turning the wing nut counterclockwise.
  4. There is also a wing nut used to retain the storage bag and tools. To remove it, turn the wing nut counterclockwise.

You'll use the jack handle extensions and the wheel wrench to remove the underbody-mounted spare tire.


  1. Object Number: 880766  Size: B4

    Spare Tire (Valve Stem Pointed Down)

  2. Hoist Assembly

  3. Hoist Cable

  4. Tire Retainer

  5. Hoist Shaft

  6. Hoist End of Extension Tool

  7. Hoist Shaft Access Hole

  8. Wheel Wrench

  9. Jack Handle Extensions

  10. Hoist Lock (If Equipped)

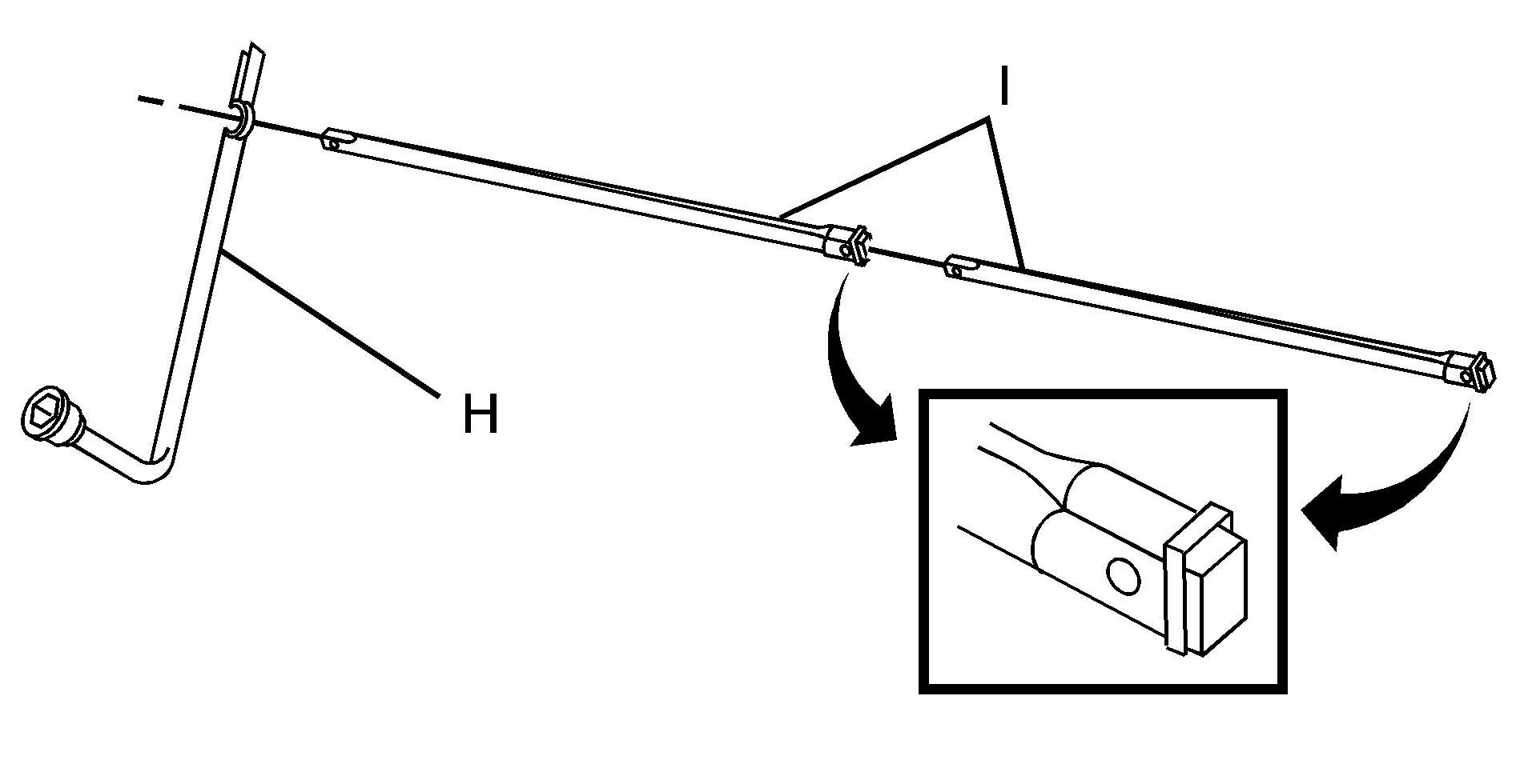
  1. If your vehicle is equipped with a hoist lock (J), open the spare tire lock cover on the bumper and use the ignition key to remove the lock.

  2. Object Number: 805764  Size: B2
  3. Assemble the wheel wrench (H) and the two jack handle extensions (I) as shown.

  4. Object Number: 805774  Size: A3

    Insert the hoist end (open end) (F) of the extension through the hole (G) in the rear bumper.

  5. Be sure the hoist end of the extension connects to the hoist shaft (E). The ribbed square end of the extension is used to lower the spare tire.
  6. Turn the wheel wrench (H) counterclockwise to lower the spare tire to the ground. Continue to turn the wheel wrench until the spare tire can be pulled out from under the vehicle.
  7. If the spare tire does not lower to the ground, the secondary latch is engaged causing the tire not to lower. See "Secondary Latch System" later in this section.


    Object Number: 805763  Size: A2
  8. The wheel wrench has a hook that allows you to pull the hoist cable towards you to assist in reaching the spare tire.

  9. Object Number: 807153  Size: A2
  10. When the tire has been lowered, tilt the retainer (D) at the end of the cable so it can be pulled up through the wheel opening.
  11. Put the spare tire near the flat tire.

Removing the Flat Tire and Installing the Spare Tire

Use the following pictures and instructions to remove the flat tire and raise the vehicle.


Object Number: 807540  Size: B3

The tools you'll be using include the bottle jack (A), the wheel blocks (B), the jack handle (C), the jack handle extensions (D), and the wheel wrench (E).


    Object Number: 809067  Size: A3

    If your vehicle has wheel nut caps, loosen them by turning the wheel wrench counterclockwise.

    If the vehicle has a center cap with wheel nut caps, the wheel nut caps are designed to stay with the center cap after they are loosened. Remove the entire center cap.


    Object Number: 807780  Size: B3
  1. If the wheel has a smooth center cap, place the chisel end of the wheel wrench in the slot on the wheel, and gently pry out.

  2. Object Number: 805765  Size: B3
  3. Use the wheel wrench to loosen all the wheel nuts. Turn the wheel wrench counterclockwise to loosen the wheel nuts. Don't remove the wheel nuts yet.
  4. Notice: If your vehicle has QUADRASTEER™ and you use a jack to raise the vehicle without positioning it correctly, you could damage the QUADRASTEER™ system. When raising your vehicle on a jack, avoid contact with tie rods and tie rod boots.

      Jacking Locations


      Object Number: 809221  Size: B2

      Front Location (2-Wheel Drive 1500 Series)

      Front Location (All Other Series)

      Rear Location (All Series)

  5. Position the jack under the vehicle as shown. If the flat tire is on the front of the vehicle (Two-Wheel Drive 1500 Series vehicles), position the jack under the bracket attached to the vehicle's frame, behind the flat tire. If the flat tire is on the front of the vehicle (all other models), position the jack on the frame behind the flat tire.
  6. If the flat tire is on the rear, position the jack under the rear axle between the spring anchor and the shock absorber bracket.

    If you have added a snow plow to the front of your vehicle, lower the snow plow fully before raising the vehicle.

    Caution: Getting under a vehicle when it is jacked up is dangerous. If the vehicle slips off the jack you could be badly injured or killed. Never get under a vehicle when it is supported only by a jack.

    Caution: Raising your vehicle with the jack improperly positioned can damage the vehicle and even make the vehicle fall. To help avoid personal injury and vehicle damage, be sure to fit the jack lift head into the proper location before raising the vehicle.

    Front Position 2WD 1500 Series


    Object Number: 809228  Size: B4

    Front Position All Other Models


    Object Number: 809216  Size: B3

    Rear Position


    Object Number: 854553  Size: B3
  7. Make sure the jack head is positioned so that the rear axle is resting securely between the grooves that are on the jack head. Turn the wheel wrench clockwise to raise the vehicle. Raise the vehicle far enough off the ground so there is enough room for the spare tire to fit under the wheel well.

  8. Object Number: 805767  Size: A2
  9. Remove all the wheel nuts and take off the flat tire.

  10. Object Number: 811105  Size: A2

    Remove any rust or dirt from the wheel bolts, mounting surfaces and spare wheel.

    Caution: Rust or dirt on a wheel or other parts to which it is fastened, can make the wheel nuts become loose and eventually the wheel could come off and cause a crash. Always remove all rust and dirt from wheels and other parts.

    Caution: Never use oil or grease on bolts or nuts because the nuts might come loose. The vehicle's wheel could fall off, causing a crash.


    Object Number: 807782  Size: A3

    After mounting the spare, put the wheel nuts back on with the rounded end of the nuts toward the wheel. Tighten each wheel nut by hand. Then use the wheel wrench to tighten the nuts until the wheel is held against the hub.

    Front Position All Models


    Object Number: 805319  Size: B3

    Front Position 2WD 1500 Series


    Object Number: 809225  Size: B3

    Rear Position


    Object Number: 829903  Size: B3
  11. Turn the wheel wrench counterclockwise to lower the vehicle. Lower the jack completely.

  12. Object Number: 805321  Size: B2
  13. Tighten the nuts firmly in a crisscross sequence as shown by turning the wheel wrench clockwise.
  14. Caution: Wheel nuts that are improperly or incorrectly tightened can cause the wheels to become loose or come off. The wheel nuts should be tightened with a torque wrench to the proper torque specification after replacing. Follow the torque specification supplied by the aftermarket manufacturer when using accessory locking wheel nuts. See Capacities and Specifications for original equipment wheel nut torque specifications.

    Notice: Improperly tightened wheel nuts can lead to brake pulsation and rotor damage. To avoid expensive brake repairs, evenly tighten the wheel nuts in the proper sequence and to the proper torque specification. See Capacities and Specifications for the wheel nut torque specification.

When you reinstall the regular wheel and tire, you must also reinstall the center cap. Place the cap on the wheel and tap it into place until it seats flush with the wheel. The cap only goes on one way. Be sure to line up the tab on the center cap with the indentation on the wheel.

Storing a Flat or Spare Tire, Jack and Tools

Caution: Storing a jack, a tire, or other equipment in the passenger compartment of the vehicle could cause injury. In a sudden stop or collision, loose equipment could strike someone. Store all these in the proper place.

Notice: Storing an aluminum wheel with a flat tire under your vehicle for an extended period of time or with the valve stem pointing up can damage the wheel. Always stow the wheel with the valve stem pointing down and have the wheel/tire repaired as soon as possible.

Return the bottle jack, wheel blocks, wheel wrench and jack extensions to their location behind the passenger's seat.


Object Number: 854554  Size: B3
  1. Wing Nut

  2. Wheel Blocks

  3. Retaining Bracket and Wingnut

  4. Gloves

  5. Wheel Wrench and Extensions

  6. Storage Bag

  7. Mounting Bracket

  8. Bottle Jack

  9. Retaining Hook

To store the jack and jack tools do the following:

  1. Put the jack tools and gloves in the tool bag and place in the retaining bracket. Tighten down the wing nut.
  2. Assemble the wheel blocks and bottle jack together with the wing nut and retaining hook.
  3. Position the jack in the mounting bracket. Position the holes in the base of the jack onto the pin in the mounting bracket.

Store the tire under the rear of the vehicle in the spare tire carrier. Use the art and text following to help you:


  1. Object Number: 880766  Size: B4

    Spare Tire (Valve Stem Pointed Down)

  2. Hoist Assembly

  3. Hoist Cable

  4. Tire Retainer

  5. Hoist Shaft

  6. Hoist End of Extension Tool

  7. Hoist Shaft Access Hole

  8. Wheel Wrench

  9. Jack Handle Extensions

  10. Hoist Lock (If Equipped)

  1. Put the tire on the ground at the rear of the vehicle with the valve stem pointed down, and to the rear.

  2. Object Number: 807153  Size: A2
  3. Tilt the retainer (D) downward and through the wheel opening. Make sure the retainer is fully seated across the underside of the wheel.

  4. Object Number: 805764  Size: B2
  5. Attach the wheel wrench (H) and extensions (I) together.

  6. Object Number: 805774  Size: A3
  7. Insert the hoist end (F) through the hole (G) in the rear bumper and into the hoist shaft.
  8. Raise the tire part way upward. Make sure the retainer is seated in the wheel opening.
  9. Raise the tire fully against the underside of the vehicle by turning the wheel wrench clockwise until you hear two clicks or feel it skip twice. You cannot overtighten the cable.

    1. Object Number: 811883  Size: B4

      Push and Pull

      Rotate Tire

  10. Make sure the tire is stored securely. Push, pull, and then try to rotate or turn the tire. If the tire moves, use the wheel wrench to tighten the cable. Reinstall the spare tire lock (if equipped).

Secondary Latch System

Your vehicle has an underbody mounted tire hoist assembly equipped with a secondary latch system. It's designed to stop the spare tire from suddenly falling off your vehicle. For the secondary latch to work, the spare must be installed with the valve stem pointing down. See "Storing a Flat or Spare Tire, Jack and Tools" earlier in this section.

Caution: Before beginning this procedure read all the instructions. Failure to read and follow the instructions could damage the hoist assembly and you and others could get hurt. Read and follow the instructions listed next.

To release the spare tire from the secondary latch do the following:


    Object Number: 849740  Size: B3
  1. Check under the vehicle to see if the cable end is visible.
  2. If the cable is not visible proceed to Step 6.
  3. If it is visible, first try to tighten the cable by turning the wheel wrench clockwise until you hear two clicks or feel it skip twice. You cannot overtighten the cable.

  4. Loosen the cable by turning the wrench counterclockwise three or four turns.
  5. Repeat this procedure at least two times. If the spare tire lowers to the ground, continue with Step 5 of "Removing the Spare Tire and Tools" earlier in this section.
  6. Turn the wrench counterclockwise until approximately six inches (15 cm) of cable is exposed.

  7. Object Number: 849732  Size: A3
  8. Stand the wheel blocks on their shortest ends, with the backs facing each other.
  9. Place the bottom edge of the jack on the wheel blocks, separating them so that the jack is balanced securely.

  10. Object Number: 849738  Size: B3

    Object Number: 849617  Size: B3
  11. Attach the jack handle, extension, and wheel wrench to the jack and place it (with the wheel blocks) under the vehicle towards the front of the rear bumper. Position the center lift point of the jack under the center of the spare tire.
  12. Turn the wrench clockwise to raise the jack until it lifts the end fitting.
  13. Continue raising the jack until the spare tire stops moving upward and is held firmly in place. The secondary latch has released and the spare tire is balancing on the jack.
  14. Lower the jack by turning the wheel wrench counterclockwise. Keep lowering the jack until the spare tire slides off the jack or is hanging by the cable.
  15. Caution: Someone standing too close during the procedure could be injured by the jack. If the spare tire does not slide off the jack completely, make sure no one is behind you or on either side of you as you pull the jack out from under the spare.

  16. Disconnect the jack handle from the jack and carefully remove the jack. Use one hand to push against the spare while firmly pulling the jack out from under the spare tire with the other hand.
  17. If the spare tire is hanging from the cable, insert the hoist handle, extension and wheel wrench into the hoist shaft hole in the bumper and turn the wheel wrench counterclockwise to lower the spare the rest of the way.


    Object Number: 807153  Size: A2
  18. Tilt the retainer at the end of the cable and pull it through the wheel opening. Pull the tire out from under the vehicle.
  19. If the cable is hanging under the vehicle, turn the wheel wrench clockwise to raise the cable back up.

Have the hoist assembly inspected as soon as you can. You will not be able to store a spare or flat tire using the hoist assembly until it has been replaced.

To continue changing the flat tire, see "Removing the Flat Tire and Installing the Spare Tire" earlier in this section.

Removing the Jack and Tools

Your hybrid vehicle requires a different procedure to remove the jack and tools from the vehicle. See "Changing a Flat Tire" in the owner manual Index for complete instructions on changing a flat tire.

The equipment is under the passenger's side second row seat behind the battery box. You must first fold the seat cushion before removing the jack and tools. Use the following procedure:


    Object Number: 808129  Size: A3
  1. Pull up and out on the release strap located under the seat cushion.

  2. Object Number: 1502408  Size: B4
  3. Fold the seat cushion upward until it latches with the seatback.
  4. Push and pull on the seat cushion to make sure the seat is secure.
  5. Turn the wing nut (B) counterclockwise until loosened and flip the black retaining clip back to remove the storage bag and tools (C) from the vehicle.

    1. Object Number: 1203286  Size: B3

      Jack and Wheel Blocks

      Wing Nut

      Tool Kit


    Object Number: 1203277  Size: B3
  6. Release the jack and wheel blocks (A) from the holder as an assembly by turning the yellow knob on the jack counterclockwise to lower the jack head.

  7. Object Number: 1203279  Size: B3
  8. Pull the jack back toward the seat bracket.

  9. Object Number: 1203280  Size: B3
  10. Turn the jack upside down so the small wing nut holding the wheel blocks is facing the battery box.

  11. Object Number: 1203283  Size: A3

    Push the seat cushion back while pulling the jack out.

  12. Pulling the jack out this way will reduce the potential of scratching the battery cover.
  13. Loosen the wing nut on top of the wheel blocks by turning it counterclockwise to separate the wheel blocks from the jack.

When you are finished, place the tools in the storage bag and reinstall the tools in the vehicle by reversing the removal procedure. Reinstall the wheel blocks to the jack and reinstall the jack back into the vehicle by reversing the removal procedure.