GM Service Manual Online
For 1990-2009 cars only

Info - Pre-Delivery and Service Guide - Parallel Hybrid Truck (PHT) (RPO HP2)

Subject:PRE-DELIVERY AND SERVICE GUIDE -- Hybrid Truck (RPO HP2)

Models:2004-2006 Chevrolet Silverado Hybrid Truck (HP2) Models
2004-2006 GMC Sierra Hybrid Truck (HP2) Models



This bulletin is being revised to include 2006 model year, to enhance the Auto Start/Stop and Battery Charging sections and provide essential tool information. Please discard Corporate Bulletin Number 04-00-89-020A (Section 00 -- General Information).


Important:  It is strongly recommended that technicians complete the available Hybrid Truck training and have the essential tools available to service a Hybrid truck.

The purpose of this bulletin is to make you familiar with the Hybrid Truck option. In addition, this bulletin will review critical safety precautions and describe specific action that your Service Department will need to take to ensure that you are able to fully service this exciting new product.

AVAILABLE TRAINING:

Technicians should complete GMSTC course # 18050.01W -- Silverado/Sierra Hybrid Truck: Theory, Operation and Service, and pre-requisites, prior to working on a Hybrid truck. Refer to the www.gmtraining.com website for details. In Canada, the course number is # 18050.03.

SAFETY PRECAUTIONS:

The following safety precautions should be observed while working on a Hybrid Truck:

Caution: Never leave the ignition key in the ON position without disconnecting the 42V service disconnect switch. The hybrid system may become active and start the engine when you least expect it.

Caution: To reduce the risk of severe shock and burns, disable the 42 volt (42V) system anytime you perform service work on or around the energy storage box (ESB). The 42V system will still be active after you have disabled the ESB. To disconnect the ESB, turn the engine off and turn OFF the service disconnect switch, which is located on the passenger side of the ESB.

Caution: To reduce the risk of severe shock and burns, always treat the 3 phase cable and connectors as if voltage is present and as if the surface of all parts of the cable is hot.

Caution: De-energizing the supplemental inflatable restraint (SIR) system in a 12 volt vehicle requires disconnecting the negative battery cable before disconnecting the positive battery cable. The 42 volt system must be disconnected to fully neutralize the supplemental inflatable restraint system (airbag).

Caution: The hybrid truck is equipped with an automatic stop/start feature. This feature will cause the engine to turn off if the vehicle speed is less than 21 km/h (13 mph), or when the vehicle comes to a complete stop. Special precautions should be taken under the following circumstances:

   • If you are in the vehicle and come to a complete stop, the engine will stop. However, if you open the door and remove your foot from the brake, the engine will start and it is possible the vehicle can move forward. Place the shifter in Park and turn the ignition to the lock position before exiting the vehicle.
   • If the vehicle is on an incline, the vehicle may roll backward a short distance until the engine performs the auto start. To be sure the vehicle will not move or roll, always keep your foot firmly on the brake pedal until you are ready for the vehicle to move.

Caution: The hood ajar switch communicates whether the hood is open or closed. The engine cannot auto start if the hood is either ajar or open. This ensures that the engine does not start unexpectedly when someone is servicing the vehicle. The engine can always be started using the ignition key if the shift lever is in NEUTRAL or PARK (P). Note, the hood can be opened after the engine is running and the engine will remain running, as with other vehicles.

ABOUT THE VEHICLE

The Hybrid Option (RPO HP2) is offered on both two-wheel and four-wheel drive Silverado/Sierra fullsize extended cab pickup trucks. The hybrid option provides built-in generator capability and results in improved fuel economy and reduced carbon dioxide emissions as compared to other GM pickup trucks. The hybrid option has the following features:

    • Electro-hydraulic power assist
    • Automatic engine stop-start
    • 2.4 kilowatt built-in portable generator
    • 120 volt AC electrical outlets

Auto Start/Stop Feature:

This feature causes the engine to turn off while braking if the vehicle is going less than 21 km/h (13 mph), or when the vehicle comes to a complete stop. When the brake pedal is released, the engine will start again and the vehicle will continue forward.

The engine will stay running at a complete stop or will automatically start from a complete stop if the following apply:

    • The outside temperatures are high - usually above 35°C (95°F)
    • The climate control system is working to cool the cabin in AUTO mode
    • The climate control system is in front defrost mode (2004-2005 model years only)
    • The brake pedal is released (even slightly) while the vehicle is in DRIVE (D) or THIRD (3)
    • The brake pedal is released for more than 3 seconds in Park (P). If the vehicle is in Park (P) and the brake is depressed for more than 3 seconds, the vehicle will shut off (model years 2006-2007).
    • The shift lever is in NEUTRAL, REVERSE (R), SECOND (2) or FIRST (1)
    • The battery pack charge is low
    • The Tow/Haul switch is engaged
    • The transfer case is in 4 LO
    • Any door is opened while the vehicle is in PARK (P) (2004-2005 model years only)
    • It is necessary to maintain 120 volt APO operation anytime there is a sufficiently (approx. 1000 watts or greater) large load being applied
    • The hood is not fully closed

Auxiliary Power Outlet (APO) System:

The Auxiliary Power Outlet system provides up to 2,400 watts of 120 volt AC power. If equipment is used that requires more than the limit, a 20 amp protection circuit will cut the power supply and a light in the APO switch will flash along with a Driver Information Center (DIC) message that will flash 120V OVERLOAD. If this occurs, the system must be reset. Refer to SI Document ID #1325743.

The APO has two modes:

    • Normal Mode -- This mode can be activated in any transmission gear selector position, and supplies the outlets with 2,400 watts of 120 volt AC power. To activate, press and release the APO button. The indicator next to the APO button will light.

       Important:  Never connect the APO system directly to a building's circuitry or another power supply.

    • Continuous Mode -- To activate the continuous mode, place the transmission in PARK (P) with the ignition in RUN and the engine running. Press and hold the APO button for longer than two seconds. The indicator next to the APO button will flash and a DIC message 120V READY will appear. Release the APO button and turn the ignition to lock while the indicator light is flashing. When the ignition key has been turned to LOCK, the indicator light next to the APO button will remain on. Connect the electrical devices to the outlets. The ignition key can be removed from the ignition at this time.

Electro-hydraulic Power Steering and Brake Assist (EHPS):

The conventional power steering pump has been replaced with a 42-volt electro-hydraulic power steering powerpack (p/n 15270264 -- p/s pump). The EHPS powerpack includes a 42-volt motor, electronics/circuit boards, fluid reservoir, and pump. The EHPS powerpack controls the power steering motor, which has the function of providing hydraulic power to the brake booster and the steering gear.

Hybrid Control Module:

The hybrid control module acts as a gateway between the high-speed GMLAN and Class2 network. The HCM controls the following functions:

   • 

the automatic engine auto start/stop

   • 

the energy flowing into/out of the 14 volt and 42 volt batteries

   • 

enables and disables power for the auxiliary power outlets

   • 

enables and disables surge smoothing/active dampening

   • 

disables energy generation after airbag deployment

   • 

controls the auxiliary transmission pump, the power maintenance relay, and the auxiliary heater pump

   • 

controls the starter/generator speed during transmission downshift assists

Unique Hybrid Components:

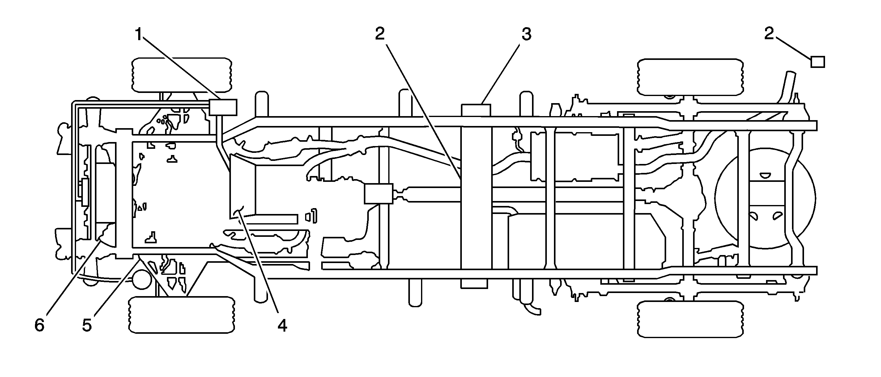
The following is a list of key components that make up the Hybrid system:


Object Number: 1488905  Size: SF
(1)Starter-Generator Control Module (SGCM)
(2)Accessory Power Outlets (APO)
(3)Energy Storage Box (ESB)
(4)Starter-Generator / Torque Converter
(5)Electro-hydraulic Power Steering and Brake Assist (EHPS)
(6)Hybrid Control Module (HCM)

4L60-E (M33) TRANSMISSION

About the Transmission


Object Number: 1503509  Size: MF

The 4L60-E M33 model transmission is specifically designed for the Hybrid pickup trucks. The starter generator includes a rotor (2) and stator (1) housed inside the transmission torque converter housing (5). The stator (1) is attached to the engine block, and the rotor (2) bolts directly to the engine crankshaft and spins inside the stator.

The starter generator and a 258 mm (10 in) torque converter (4) are mounted between the engine and transmission (6). The torque converter is attached to a unique flex plate (3) that fits inside the rotor (2).

The M33 secondary oil pump ensures sufficient line pressure is available immediately to transfer torque when the engine is restarted, avoiding delayed or loss of forward clutch engagement during transition to main pump oil supply.

Also unique to the M33 is the torque converter clutch lockup that occurs very early. Once locked, the converter smooths out driveline disturbances and provides coast-down regenerative braking. The torque converter clutch engages (or, in some instances, permits a controlled, very low slip mode) in second and successive gears to help prevent any additional pump and turbine heat buildup.

Secondary Fluid Pump


Object Number: 1503510  Size: SH

During periods when the engine is not running, a secondary oil pump (1), Figure 2, mounted to the valve body (2) provides the necessary fluid to slightly apply the forward clutch. This gives the transmission the ability to maintain forward clutch capacity to ensure rapid clutch engagement during the engine restart cycle, eliminating engine flare or sudden transmission engagement during transition to main pump pressure. The secondary fluid pump provides fluid directly to the manual valve. The pump is controlled by the Hybrid Control Module (HCM) through the Auxiliary Pump relay. The secondary pump assembly is NOT repairable. If the pump needs repair, it must be replaced.


Object Number: 1403338  Size: SH

A one-way check valve (1), Figure 3, installed in the valve body prevents hydraulic fluid flow to the secondary pump when the main oil pump is operating.

Transmission Fluid Pressure (TFP) Switch


Object Number: 1403329  Size: SH

The M33 Transmission Fluid Pressure (TFP) switch (1), Figure 6, is specifically calibrated to recognize lower fluid pressure from the secondary fluid pump assembly.

Important:  The M30 and the M33 TFP switches are not interchangeable and can be distinguished by the color of the electrical connector.

The M33 TFP Switch has a natural color electrical connector, where the M30 has a black connector. The D4 switch of the TFP is specifically calibrated to detect secondary fluid pump pressure.

M33 Components

Figure 7 shows components that mainly comprise the M33 model.


Object Number: 1364044  Size: LH
(43)Accumulator Piston Pin
(44)3-4 Accumulator Piston
(45)Oil Seal Ring - 3-4 Accumulator Piston
(46) 3-4 Accumulator Spring - Model Dependent
(48)Valve Body Spacer Plate with Gasket
(54)1-2 Accumulator Spring - Outer
(55)Oil Seal Ring - 1-2 Accumulator
(56)1-2 Accumulator Piston
(57)1-2 Accumulator Cover and Pin Assembly
(58)Accumulator Cover Bolt
(59)Accumulator Cover Bolt
(60) Control Body Valve Assembly - Model Dependent
(65)Wiring Harness Pass-through Connector O-Ring Seal
(66) Wiring Harness Solenoid Assembly - Model Dependent
(67) O-Ring Seal - Solenoid
(68)Hex Washer Head Bolt - Solenoid
(69)Transmission Fluid Pressure Manual Valve Position Switch Assembly
(70)Pressure Switch Assembly Bolt
(75) Transmission Oil Pan
(102) Converter Housing
(108) Secondary Fluid Pump Assembly
(109) Secondary Fluid Pump Bolts
(110)Secondary Fluid Pump Bolt
(111)Filter Retainer
(112) Secondary Fluid Pump Filter

Model Identification

The M33 transmission model can be identified by the broadcast code label (1), Figure 8. The M33 is identified as 4PCD and 4PKD models.


Object Number: 1503516  Size: MF
(1)4 = 2004
(2)Model
(3)Hydra-Matic 4L60-E
(4) Transmission Asm. as Shipped Number
(5) 5 = Model Year
(6)Julian Date or Day of the Year
(7)Letter After Julian Date Identifies the Plant/Shift Build - see shift build chart
(8)Bar Code
(9)Serial Number
(10)Broadcast Code
(11)Transmission ID
(12)Build Location Y = Toledo, OH; R = Romulus, MI; 4 = Ramos Arizpe, Mexico
(13)Manufacturing source

UNIQUE VEHICLE CHARACTERISTICS:

Auto Start/Stop Feature:

With the Auto Start/Stop feature, customers may comment on a delay in vehicle acceleration from a complete stop. This is a normal characteristic of the vehicle. Because the vehicle engine shuts off while at a complete stop, when the brake pedal is released, the starter/generator engages to start the engine before the vehicle can accelerate. The customer may realize a slight delay while this occurs.

Also, with the auto-stop feature, the customer may feel a "bump/bobble" when the engine shuts down. This is caused by the PCM setting up the engine pistons to a specific position for the restart.

Electro-hydraulic Power Steering:

The power steering system in your vehicle differs from a traditional vehicle. The electro-hydraulic power steering (EHPS) powerpack uses a 42V electric pump to produce hydraulic pressure for steering and brake assist, rather than a belt driven pump coupled to the engine. You may hear the sound of the electric motor when operating the vehicle, particularly if the windows are down. Some audible sound from the EHPS powerpack is considered normal, and is expected in a system of this type. Excessive noise, however, may indicate a need to check the level of power steering fluid.

Regenerative Braking:

Regenerative braking works when you take your foot off the accelerator pedal and the vehicle is moving in DRIVE (D). Regenerative braking will cause the vehicle to slow down faster. Customers may comment on a "drag" feel or as if the brake pedal is being depressed.

Regenerative braking is accomplished by applying the overrun clutch during vehicle coast-down and braking. With the transmission in second or third gear, the overrun clutch is applied. This allows power to be transferred back through the transmission torque converter to the starter-generator.


Object Number: 1403334  Size: SH

The M33 utilizes a bonded spacer plate assembly, consisting of a spacer plate and two permanently affixed gaskets (1), Figure 5. The spacer plate is designed to route fluid to apply the overrun clutch in the gears.

Electric Trailer Brakes:

While towing a trailer equipped with electric brakes and if the trailer brakes are applied manually and the vehicle speed drops below 21 km/h (13 mph), the vehicle may go into auto start/stop mode even if the vehicle's brake pedal is not being depressed. The trailer brake operation will still work.


Object Number: 1522549  Size: MF

Battery Disconnect Switch:

If the vehicle will not be in use for a period of 30 days or more, disconnect the 42 volt battery power from the vehicle in order to prevent the batteries from discharging. The battery disconnect switch is located on the passenger side of the energy storage box.

Automatic Battery Cut-Off Switch

After an airbag inflates or there is a right side impact, the automatic battery cut-off switch will open and the 42 volt battery will be disconnected. The 42 volt electrical power to the vehicle will be off and the vehicle will not start. The automatic battery disconnect must be reconnected by a qualified service technician.

Engine Shut-off when Cold:

When cold, the customer may notice that the engine shuts off at the first stop, but then does not shut off again until the engine/vehicle is warm. At the first stop, the batteries have been discharged. Because the batteries are cold, the batteries are slow to recharge, which will prevent the vehicle from going into "Auto-Stop" mode. Auto-Stop mode will resume when the vehicle is warm and the batteries are recharged.

Battery Voltage at Deceleration:

Battery voltage will fluctuate during deceleration. When the 42V system is fully charged, the energy created during regenerative braking is used to recharge the 12V battery. During this process, the customer may notice a fluctuation on the voltage gauge.

Low Oil Pressure Warning:

A low oil pressure warning will display on the DIC during the transition from the APO continuous mode to vehicle run or a quick key off-on cycle. The low oil pressure message is displayed by the PCM because the PCM never went to sleep/shut down during these events. Because the PCM didn't shut down, the PCM thinks the vehicle has stalled, therefore displaying the low oil pressure message. This message will disappear as soon as the key is cycled off.

Airbag Disable Switch Flicker:

The airbag disable switch backlight flickers. This is caused by a small fluctuation of current through the circuit.

ESB Fan Hum:

At 32 km/h (20 mph) the fan is programmed to turn on. The fan is programmed to shut off at 24 km/h (15 mph) or below. During a fast deceleration, it is possible to still hear the fan at very low speed.

High Pitch Hum/Drone:

From the driver's seat, this sound may appear to be coming from the transmission/electric machine area. From the passenger seat, the sound will appear to be coming from the front of vehicle/A-pillar area. This noise is normal and is caused by the system charging.

DIAGNOSTIC TIPS:

The following information may be helpful in diagnosing customer concerns:

Intermittent Code U1883 (Hybrid Control Module lost communication with Drivers Door Module):

U1883 & U1884 communication fault codes between the HCM & DDM/PDM occur undetected by the customer. They do not set MIL warnings. They are only induced by electrical backfeed of the towing harness ground circuit when electric towing brakes are activated. Even though this ground backfeed induces class2 bus noise through the DDM & PDM modules, no functional impact to the vehicle results.

Repair:

Clear codes U1883 & U1884.

Secondary Fluid Pump Diagnostic Trouble Codes (DTCs):

There are two transmission Diagnostic Trouble Codes (DTCs) that are used for Transmission Secondary Fluid Pump - DTC P2796, Auxiliary Transmission Fluid Pump Relay Control Circuit and DTC P2797, Auxiliary Transmission Fluid Pump Performance.

DTC P2796 will detect a continuous open circuit, a short to ground or a short to power in the Auxiliary Transmission pump circuit. DTC P2797 will detect a TFP Switch signal C (D4) state change while in the engine idle off mode. Both DTCs are monitored by the Hybrid Control Module (HCM).

Scan tool interface is thru the SGCM. The pump can be turned on by operating the Aux. Pump Relay ON and OFF. This is located in the Special Functions Output Controls on the scan tool. Refer to the current service manual for the diagnostic information.

Important: The secondary fluid pump assembly is not repairable. If the pump needs repair, the unit is replaced. The pump has a replaceable filter element, however it does not require regular maintenance.

Brake Pedal Position Sensor Calibration:

The brake pedal position sensor calibration must be performed after the brake pedal position sensor or the electro-hydraulic power steering (EHPS) system has been serviced. The calibration procedure will set the brake pedal position sensor home value. This value is used by the EHPS to determine the brake pedal position and the brake pedal rate. Refer to SI Document ID #1367196.

C0544 Stored in History / Service Brake System Message on DIC:

A service brake system message will appear on the DIC anytime the vehicle's wheels are driven but no input is received from the hand/wheel speed sensor. This would typically be encountered while working with the vehicle on a hoist. DTC C0544 will also be stored in history. When this occurs, clear the code and no further action is required.

SGCM:

Inside the SGCM is a fluid called Floranert that cools the electronics along with the external cooling system. Never attempt to remove the coolant pressure relief valve. Doing so will damage the SGCM capabilities to perform and will require a new unit.


Object Number: 1498202  Size: MH

There is a coolant pressure relief valve on the SGCM. Refer to the diagram above. It is important NOT to remove this screw. If the screw is removed, the SGCM will have to be replaced. Note: SGCM's are expensive and could be charged back due to negligence.

Battery Charging:

Jump starting a hybrid vehicle may take considerably longer than a regular vehicle. It may take 10-20 minutes for a hybrid vehicle to charge from another vehicle's 12 volt battery in order to start a hybrid vehicle. Jump start mode is only entered if the engine fails to crank. The jump start mode will continue up to 20 minutes and will terminate automatically. The jump starting procedure may be able to be repeated if the engine fails to crank. If the vehicle cranks but fails to start, this will not cause the vehicle to go into jump start mode.

A replacement battery (Panasonic) for the battery pack is delivered with an 80% SOC (state of charge). It is necessary to charge the battery to 100% SOC using a battery charger, prior to installation. One option to charge the vehicle is to use the Battery pack service charge procedure (see below).

Important: A special battery charger (J 42634 -- Battery Module Charger) is required to charge the batteries located in the ESB (Energy Storage Box).

Battery Pack Service Charge:

A battery pack service charge is performed using the Tech 2, a battery charger and the SGCM/ESCM. To initiate a service charge using the Tech 2®, go into SGCM special functions. It is necessary to perform a battery pack service charge if one or more of the batteries are diagnosed with a low charge or a battery fault and must be performed BEFORE battery replacement.

A Battery Pack Service Charge Procedure (refer to SI document ID #1462080) MUST be performed at the pack level if one of the following apply:

    • The vehicle is not started for a period of 30 days.
    • One or more batteries (in the battery pack) are diagnosed for replacement.

Important: 

   • If the battery charger is turned off, or disconnected during the battery pack service charge procedure, the battery pack may discharge to an unacceptable State-of-Charge. If this event occurs, be certain to terminate the battery pack service charge procedure.
   • Once the key is turned off, do not turn the key back on once the service charge is initiated or it will terminate the service charge prematurely.

PCM Codes:

The PCM will store all the codes for the ESCM, EHPS, HCM and SGCM. This doesn't mean a PCM failure. The other modules do not store codes but rather transmit their codes to the PCM where the codes are stored. Diagnose the appropriate component/module based on the code found in the PCM.

Updating/Replacing Modules:

If updating/replacing one module, verify that all the other modules are also updated.

Important: 

   • The Panasonic batteries are designed to have a life span of approximately 36,000 amp hours. Amp hours should not be used for diagnosis or determine when to replace the batteries. The actual battery health should be determined using the appropriate battery tester.
   • If all three batteries are replaced, the total Ahrs must be reset to 0 Ahrs with a scan tool, through BECM Output Controls. Refer to SI Document ID #1372154.

ESSENTIAL TOOLS

The following list of tools are essential for servicing the Hybrid Truck. In the U.S., these tools have been shipped to Chevrolet and GMC Tier 1 dealers ONLY. In Canada, these tools are shipped to dealers enrolled in the Hybrid Truck program ONLY. An essential tool package is available by calling 1-800-GMTools.

Tool #

Description

J-41479-2A

Seal Holder Assembly

EL-48045*

EHPS Fuse Crimp Tool

EL-42000-30

Terminal Adapters

J-42634

AGM Battery Charger

J-43679-A

Battery Lift Hooks

J-46093

Stator Holding Tool

J-46143

Surge Tank Adapter

*Tool shipped to dealers after 12-1-2005.

RECOMMENDED FLUIDS AND LUBRICANTS

The following fluids/lubricants are unique for the HP2. For all other recommended fluids and lubricants, see "Recommended Fluids and Lubricants" in the Owner's Manual.

Usage

Fluid/Lubricant

Power Steering System

Electrohydraulic Power Steering Fluid (GM P/N US 88901975 / Canada 88901976)

Starter/Generator Control Module (SGCM) Engine Coolant

50/50 mixture of clean, drinkable water and use only DEX-COOL® Coolant.

ELECTRICAL ARCHITECTURE

Important: GMLAN application requires Tech 2® and CANDi module to view and control functions.

The Hybrid truck will have two methods of communication among the modules - class2 and GMLAN. Only the modules related to the hybrid option communicate via the GMLAN. The PCM records all DTCs related to the hybrid control modules.

    • SGCM (Starter/Generator Control Module)
    • ESCM (Energy Storage Control Module)
    • HCM (Hybrid Control Module)
    • EHPS (Electrohydraulic Power Steering Module)

Important: 

   • When updating any module on Class2, it is necessary to disconnect the electro-hydraulic power steering pump. During programming the electro-hydraulic power steering pump runs continuously. If this occurs, hybrid modules will need to be replaced.
   • When updating any module on the GMLAN, U-codes will set and must be cleared.

QUALITY PRE-DELIVERY INSPECTION (PDI)

Performing a quality pre-delivery inspection is one of the most important functions your dealership can do for the customer. Most customers consider the condition of their new vehicle during delivery as a direct reflection of your dealership and your service department. A quality PDI is essential to improving a customer's perception of your dealership and increasing his/her satisfaction with their new vehicle.

Important: The following two items should be noted in addition to performing the normal PDI procedure.

Cooling System Purge - Starter/Generator:

When the engine is warm, it is important to purge any air that is in the system. Failure to do so can cause the starter/generator to overheat. The following steps should be followed to purge the system:

  1. Run the engine until it reaches normal operating temperature.
  2. Perform the following steps four times:
  3. 2.1.  Run the engine at 4,000 rpm for 30 seconds.
    2.2. Allow the engine to return to idle for 30 seconds.
  4. Shut the engine off.
  5. Allow the engine to cool.
  6. Top off the coolant as necessary.

Battery Disconnect:

If the vehicle will not be in use for a period of 30 days, disconnect the 42 volt battery power from the vehicle in order to prevent the batteries from discharging. The battery disconnect switch is located on the passenger side of the energy storage box.

WARRANTY INFORMATION

Two new labor operations have been established for service of the Secondary Fluid Pump.

K6541 - Pump Assembly, Secondary Fluid - Replace

K6542 - Filter Assembly, Secondary Fluid - Replace