GM Service Manual Online
For 1990-2009 cars only
Makes
🢒
Chevrolet
🢒
2004
🢒
Chevy K Silverado - 4WD
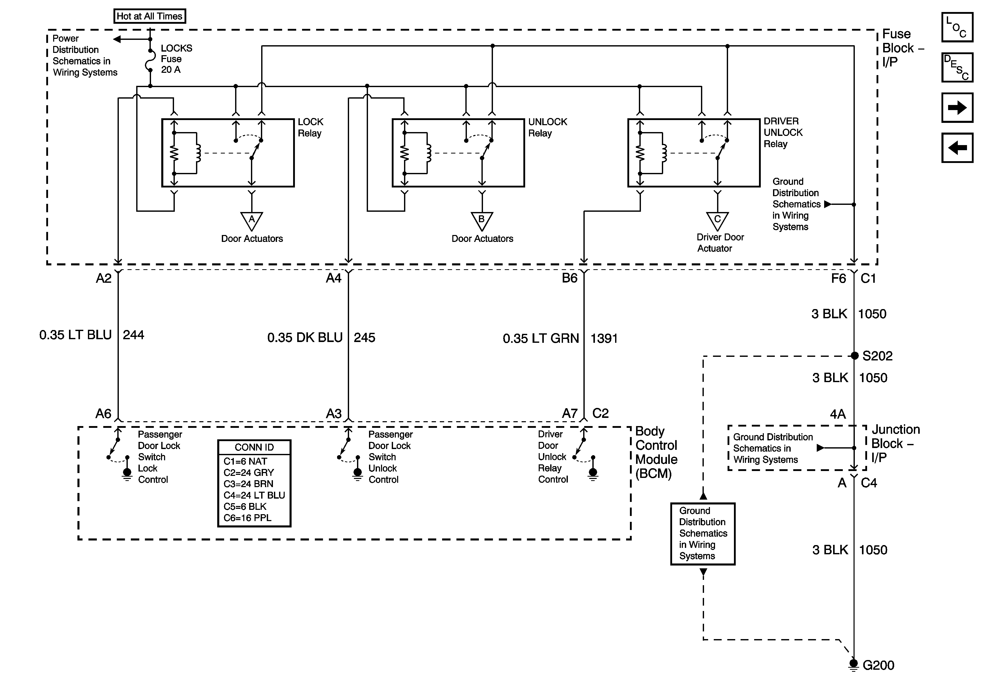
🢒 Relays - Except YE9
Relays - Except YE9
Relays - Except YE9
Master Electrical Component List
Power Door Locks Description and Operation
Actuators - Except YE9
Switches - Except YE9
LBEC 1, LBEC 2, and MBEC 1 Fuses
Actuators - Except YE9
G200 - 3 of 3
G200 - 1 of 3
G200 - 1 of 3