GM Service Manual Online
For 1990-2009 cars only
Makes
🢒
Chevrolet
🢒
2004
🢒
Chevy K Silverado - 4WD
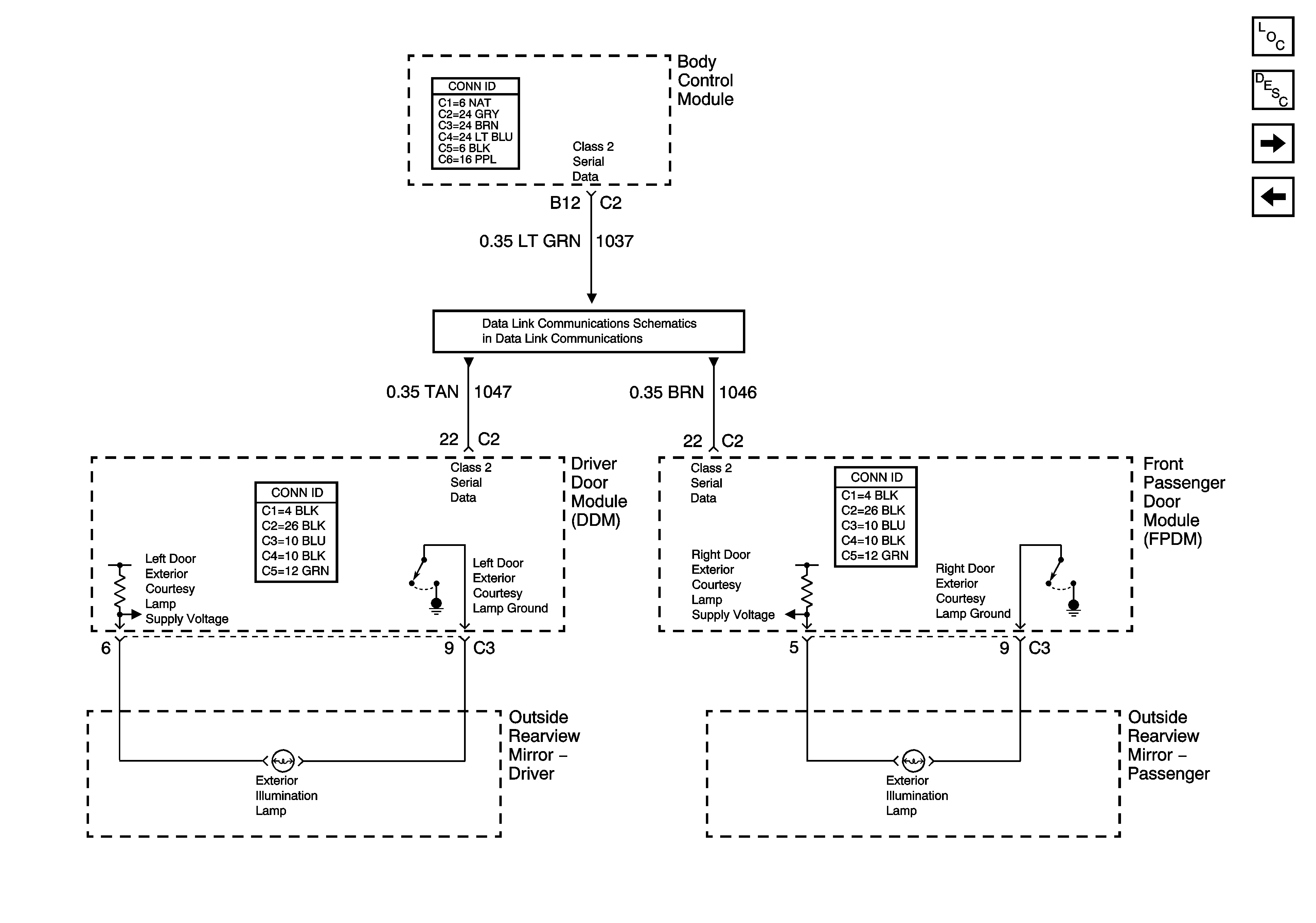
🢒 Exterior Illumination Lamps
Exterior Illumination Lamps
Exterior Illumination Lamps
Master Electrical Component List
Exterior Lighting Systems Description and Operation
Backup Lamps - Chevrolet
Right Turn Signals - Export - Chevrolet
SP205 - 1 of 2