GM Service Manual Online
For 1990-2009 cars only
Makes
🢒
Chevrolet
🢒
2004
🢒
Chevy K Silverado - 4WD
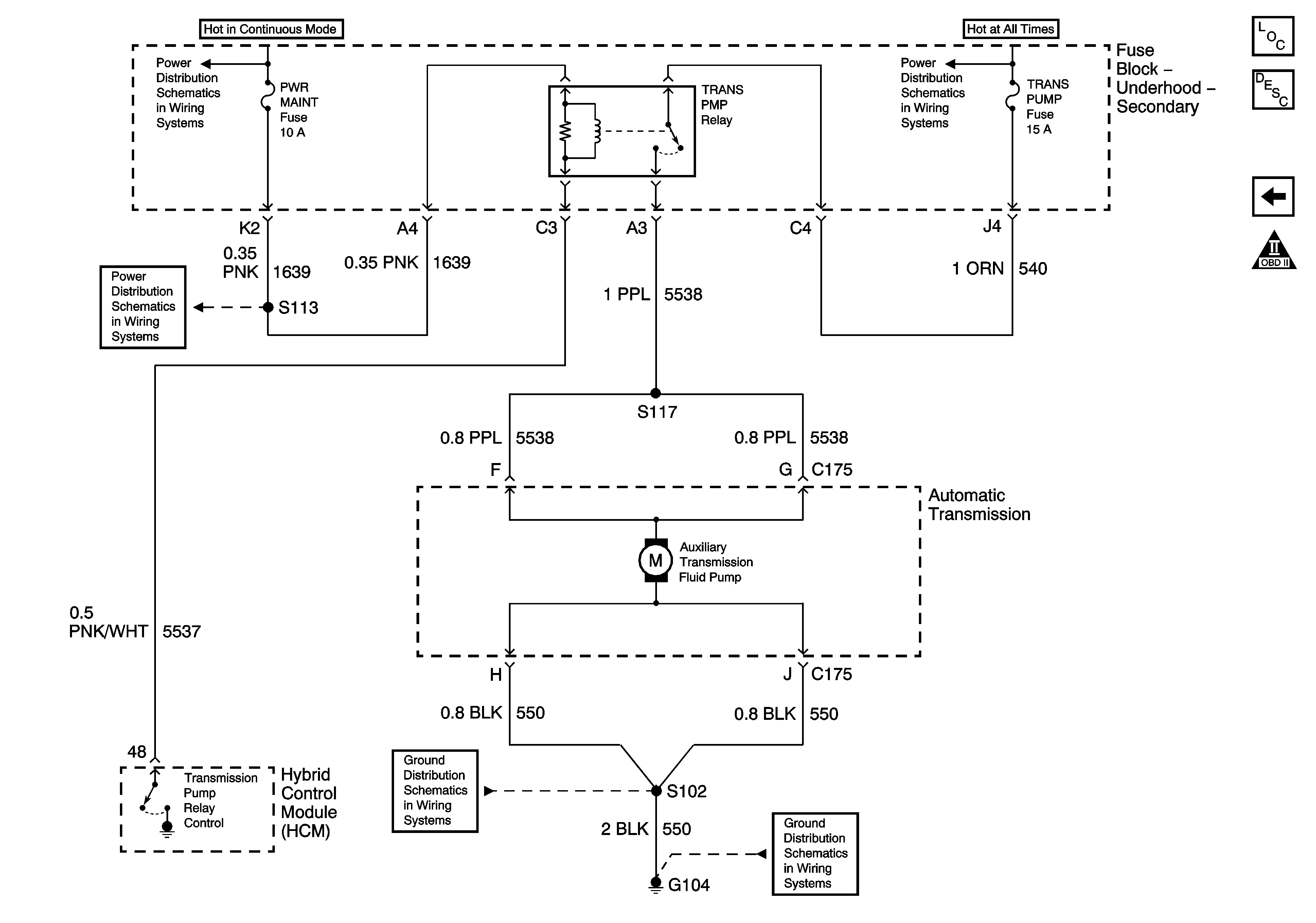
🢒 Auxiliary Pump Controls - Hybrid Only
Auxiliary Pump Controls - Hybrid Only
Auxiliary Pump Controls - Hybrid Only
Master Electrical Component List
Transmission Component and System Description
Vehicle Speed and 4WD Signal
OBD II Symbol Description Notice
Continuous Mode Bus Bar (HP2)
Continuous Mode Bus Bar (HP2)
Continuous Mode Bus Bar (HP2)
G104, G106, and G107
G104, G106, and G107