GM Service Manual Online
For 1990-2009 cars only

DTC P2797 M33 Only


Object Number: 1361700  Size: LF
Master Electrical Component List
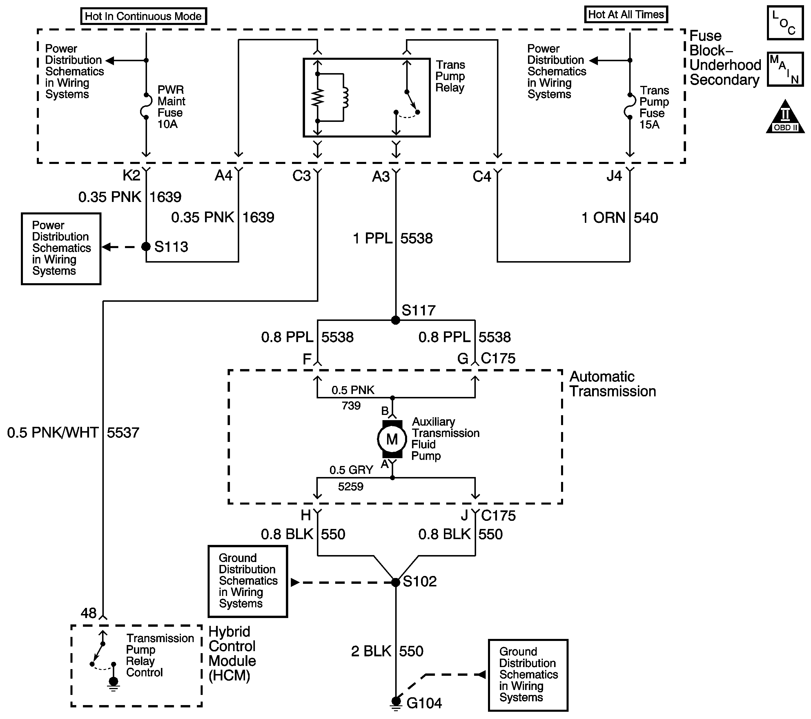
Automatic Transmission Controls Schematics
OBD II Symbol Description Notice

Circuit Description

The Auxiliary Transmission Fluid Pump is an electrical device that is used with the Auxiliary Transmission Fluid Pump Relay to maintain Transmission Fluid line pressure to the forward clutch during Engine Idle Off mode. Engine Idle Off mode may also be referred to as PHT Engine Idle Off State. The Auxiliary Transmission Fluid Pump Relay receives voltage through the Battery Positive voltage circuit. The Auxiliary Transmission Fluid Pump attaches to the transmission valve body assembly. The Hybrid Control Module (HCM) controls the Auxiliary Transmission Fluid Pump by providing the ground path on the Auxiliary Transmission Fluid Pump relay control circuit. The PCM monitors the Transmission Fluid Pressure Switch (TFP) in order to determine the Auxiliary Transmission Fluid Pump operational status. When the Auxiliary Transmission Fluid Pump is commanded ON by the HCM during engine idle OFF mode, the TFP D4 switch remains closed, as there is no loss of line pressure. This indicates to the PCM that no gear selector position change has been detected.

When the HCM detects a TFP Switch signal C (D4) state change while in engine idle off mode, then DTC P2797 sets. DTC P2797 is a type B DTC.

Conditions for Running the DTC

    • The system voltage is 10-18 volts.
    • Power Maintain relay is ON.
    • Accelerator pedal is not applied.
    • Hood switch is closed.
    • Vehicle is not in 4WD low.
    • 14V Bus load is less than 1.5 kw.
    • Skip impending is FALSE.
    • Engine speed is below 1000 RPM.
    • Not in EPTO continuous mode.
    • HVAC system is not requesting engine ON.
    • Engine run time is greater than 30 seconds.
    • Transmission is in D4, D3 or PARK for greater than 5 seconds.
    • Tow/Haul mode is not selected.
    • Transmission temperature is between 21°-104°C (70°-219°F).
    • More than 5 seconds has elapsed since the exit of the last IEO.
    • PRNDL is in D4, D3 and Brake Pedal is applied or PRNDL is in PARK.
    • Vehicle speed is less than 30 km/h (19 mph) then drops to 2 km/h (1 mph), or vehicle speed is greater than 30 km/h (19 mph) then drops to less than 20 km/h (12 mph).
    • If IAT is less than 10°C (50°F), ECT must be above 75°C (167°F).
    • If IAT is less than 15°C (59°F), ECT must be above 60°C (140°F).
    • If IAT is greater than 22°C (72°F), ECT must be between 45°C (113°F) and 150°C (302°F).
    • 42 Volt Battery Voltage is greater than 34 V.
        42 Volt Battery has enough state-of-charge to sustain EIO mode for greater than 15 seconds.

Conditions for Setting the DTC

DTC P2797 sets if the following condition occurs 3 consecutive times in the same trip.

The TFP switch state changes from either D3 or D4 to any other state while in engine idle off mode.

Action Taken When the DTC Sets

    • The PCM illuminates the malfunction indicator lamp (MIL) during the second consecutive trip in which the Conditions for Setting the DTC are met.
    • The HCM inhibits Auxiliary Transmission Fluid Pump operation.
    • The HCM inhibits Engine Idle Off mode.
    • The PCM records the operating conditions when the Conditions for Setting the DTC are met. The PCM stores this information as Freeze Frame and Failure Records.
    • The PCM stores DTC P2797 in PCM history during the second consecutive trip in which the Conditions for Setting the DTC are met.

Conditions for Clearing the MIL/DTC

    • The PCM turns OFF the MIL during the third consecutive trip in which the diagnostic test runs and passes.
    • A scan tool can clear the MIL/DTC.
    • The PCM clears the DTC from PCM history if the vehicle completes 40 warm-up cycles without an emission-related diagnostic fault occurring.
    • The PCM cancels the DTC default actions when the fault no longer exists and/or the ignition switch is OFF long enough in order to power down the PCM.

Diagnostic Aids

    • The Auxiliary Transmission Fluid Pump Relay can be controlled using a Scan Tool. This feature is located in the Transmission Output Controls on the scan tool.
    • Inspect for restricted Auxiliary Transmission Fluid Pump pickup filter.
    • Inspect for leaking at the Auxiliary Transmission Fluid Pump mounting surface.
    • Inspect charging system and battery voltage for correct operation.
    • Ensure all Engine Idle Off enabling criteria have been met to ensure auxiliary transmission fluid pump operation is possible.
    • For an intermittent condition, refer to Intermittent Conditions in Engine Controls - 4.8L, 5.3L and 6.0L.

Test Description

The numbers below refer to the step numbers on the diagnostic table.

  1. This step verifies if the Auxiliary Transmission Fluid pump is operational.

  2. This step tests for the Auxiliary Transmission Fluid pump pressure.

DTC P2797 (M33 Only)

Step

Action

Values

Yes

No

1

Did you perform the Diagnostic System Check - Engine Controls?

--

Go to Step 2

Go to Diagnostic System Check - Engine Controls in Engine Controls - 4.8L, 5.3L and 6.0L

2

Inspect for correct transmission fluid level. Refer to Transmission Fluid Check .

Did you perform the fluid checking procedure?

--

Go to Step 3

--

3

  1. Turn ON the ignition, with the engine OFF.
  2. With a scan tool, record the Freeze Frame and Failure Records.
  3. Clear the DTCs.
  4. Command the Auxiliary Transmission Fluid pump relay ON and OFF with a scan tool.

Listen for the Auxiliary Transmission Fluid Pump running. Can you hear the Auxiliary Transmission Pump running when you turn it ON with a scan tool?

--

Go to Step 4

Go to DTC P2796

4

  1. Turn OFF the ignition.
  2. Install the Transmission Fluid PSI gage at the case tap.
  3. Turn ON the ignition, with the engine OFF.
  4. Command the Auxiliary Transmission Fluid pump relay ON with a scan tool.

Is the pressure above the specified value?

16 PSI

Go to Step 7

Go to Step 5

5

Inspect the Auxiliary Transmission Fluid Pump for a restricted filter, loose mounting bolts or leaking gasket.

Did you find and correct the condition?

--

Go to Step 8

Go to Step 6

6

Replace the auxiliary transmission fluid pump.

Did you complete the replacement?

--

Go to Step 8

--

7

Replace the TFP manual valve position switch. Refer to Valve Body and Pressure Switch Replacement .

Did you complete the replacement?

--

Go to Step 8

--

8

Perform the following procedure in order to verify the repair:

  1. Select DTC.
  2. Select Clear Info.
  3. Operate the vehicle under the following condition:
  4. Operate the vehicle in engine idle off mode and verify the auxiliary transmission fluid pump is on.

  5. Select Specific DTC.
  6. Enter DTC P2797.

Has the DTC run and passed?

--

Go to Step 9

Go to Step 2

9

With a scan tool, observe the stored information, capture info and DTC Info.

Does the scan tool display any DTCs that you have not diagnosed?

--

Go to Diagnostic Trouble Code (DTC) List in Engine Controls - 4.8L, 5.3L and 6.0L

System OK