GM Service Manual Online
For 1990-2009 cars only

Slave Receptacle Harness Replacement Ambulance/Maintenance Body

Removal Procedure

    Caution: Refer to Battery Disconnect Caution in the Preface section.


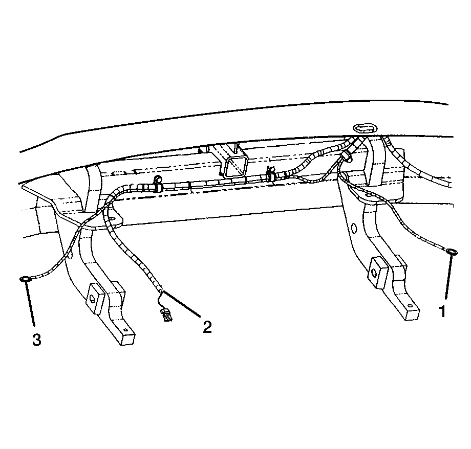
    Object Number: 1706661  Size: SH
  1. Disconnect the battery cables. Refer to Battery Cable Disconnect and Connection .
  2. Trace the negative slave receptacle cable connector (1) to the cable ground connection.
  3. Disconnect the negative slave receptacle ground cable from the ground connection.
  4. Trace the positive slave receptacle cable connector (3) to the 24V battery connection.
  5. Disconnect the positive slave receptacle cable (3) from the 24V battery connection.

  6. Object Number: 1700940  Size: SH
  7. Disconnect the slave receptacle connectors from the slave receptacle. Refer to Slave Receptacle Replacement .
  8. Remove the fasteners from the clamps securing the slave receptacle harness and the blackout (B/O) harness.
  9. Remove the slave receptacle harness from the bumper assembly.

Installation Procedure


    Object Number: 1700940  Size: SH

    Important: Verify all connections are clean prior to installation.

  1. Position the slave receptacle harness onto the bumper assembly.
  2. Install the 3 clamps and the fasteners onto the slave receptacle harness and the blackout (B/O) harness.
  3. Connect the slave receptacle connectors to the slave receptacle. Refer to Slave Receptacle Replacement .
  4. Install the positive slave receptacle cable in the same routing location as removed.

  5. Object Number: 1706661  Size: SH
  6. Connect the positive slave receptacle cable connector (3) to the 24V battery connection.
  7. Install the negative slave receptacle cable in the same routing location as removed.
  8. Connect the negative slave receptacle connector (1) to the cable ground connection.
  9. Connect the battery cables. Refer to Battery Cable Disconnect and Connection .

Slave Receptacle Harness Replacement LSSV

Removal Procedure

    Caution: Refer to Battery Disconnect Caution in the Preface section.


    Object Number: 1706972  Size: SH
  1. Disconnect the battery cables. Refer to Battery Cable Disconnect and Connection .
  2. Trace the negative slave receptacle cable connector (2) to the cable ground connection.
  3. Disconnect the negative slave receptacle ground cable from the ground connection.
  4. Trace the positive slave receptacle cable connector (1) to the 24V battery connection.
  5. Disconnect the positive slave receptacle cable (3) from the 24V battery connection.

  6. Object Number: 1706974  Size: SH
  7. Disconnect the slave receptacle connectors from the slave receptacle. Refer to Slave Receptacle Replacement .
  8. Remove the wiring harness straps securing the slave receptacle harness and the blackout (B/O) harness.
  9. Remove the slave receptacle harness from the bumper assembly.

Installation Procedure


    Object Number: 1706974  Size: SH

    Important: Verify all connections are clean prior to installation.

  1. Position the slave receptacle harness onto the bumper assembly.
  2. Install the 3 clamps and the fasteners onto the slave receptacle harness and the blackout (B/O) harness.
  3. Connect the slave receptacle connectors to the slave receptacle. Refer to Slave Receptacle Replacement .
  4. Install the positive slave receptacle cable in the same routing location as removed.

  5. Object Number: 1706972  Size: SH
  6. Connect the positive slave receptacle cable connector (1) to the 24V battery connection.
  7. Install the negative slave receptacle cable in the same routing location as removed.
  8. Connect the negative slave receptacle connector (2) to the cable ground connection.
  9. Connect the battery cables. Refer to Battery Cable Disconnect and Connection .