GM Service Manual Online
For 1990-2009 cars only
Figure 1:

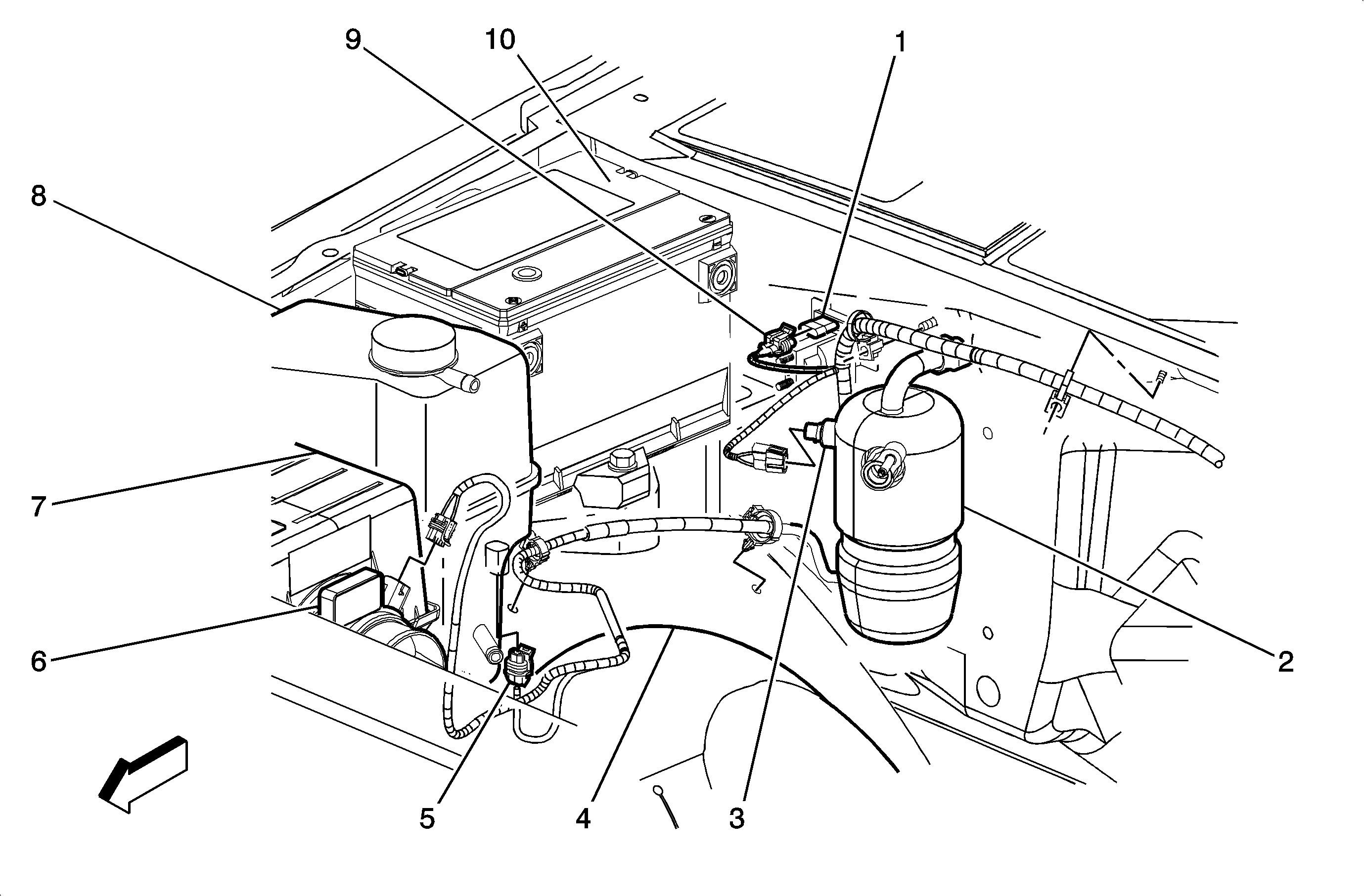
Left Front Corner of the Engine Compartment (20/30 Series and HP2)


Object Number: 1454669  Size: LF
(1)Junction Block - Underhood
(2)Battery - Left
Figure 2:

Left Front Corner of Engine Compartment - 10 Series Except HP2


Object Number: 1539373  Size: MF
(1)Battery - Left
(2)Negative Battery Cable
(3)Generator Battery Control Module
Figure 3:

Right Side of Engine Compartment


Object Number: 1554342  Size: MF
(1)Auxiliary Battery Relay (TP2)
(2)A/C Accumulator
(3)A/C Low Pressure Switch
(4)Inner Wheel Well
(5)Coolant Level Switch Connector Diesel and 8.1L
(6)Mass Air Flow (MAF) Sensor
(7)Air Cleaner Assembly
(8)Engine Coolant Recovery Reservoir
(9)Auxiliary Battery Relay Electrical Connector (TP2)
(10)Battery Right (TP2)
Figure 4:

Starter - Gas Except HP2


Object Number: 1454470  Size: MF
(1)Starter Solenoid
(2)Starter
Figure 5:

Starter - Diesel


Object Number: 1372695  Size: LF
(1)Fuel Injector 7
(2)Glow Plug 7
(3)Fuel Injector 5
(4)Glow Plug 5
(5)Fuel Injector 3
(6)Glow Plug 3
(7)Fuel Injector 1
(8)Glow Plug 1
(9)Camshaft Position (CMP) Sensor
(10)Crankshaft Position (CKP) Sensor
(11)Starter
(12)Starter Solenoid
Figure 6:

Generator - 4.3L


Object Number: 405657  Size: MF
(1)Air Cleaner Assembly
(2)Mass Air Flow (MAF)/Intake Air Temperature (IAT) Sensor Assembly
(3)Air Inlet Tube
(4)Generator
Figure 7:

Generator - Gas Except 4.3L or HP2


Object Number: 349757  Size: MF
(1)Generator
(2)Battery Cable Junction Block
(3)Battery Cable Bracket
Figure 8:

Generators - Diesel


Object Number: 741105  Size: MF
(1)Generator - Right
(2)Engine
(3)Generator - Left - K65 or 8X5
Figure 9:

Energy Storage Box (HP2)


Object Number: 1395899  Size: LF
(1)Energy Storage Control Module (ESCM)
(2)400A Fuse Holder
(3)Energy Storage Box (ESB) Fan
(4)Battery Cut Off Switch
(5)Voltage Sensor - 1
(6)Temperature Sensor - Battery 1
(7)C340
(8)Battery 1
(9)Voltage Sensor - 2
(10)Temperature Sensor - Battery 2
(11)Battery 2
(12)Current Sensor
(13)Auxiliary Power Outlet
(14)Voltage Sensor - 3
(15)Temperature Sensor - Battery 3
(16)Battery 3
(17)Voltage Sensor - 4
(18)Auxiliary Power Outlet Connector
(19)C341
(20)Service Disconnect Switch
(21)G311
(22)G310
Figure 10:

Battery Cable, 3 - Phase Cable, and Power Steering Pump Harnesses (HP2)


Object Number: 1361152  Size: LF
(1)3-Phase Cable
(2)Power Steering Pump Harness
(3)Auxiliary Battery Cable Jumpstart Lead
(4)Dash Panel
(5)Auxiliary Battery Cable Terminal to Fuse Block - Underhood
(6)Battery Cable Terminal to Fuse Block - Underhood
(7)Positive Battery Cable
(8)Negative Battery Terminal
(9)Power Steering Pump Connector C2
(10)G100
(11)G105
(12)Starter/Generator Rotor
(13)Starter/Generator Stator
(14)Battery Cable Harness
(15)C121
(16)C122
(17)Starter/Generator Control Module
Figure 11:

Left Front of Engine Compartment


Object Number: 1454545  Size: LF
(1)Hybrid Control Module (HCM)
Figure 1:

24V Slave Start Receptacle Assembly - Ambulance/Maintenance Body


Object Number: 1704693  Size: MF
(1)Battery Negative Ground (Black)
(2)Battery Positive Ground (Red)
(3)Slave Start Receptacle Cover
(4)Slave Start Receptacle
Figure 2:

24V Slave Start Receptacle Assembly - LSSV


Object Number: 1703355  Size: MF
(1)Battery Negative Cable
(2)Mounting Bracket
(3)Slave Start Receptacle Cover
(4)Slave Start Receptacle
(5)Battery Positive Cable
Figure 3:

Bulkhead Junction Block


Object Number: 1703356  Size: MF
(1)Junction Block
(2)Jumper Plate
(3)Ground Connection
(4)Mounting Bracket
(5)Battery Negative Cable - Right
(6)Negative Winch Prep Cable - Rear
(7)Positive Winch Prep Cable - Rear
(8)Battery Positive Cable - Right
(9)Battery Positive Cable - Frame Mounted
Figure 4:

Junction Block Underhood


Object Number: 1704696  Size: MF
(1)Battery Positive Cable
(2)Junction Block
(3)Generator Output Cable
(4)Junction Block Post Nut
(5)Positive Winch Prep Cable - Front
(6)Junction Block Post
Figure 5:

Generators - Diesel


Object Number: 741105  Size: MF
(1)Generator - Right (24V)
(2)Engine
(3)Generator - Left (12V)
Figure 6:

Left Front Corner of the Engine Compartment


Object Number: 1703357  Size: MF
(1)Fuse/Relay Center Underhood
(2)Battery - Left (24V)
(3)Junction Block Underhood