GM Service Manual Online
For 1990-2009 cars only
Figure 1:

Front Lamps


Object Number: 899933  Size: MF
(1)Headlamp - High Beam - Right
(2)Daytime Running Lamp (DRL) - Right
(3)Exterior Illumination Lamp
(4)Headlamp - High Beam - Left
(5)Headlamp - Low Beam - Left
(6)Marker Lamp - Left Front
(7)Park/Turn Signal Lamp - Left Front
(8)Daytime Running Lamp (DRL) - Left
(9)Fog Lamp - Left Front
(10)Fog Lamp - Right Front
(11)Marker Lamp - Right Front
(12)Park/Turn Signal Lamp - Right Front
(13)Headlamp - Low Beam - Right
Figure 2:

Roof Marker and Clearance Lamps


Object Number: 762107  Size: MF
(1)Roof Marker Lamp and Harness - Right
(2)Roof Marker Lamp and Harness - Left
(3)Clearance Lamps and Harness
Figure 3:

LR of the Engine Compartment (5Y0)


Object Number: 1371090  Size: LF
(1)Brake/Clutch Harness
(2)Fuse Block - Underhood
(3)Emergency Vehicle Roof Lamp Relay
(4)C160
(5)C119
(6)C161
(7)Chassis Harness
Figure 4:

Junction Block -- Rear Lamps


Object Number: 764894  Size: MF
(1)Frame
(2)Junction Block--Rear Lamps
(3)Junction Block Mounting Bracket
Figure 5:

Ambient Light/Sunload Sensor Assembly


Object Number: 310130  Size: MF
(1)Instrument Panel Bracket
(2)Ambient Light Sensor Harness (CJ3) or Ambient Light/Sunload Sensor Harness (CJ2)
(3)Ambient Light Sensor Connector (CJ3) or Ambient Light/Sunload Sensor Assembly Connector (CJ2)
(4)Ambient Light Sensor (CJ3) or Ambient Light/Sunload Sensor Assembly(CJ2)
(5)Instrument Panel
Figure 6:

Steering Column


Object Number: 349986  Size: LF
(1)Hazard Button
(2)Multifunction Lever
(3)Cruise Control Switches
(4)Tilt Steering Actuator
(5)Inflatable Restraint Harness
(6)C201 Inline Connector
Figure 7:

Stop Lamp Switch


Object Number: 349997  Size: MF
(1)Vacuum Booster
(2)Brake Pedal
(3)Stop Lamp Switch
(4)Accelerator Pedal
(5)Stop Lamp Switch Retainer
(6)Dash Panel
Figure 8:

Above Front Windshield


Object Number: 1322532  Size: LF
(1)Vanity Mirror Lamp - Left Connector
(2)Left Sunshade
(3)Right Sunshade
(4)Vanity Mirror Lamp - Right Connector
(5)Vanity Mirror Lamp - Right
(6)Inside Rearview Mirror
(7)Vanity Mirror Lamp - Left
Figure 9:

Overhead Console


Object Number: 851794  Size: LF
(1)Cellular Microphone
(2)Courtesy/Reading Lamps - Front
(3)C355
(4)Cellular Microphone Connector
(5)Overhead Console
Figure 10:

Instrument Panel Switches-LH


Object Number: 310113  Size: MF
(1)Automatic Transfer Case (ATC) Electrical Connector
(2)Automatic Transfer Case (ATC) Electrical Connector
(3)Automatic Transfer Case (ATC) Select Switch
(4)Cargo/Fog Lamp Switch
(5)Headlamp and Panel Dimmer Switch
(6)Instrument Panel
(7)Headlamp and Panel Dimmer Switch Electrical Connector
(8)Cargo/Fog Lamp Switch Electrical Connector
Figure 11:

Accessory Switch Housing


Object Number: 350001  Size: LF
(1)Fog Lamp Switch (Export)
(2)Roof Beacon Switch (5X7, 5Y0, 5G4, or TRW)
(2)Roof Beacon Switch (5X7, 5Y0, 5G4, or TRW)
(3)Accessory Switch Housing
(3)Accessory Switch Housing
(4)Instrument Panel
Figure 12:

Manual Transmission - NV 3500


Object Number: 787990  Size: LF
(1)Vehicle Speed Sensor
(2)NV 3500 Transmission
(3)Oxygen Sensor Downstream Connector
(4)Backup Lamp Switch
(5)Oxygen Sensor Upstream Connector
Figure 13:

Driver Door Courtesy Lamp (RH Similar)


Object Number: 350018  Size: MF
(1)Door Courtesy Lamp Electrical Connector
(2)Door Courtesy Lamp
(3)Driver Door
Figure 14:

LR Fender (NYS or E63)


Object Number: 1373390  Size: LF
(1)LR Fender
(2)Clearance Lamp - LR
(3)Clearance Lamp - LF
Figure 15:

Right Rear Fender (NY5 or E63)


Object Number: 1461306  Size: LF
(1)Right Rear Fender
(2)Clearance Lamp - Right Front
(3)Clearance Lamp - Right Rear
Figure 16:

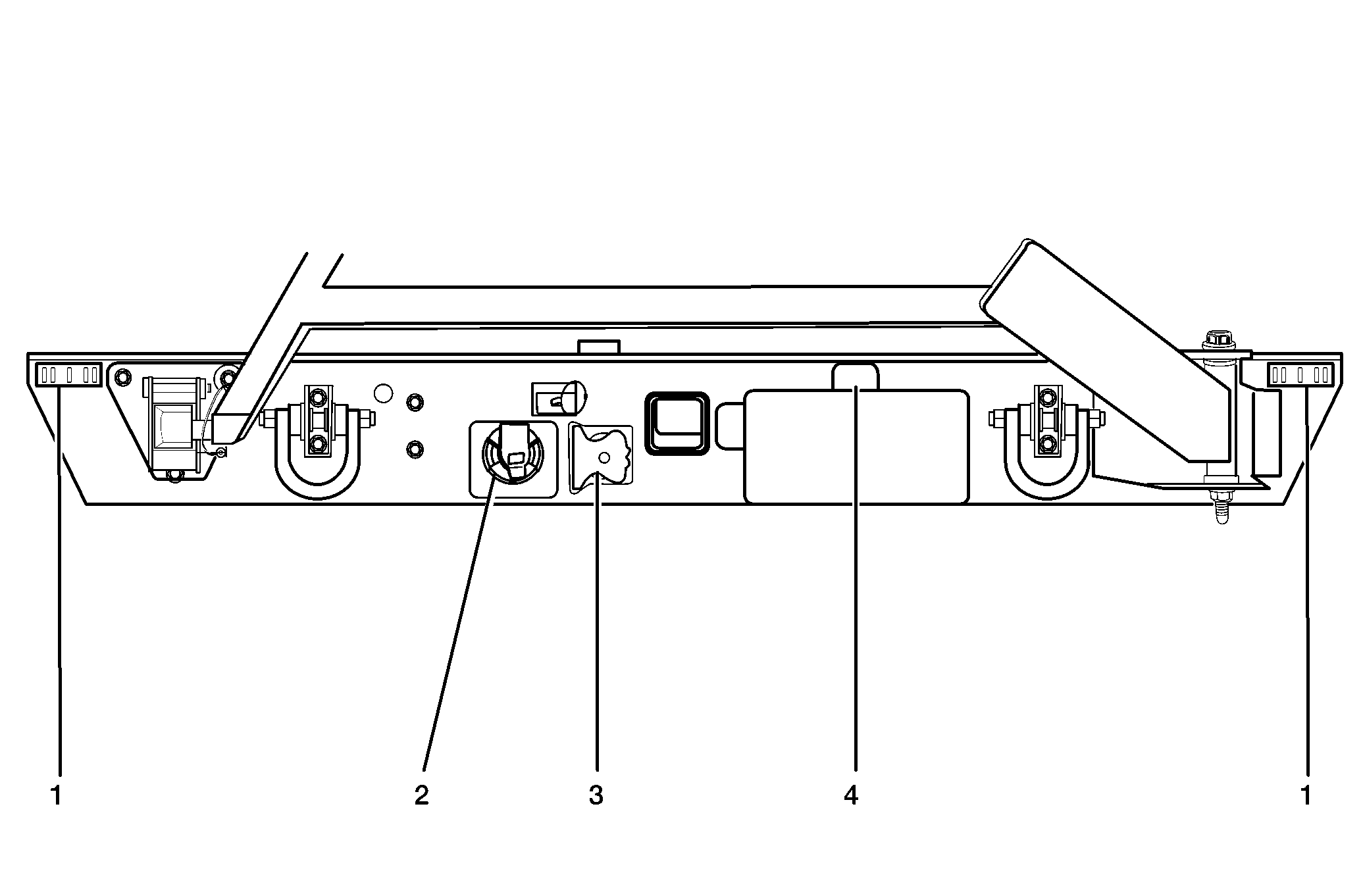
Rear Lamps


Object Number: 914265  Size: MF
(1)Tail/Stop Lamp - Left
(2)Cargo Lamp
(3)Center High Mounted Stop Lamp (CHMSL)
(4)Cargo Lamp
(5)Tail/Stop Lamp - Right
(6)Turn Signal Lamp - RR
(7)Backup Lamp - Right
(8)Marker Lamp - RR
(9)License Lamp - Right
(10)License Lamp - Left
(11)Marker Lamp - Left Rear
(12)Backup Lamp - Left
(13)Turn Signal Lamp - Left Rear
Figure 17:

License Lamp, w/o Bumper


Object Number: 350024  Size: MF
(1)Frame
(2)License Lamp Electrical Connector
(3)License Lamp
Figure 18:

Marker Lamp - Tail Gate (NY5 or E63)


Object Number: 1461301  Size: LF
(1)Marker Lamp - Tail Gate
(2)Tail Gate
Figure 19:

Trailer Wiring Connector, Heavy Duty


Object Number: 349960  Size: MF
(1)Trailer Wiring Connector
(2)Trailer Wiring Receptacle
(3)Frame
(4)Trailer Hitch Receiver
Figure 20:

Camper and Trailer Harness Routing


Object Number: 1560530  Size: LF
(1)Backup Alarm
(2)Chassis Harness
(3)C429 Trailer Harness to Chassis Harness
(4)Trailer Connector
(5)Junction Block-Rear
(6)C428 Trailer Harness to Chassis Harness
(7)Camper Harness (Blunt Cuts)
Figure 1:

Front Lighting - LSSV


Object Number: 1692532  Size: MF
(1)Blackout (B/O) Marker Lamps
(2)Blackout (B/O) Headlamp
Figure 2:

Front Lighting (Ambulance/Maintenance Body)


Object Number: 1693355  Size: MF
(1)Blackout (B/O) Headlamp
(2)Headlamp Harness Connector
(3)Blackout (B/O) Marker Lamp Fastening Nuts
(4)Marker Lamp Harness Connector
(5)Marker Lamps
(6)Headlamp Fastening Nut
(7)Washer
(8)Headlamp Ground Lead
Figure 3:

Rear Lighting - LSSV


Object Number: 1692716  Size: MF
(1)Blackout (B/O) Marker/Stoplamps
(2)Trailer Connector (Commercial)
(3)Trailer Connector (NATO 12 Pin)
(4)License Plate Lamp
Figure 4:

Rear Lighting - Maintenance Body


Object Number: 1692529  Size: MF
(1)Marker Lamps
(2)Turn Signal Lamps
(3)Tail/Stoplamps
(4)Backup Lamps
(5)License Plate Lamp
(6)Blackout (B/O) Marker/Stop Lamps
(7)Trailer Connector (NATO 12 Pin)
(8)Trailer Connector (Commercial)
Figure 5:

Rear Lighting - Ambulance Body


Object Number: 1692527  Size: MF
(1)Reflectors
(2)Taillamps with Blackout (B/O) Lamps (LED)
(3)License Plate Lamp
(4)Backup Lamps