GM Service Manual Online
For 1990-2009 cars only
Figure 1:

Forward Lamp Harness Routing


Object Number: 1543921  Size: LF
(1)Fuse Block - Underhood - Cooling Fan Connector
(2)Fuse Block - Underhood Cooling Fan
(3)C180
(4)Fuse Block - Underhood C4
(5)Battery Positive Voltage
(6)C104
(7)C125 (VYU)
(8)S100
(9)G100
(10)C127(VYU)
(11)S101
(12)G115
Figure 2:

LR of the Engine Compartment (9L4)


Object Number: 1371094  Size: LF
(1)Brake/Clutch Harness
(2)C119
(3)I/P Harness
(4)Engine Harness
(5)Fuse Block - Underhood
(6)Negative Battery Cable Harness
(7)C117
(8)Accessory Jumper Harness
(9)C160
Figure 3:

LR of the Engine Compartment (5Y0)


Object Number: 1371090  Size: LF
(1)Brake/Clutch Harness
(2)Fuse Block - Underhood
(3)Emergency Vehicle Roof Lamp Relay
(4)C160
(5)C119
(6)C161
(7)Chassis Harness
Figure 4:

Battery Cable, 3 - Phase Cable, and Power Steering Pump Harnesses (HP2)


Object Number: 1361152  Size: LF
(1)3-Phase Cable
(2)Power Steering Pump Harness
(3)Auxiliary Battery Cable Jumpstart Lead
(4)Dash Panel
(5)Auxiliary Battery Cable Terminal to Fuse Block - Underhood
(6)Battery Cable Terminal to Fuse Block - Underhood
(7)Positive Battery Cable
(8)Negative Battery Terminal
(9)Power Steering Pump Connector C2
(10)G100
(11)G105
(12)Starter/Generator Rotor
(13)Starter/Generator Stator
(14)Battery Cable Harness
(15)C121
(16)C122
(17)Starter/Generator Control Module
Figure 5:

C100, C102 and C152


Object Number: 413351  Size: MF
(1)C102
(2)Fuse Block - Underhood Support Mount
(3)C152
(4)C100
Figure 6:

C104, C114, C150, C151, C153, C154, and PTO Relay


Object Number: 814636  Size: LF
(1)Fuse Block - Underhood
(2)C153 - Engine Harness to Transfer Case Harness
(3)C150 - Transfer Case Harness to Axle Jumper Harness
(4)Transfer Case Harness
(5)C151 - I/P Harness to Automatic Transfer Case Harness (w/NP8/NR4) or C104 - I/P Harness to Forward Lamp Harness (w/o NP8/NR4)
(6)C154 - I/P Harness to Automatic Transfer Case Harness (w/NP8/NR4) or C114 - Chassis Harness to I/P Harness (w/JL4/NYS)
(7)Power Take-Off (PTO) Relay
Figure 7:

Engine Harness - 4.3L


Object Number: 1402445  Size: LF
(1)Intake Air Temperature (IAT)/ Mass Air Flow (MAF) Sensor Connector
(2)Generator Connector
(3)Coolant Level Switch Connector
(4)Manifold Absolute Pressure (MAP) Sensor Connector
(5)A/C Low Pressure Switch Connector
(6)Auxiliary Battery Relay Connector (TP2)
(7)S102
(8)S103
(9)Heated Oxygen Sensor (HO2S) Bank 2 Sensor 1 Connector
(10)Heated Oxygen Sensor (HO2S) Bank 2 Sensor 2 Connector
(11)Heated Oxygen Sensor (HO2S) Bank 1 Sensor 2 Connector
(12)Vehicle Speed Sensor (VSS)
(13)Backup Lamp Switch (Manual Trans)
(14)Heated Oxygen Sensor (HO2S) Bank 1 Sensor 1 Connector
(15)Camshaft Position (CMP) Sensor Connector
(16)Engine Oil Pressure (EOP) Sensor Connector
(17)Engine Coolant Temperature (ECT) Sensor Connector
(18)Idle Air Control (IAC) Motor Connector
(19)S110
(20)Throttle Position (TP) Sensor Connector
(21)C153
(22)C100
(23)Fuse Block - Underhood C2
(24)C152
(25)Powertrain Control Module (PCM) C2
(26)Powertrain Control Module (PCM) C1
(27)A/C Compressor Clutch Connector
(28)A/C Refrigerant Pressure Sensor Connector
Figure 8:

Lower Right Side of the Engine - Diesel


Object Number: 768355  Size: MF
(1)Engine - 6.6L Diesel
(2)Engine Harness
(3)G102
(4)Auxiliary Negative Battery Ground
(5)Starter Relay Terminal
(6)Starter Solenoid
Figure 9:

Left Side of the Engine (4.8, 5.3, and 6.0L)


Object Number: 1402455  Size: LF
(1)Generator Connector
(2)Evaporative Emission (EVAP) Canister Purge Soleniod
(3)S104
(4)C148
(5)Manifold Absolute Pressure (MAP) Sensor Connector
(6)Knock Sensor (KS) Connector
(7)Knock Sensor (KS) Connector
(8)G104
(9)Camshaft Position (CMP) Sensor Connector
(10)Throttle Actuator Control (TAC) Connector
(11)C153
(12)G102
(13)C100
(14)Fuse Block - Underhood C2
(15)C152
(16)Powertrain Control Module (PCM) C2
(17)Powertrain Control Module (PCM) C1
(18)S110
(19)S103
Figure 10:

Right Side of the Engine (4.8, 5.3, and 6.0L)


Object Number: 1402457  Size: LF
(1)Manifold Absolute Pressure (MAP) Sensor Connector
(2)S102
(3)Auxiliary Battery Relay Connector (TP2)
(4)Evaporative Emission (EVAP) Canister Purge Soleniod
(5)Throttle Actuator Control (TAC) Connector
(6)Coolant Level Switch Connector
(7)Intake Air Temperature (IAT)/ Mass Air Flow (MAF) Sensor Connector
(8)A/C Refrigerant Pressure Sensor Connector
(9)A/C Compressor Clutch Connector
(10)A/C Low Pressure Switch Connector
(11)Engine Oil Level Switch Connector
(12)Camshaft Position (CMP) Sensor Connector
(13)Engine Oil Pressure (EOP) Sensor Connector
Figure 11:

Rear of the Engine (4.8, 5.3, and 6.0L)


Object Number: 1402460  Size: LF
(1)Heated Oxygen Sensor (HO2S) Bank 2 Sensor 1 Connector (Automatic)
(2)Heated Oxygen Sensor (HO2S) Bank 2 Sensor 2 Connector (Automatic)
(3)Heated Oxygen Sensor (HO2S) Bank 2 Sensor 1 Connector (Manual)
(4)Heated Oxygen Sensor (HO2S) Bank 2 Sensor 2 Connector (Manual)
(5)Heated Oxygen Sensor (HO2S) Bank 1 Sensor 2 Connector (Manual)
(6)Vehicle Speed Sensor (VSS) Connector
(7)Backup Lamp Switch Connector
(8)Heated Oxygen Sensor (HO2S) Bank 1 Sensor 1 Connector (Manual)
(9)Heated Oxygen Sensor (HO2S) Bank 1 Sensor 2 Connector (Automatic)
(10)Park/Neutral Position Switch Connector
(11)Heated Oxygen Sensor (HO2S) Bank 1 Sensor 1 Connector (Automatic)
Figure 12:

Left Side of the Engine - Diesel


Object Number: 1870344  Size: LF
(1)A/C Compressor Clutch Connector
(2)A/C Refrigerant Pressure Sensor Connector
(3)Intake Air Temperature (IAT)/Mass Air Flow (MAF) Sensor Connector
(4)Generator - Left Connector
(5)Coolant Level Switch
(6)C108
(7)A/C Low Pressure Switch Connector
(8)S118
(9)C107
(10)Throttle Actuator Control (TAC) Module Connector
(11)Backup Lamp Switch Connector
(12)Vehicle Speed Sensor (VSS) Connector
(13)S127
(14)C100
(15)Fuse Block - Underhood C2
(16)G104
(17)C152
(18)S103
(19)Engine Control Module (ECM) C1 Connector
(20)Engine Control Module (ECM) C2 Connector
(21)Engine Control Module (ECM) C3 Connector
(22)S164
(23)S102
(24)S148
(25)S147
(26)S119
(27)Generator - Right Connector
Figure 13:

Right Side of the Engine - Diesel


Object Number: 1402731  Size: LF
(1)S127
(2)Throttle Actuator Control (TAC) Module Connector
(3)C108
(4)C107
(5)C153
(6)C100
(7)Fuse Block - Underhood C2
(8)C152
(9)Glow Plug Controller Power
(10)Generator - Right Connector
(11)S141
(12)A/C Refrigerant Pressure Sensor Connector
(13)Engine Control Module (ECM) C3 Connector
(14)Engine Control Module (ECM) C2 Connector
(15)Engine Control Module (ECM) C1 Connector
(16)A/C Compressor Clutch Connector
(17)Generator - Left Connector
(18)Intake Air Temperature (IAT)/Mass Air Flow (MAF) Sensor Connector
(19)G102
(20)Coolant Level Switch Connector
(21)A/C Low Pressure Switch Connector
Figure 14:

Left Side of the Engine (8.1L)


Object Number: 1398839  Size: LF
(1)S163 (PTO)
(2)S132
(3)S164 (PTO)
(4)S102
(5)S151
(6)S103
(7)C155
(8)Fuse Block - Underhood C2
(9)PTO Relay Connector
(10)S104
(11)Throttle Actuator Control (TAC) Module C1
(12)Heated Oxygen Sensor (HO2S) Bank 1 Sensor 1
(13)Knock Sensor (KS) - Bank 1
(14)C100
(15)C152
(16)C106 (PTO)
(17)S165 (M74)
(18)S110
(19)G102
(20)Powertrain Control Module (PCM) C2
(21)Powertrain Control Module (PCM) C1
(22)Transmission Control Module (TCM) C1
(23)Transmission Control Module (TCM) C2
Figure 15:

Right Side of the Engine (8.1L)


Object Number: 1398841  Size: LF
(1)Auxiliary Battery Relay Connector (TP2)
(2)A/C Low Pressure Switch Connector
(3)Manifold Absolute Pressure (MAP) Sensor
(4)Engine Coolant Temperature (ECT) Sensor
(5)C149
(6)S157
(7)Coolant Level Switch Connector
(8)S160
(9)Throttle Actuator Control (TAC) Motor Connector C1
(10)C153
(11)A/C Compressor Clutch Connector
(12)A/C Refrigerant Pressure Sensor Connector
(13)Knock Sensor (KS) - Bank 2
(14)Engine Oil Level Switch Connector
(15)Starter Solenoid Power
(16)Heated Oxygen Sensor (HO2S) Bank 2 Sensor 1
Figure 16:

Rear of the Engine (8.1L)


Object Number: 1399200  Size: LF
(1)Heated Oxygen Sensor (HO2S) Bank 2 Sensor 1
(2)Automatic Transmission Input Shaft Speed (At ISS) Sensor
(3)Heated Oxygen Sensor (HO2S) Bank 1 Sensor 2
(4)Heated Oxygen Sensor (HO2S) Bank 2 Sensor 2
(5)Vehicle Speed Sensor (VSS)
(6)Park Neutral Position (PNP) Switch Connector
(7)C145
(8)Heated Oxygen Sensor (HO2S) Bank 2 Sensor 1
Figure 17:

SEO Harness Routing


Object Number: 1370946  Size: LF
(1)C202
(2)Stop Lamp Switch Connector
(3)C160 (5X7, 5Y0)
(4)C119 (9L4)
(5)C250
(6)C216
(7)S223
(8)S220
(9)Roof Beacon Switch Connector (5X7, 5Y0, 5G4, TRW)
(10)Dash Panel
(11)Fuse Block - Mobile Radio (9L4)
(12)S222
(13)S221
(14)Blunt Cut Wires (9L4)
(15)Relay Block - I/P C5
(16)Relay Block - I/P C8
(17)C210
(18)Park Brake Switch Connector
(19)Clutch Pedal Position (CPP) Switch
Figure 18:

Instrument Panel


Object Number: 894047  Size: LF
(1)C104 (YE9)
(2)C106 (PTO)
(3)Fuse Block Underhood - C1
(4)C115 (NYS)
(5)C105 (LB7)
(6)S214 (NP8)
(7)S202
(8)P110
(9)S213
(10)S205
(11)C222 (Except HP2)
(12)C209 (Z55 or E52)
(13)C306
(14)C249
(15)S210 (UQ7 and Y91)
(16)C201
(17)S218
(18)C221
(19)C206 (Y91 or HP2)
(20)S212 (NYS)
(21)P100
(22)C154 (NP1 or NP8)
(23)C102
Figure 19:

Left Front Door Harness


Object Number: 1461388  Size: LF
(1)Door Latch Assembly
(2)Door Frame
(3)Fuse Block - I/P C3
(4)Power Window Motor Connector
Figure 20:

Right Front Door Harness


Object Number: 1461389  Size: LF
(1)Door Frame
(2)Door Latch Assembly
(3)Power Window Motor Connector
(4)Junction Block - I/P C2
Figure 21:

Driver Seat (1 of 2)


Object Number: 854624  Size: LF
(1)C321
(2)Seat Adjuster Switch - Driver
(3)Memory Seat Module - C4
(4)Memory Seat Module - C3
(5)Seat Bolster/Lumbar Switch - Driver
(6)Seat Recliner Motor - Driver
(7)C305
(8)C323
(9)C325
(10)C322
(11)Seat Rear Vertical Motor - Driver
(12)Seat Front Vertical Motor - Driver
(13)Memory Seat Module - C2
(14)Memory Seat Module - C1
(15)Seat Horizontal Motor - Driver
(16)C320
Figure 22:

Driver Seat (2 of 2)


Object Number: 854618  Size: LF
(1)Seat Bolster Motor - Driver
(2)Seat Lumbar Motor - Driver
(3)Heated Seat Element - Driver Cushion
(4)C324
(5)Seat Belt Switch Connector
(6)Heated Seat Element - Driver Cushion Connector
Figure 23:

Front Passenger Seat (1 of 2) (w/ AN3)


Object Number: 854616  Size: LF
(1)Seat Horizontal Motor - Front Passenger
(2)Seat Front Vertical Motor - Front Passenger
(3)Seat Rear Vertical Motor - Front Passenger
(4)C388
(5)C326
(6)C399
(7)Seat Recliner Motor - Front Passenger
(8)Seat Adjuster Switch - Front Passenger
(9)Seat Adjuster Switch Connector
Figure 24:

Front Passenger Seat (2 of 2) (w/ AN3)


Object Number: 854613  Size: LF
(1)Seat Bolster Motor - Front Passenger
(2)Seat Lumbar Motor - Front Passenger
(3)Heated Seat Element - Front Passenger Cushion Connector
(4)C329
Figure 25:

Console Harness


Object Number: 1407819  Size: LF
(1)Auxiliary Power Outlet - Front Connector
(2)S333
(3)S307
(4)S303
(5)Rear Seat Audio (RSA) Controller Connector
(6)Auxiliary Power Outlet - Console Connector
(7)Audio Amplifier Connector C2
(8)Audio Amplifier Connector C1
(9)Cigar Lighter
(10)C306
(11)Speaker - Subwoofer Connector
(12)Speaker - Subwoofer (UQ7)
Figure 26:

Chassis and License Lamp Harnesses


Object Number: 1326843  Size: LF
(1)Suspension Damper Solenoid - RF (ZX3)
(2)Wheel Speed Sensor (WSS) - RF
(3)Suspension Damper Solenoid - RR (ZX3)
(4)License Lamp - Right
(5)G401
(6)License Lamp - Left
(7)Junction Block - Rear Lamps C3
(8)Suspension Damper Solenoid - LR (ZX3)
(9)Fuel Pump and Sender Assembly/Fuel Tank Pressure (FTP) Sensor Connectors
(10)Evaporative Emission (EVAP) Canister Vent Solenoid
(11)S312
(12)Electronic Brake Control Module (EBCM)
(13)Stud #1 Trailer Connector
(14)C198
(15)Fuse Block - Underhood C9
(16)Fuse Block - Underhood C3
(17)C102
(18)Wheel Speed Sensor (WSS) - LF
(19)Suspension Damper Solenoid - LF (ZX3)
(20)C152
(21)S140
(22)Brake Pressure Differential Switch
Figure 27:

Energy Storage Box (ESB), 42V, and Accessory Power Receptacle Harnesses (HP2)


Object Number: 1361153  Size: LF
(1)S430
(2)Chassis
(3)S330
(4)Energy Storage Box (ESB)
(5)Battery Cable Harness (42V)
(6)P105
(7)C140
(8)Starter/Generator Control Module
(9)C122
(10)C121
(11)S121
(12)Accessory Power Receptacle Harness
(13)S120
(14)S326
(15)S332
(16)S331
(17)C341
(18)Accessory Power Receptacle Connector
Figure 28:

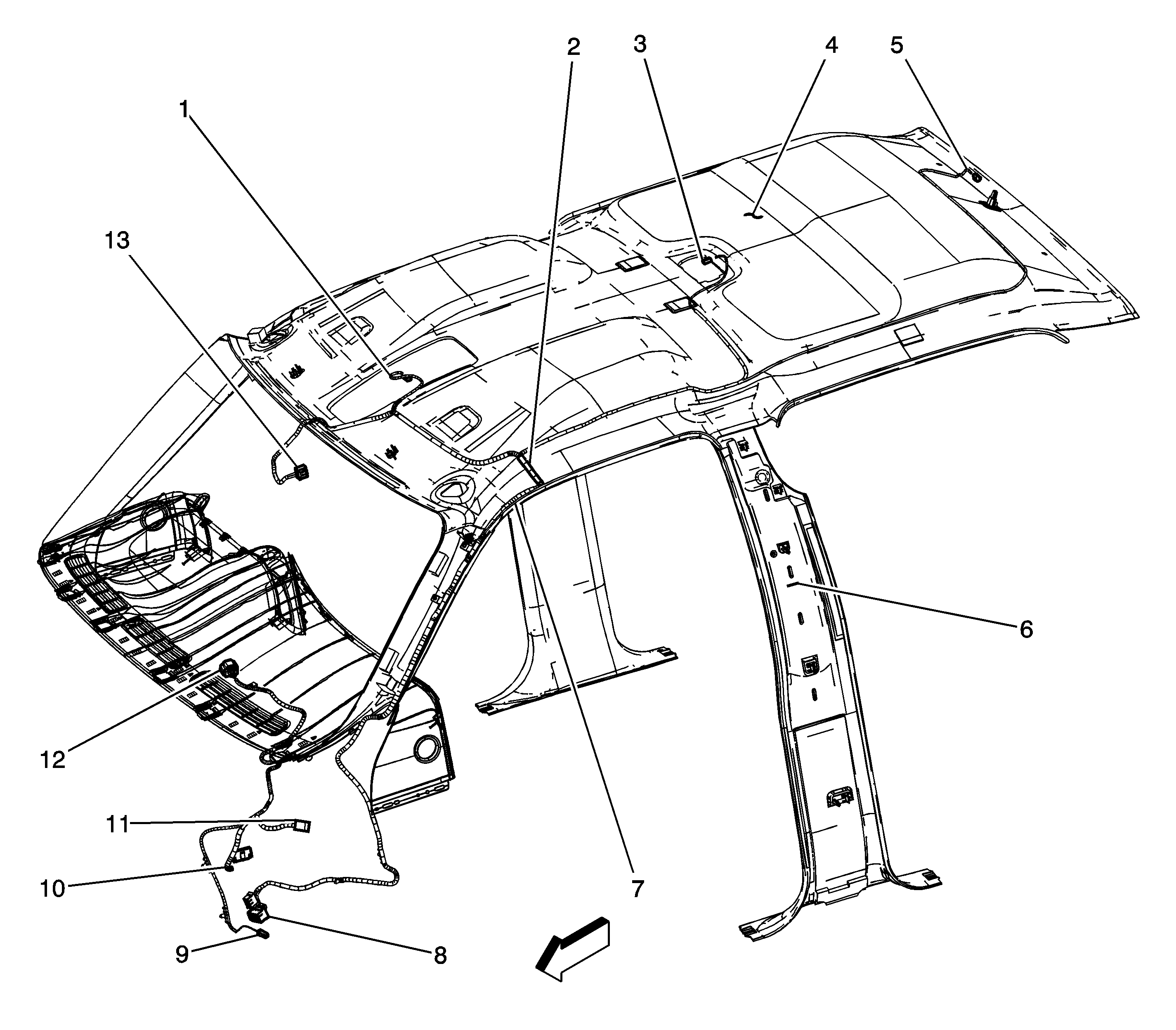
Headliner and Brake/Clutch Harnesses


Object Number: 1327860  Size: LF
(1)C355
(2)S345
(3)Courtesy/Reading Lamp - Rear Connector
(4)Headliner
(5)Center High Mounted Stop Lamp (CHMSL) Connector
(6)Driver Side B - Pillar Molding
(7)S321
(8)Relay Block - I/P Connectors - C3 and C4
(9)Park Brake Switch Connector
(10)Stop Lamp Switch Connector
(11)C205 (HP2)
(12)C214
(13)Inside Rearview Mirror Connector
Figure 29:

Body Harness


Object Number: 1327859  Size: LF
(1)Fuse Block - I/P C4
(2)G304
(3)G330 (AL0)
(4)G399 (AG2)
(5)C396
(6)G306
(7)Headliner
(8)Rear Window Defogger Grid Connector (Crew Cab)
(9)Floor Panel
(10)G305
(11)C310
(12)C305
(13)Inflatable Restraint Sensing and Diagnostic Module (SDM) Connector
(14)C221
(15)C223
(16)Relay Block - I/P C10
(17)C222
(18)Body Control Module (BCM) C6
Figure 30:

C210 and Relay Block - I/P - C4


Object Number: 814939  Size: LF
(1)Relay Block - I/P
(2)Relay Block - I/P - C4
(3)C210 - Roof Beacon Relay Inline
Figure 1:

Forward Blackout (B/O) Lamp Harness


Object Number: 1693354  Size: MF
(1)Instrument Panel (I/P) Wiring Harness
(2)Forward Lamp Harness
(3)G100M
(4)C102M
(5)C101M
(6)C100M
Figure 2:

Rear Lamp Extension Harness - LSSV


Object Number: 1693353  Size: MF
(1)C908M
(2)Auxiliary Rear Lamp Wiring Harness
(3)I/P Wiring Harness
Figure 3:

Relay Block Harness


Object Number: 1704988  Size: MF
(1)Interrupt Relays
(2)To Front Blackout (B/O) Lamps
(3)To Ground Stud
(4)To Engine Harness
(5)To Rear Extension Harness
(6)Ground Stud
(7)Blackout (B/O) Panel Harness
Figure 4:

Rear Lamp Harness


Object Number: 1704595  Size: MF
(1)C902M
(2)License Plate Lamp
(3)Trailer Lighting Relays
(4)C903M
(5)C908M
(6)C900M
(7)C901M