GM Service Manual Online
For 1990-2009 cars only
Table 1: Auxiliary Battery Relay (TP2)
Table 2: Battery Cut Off Switch (HP2)
Table 3: Clutch Start Switch
Table 4: Current Sensor (HP2)
Table 5: Energy Storage Box (ESB) Fan (HP2)
Table 6: Energy Storage Control Module (ESCM) - C1 (HP2)
Table 7: Energy Storage Control Module (ESCM) - C2 (HP2)
Table 8: Energy Storage Control Module (ESCM) - C3 (HP2)
Table 9: Generator - Gas (10 Series Except HP2)
Table 10: Generator - Gas (20/30 Series and HP2)
Table 11: Generator - Left (K65/8X5)
Table 12: Generator - Right - Diesel
Table 13: Generator Battery Control Module - (10 Series Except HP2)
Table 14: Hybrid Control Module (HCM) (w/HP2)
Table 15: Starter/Generator Control Module SGCM - C1 (HP2)
Table 16: Starter/Generator Control Module SGCM - C2 (HP2)
Table 17: Starter/Generator Control Module SGCM - C3 (HP2)
Table 18: Starter/Generator Control Module SGCM - C4 (HP2)
Table 19: Starter/Generator Control Module SGCM - C5 (HP2)
Table 20: Temperature Sensor - Battery 1 (HP2)
Table 21: Temperature Sensor - Battery 2 (HP2)
Table 22: Temperature Sensor - Battery 3 (HP2)
Table 23: Voltage Sensor - 1 (HP2)
Table 24: Voltage Sensor - 2 (HP2)
Table 25: Voltage Sensor - 3 (HP2)
Table 26: Voltage Sensor - 4 (HP2)

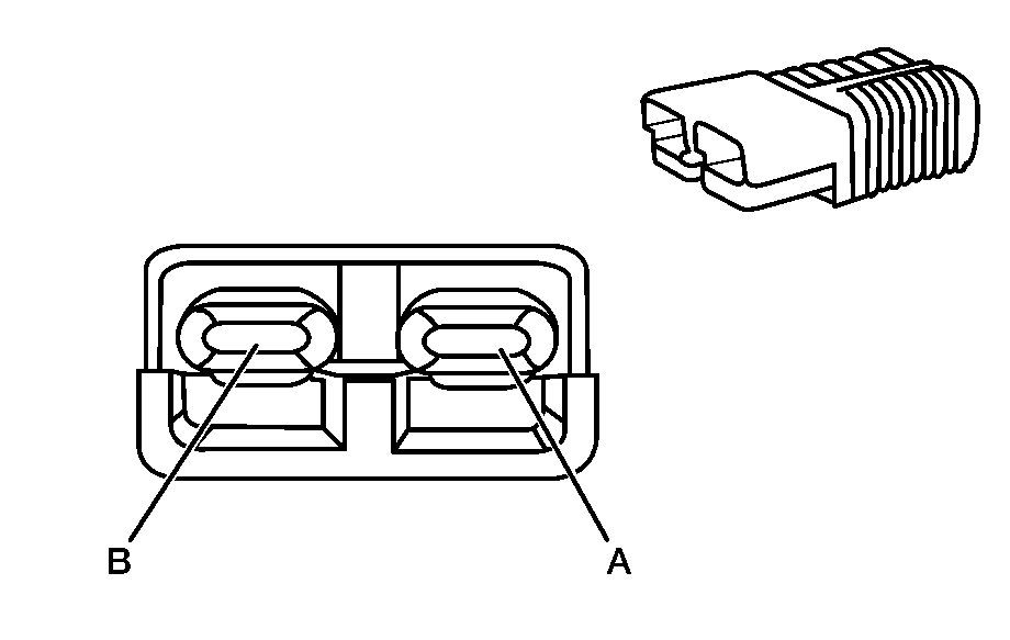
Auxiliary Battery Relay (TP2)


Object Number: 635009  Size: CH

Connector Part Information

    • 12052641
    • 2-Way F Metri-Pack 150 Series (BK)

Pin

Wire Color

Circuit No.

Function

A

BN

241

Ignition 3 Voltage

B

BK

550

Ground

Battery Cut Off Switch (HP2)


Object Number: 1399241  Size: CH

Connector Part Information

    • 6189-1046
    • 5-Way F TS Series, Sealed (BK)

Pin

Wire Color

Circuit No.

Function

1

WH

1-BCO

Ground

2

WH

2-BCO

BCO Status

3

WH

3-BCO

BCO Control - A

4

WH

4-BCO

BCO Control - B

5

WH

5-BCO

Battery Positive Voltage

Clutch Start Switch


Object Number: 73231  Size: CH

Connector Part Information

    • 12064860
    • 6-Way F Metri-Pack 150 Series Sealed (BK)

Pin

Wire Color

Circuit No.

Function

A

PU

420

Cruise Control Release Signal

B

BN/WH

379

CPP Switch Signal

C

PK

639

Ignition 1 Voltage

D

D-GN

1433

Clutch Start Switch Signal

E

BN

441

Ignition 3 Voltage

F

GY

48

CPP Switch Signal

Current Sensor (HP2)


Object Number: 814536  Size: CH

Connector Part Information

    • 174966-2
    • 4-Way F Multilock Series (BK)

Pin

Wire Color

Circuit No.

Function

1

WH

1-CS

Current Sensor Signal - A

2

WH

2-CS

Current Sensor Signal - B

3

WH

3-CS

Compensating Coil Voltage

4

WH

4-CS

Low Reference

Energy Storage Box (ESB) Fan (HP2)


Object Number: 1459284  Size: CH

Connector Part Information

    • 163120-0
    • 4-Way F (BK)

Pin

Wire Color

Circuit No.

Function

1

WH

1-FAN

Fan Speed Signal

2

WH

2-FAN

Low Reference

3

--

--

Not Used

4

WH

4-FAN

5-Volt Reference

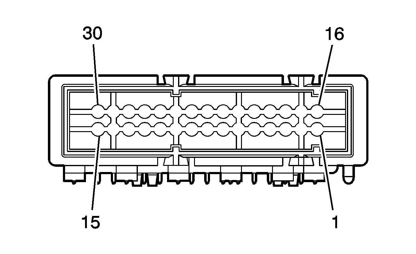
Energy Storage Control Module (ESCM) - C1 (HP2)


Object Number: 1457326  Size: CH

Connector Part Information

    • 967224-C1
    • 30-Way F (BK)

Pin

Wire Color

Circuit No.

Function

1

WH

1-NTC-1

Temperature Sensor Signal - 1

2

WH

1-NTC-2

Temperature Sensor Signal - 2

3-7

--

--

Not Used

8

WH

2-BCO

BCO Control - A

9

WH

4-BCO

BCO Control - B

10

WH

2-BCO

BCO Status

11

WH

1-BCO

Ground

12

WH

2-CS

Current Sensor Signal - A

13

WH

3-CS

Compensating Coil Voltage

14

WH

5-BCO

Battery Positive Voltage

15

WH

2-FAN

Low Reference

16

--

--

Not Used

17

WH

2-NTC-2

Low Reference

18

WH

2-NTC-1

Low Reference

19

WH

2-NTC-3

Low Reference

20

WH

1-NTC-3

Temperature Sensor Signal - 3

21

WH

1-R2

Voltage Sensor Signal - 2

22

--

--

Not Used

23

WH

1-R1

Voltage Sensor Signal - 1

24

WH

1-R4

Voltage Sensor Signal - 4

25

WH

1-R3

Voltage Sensor Signal - 3

26

--

--

Not Used

27

WH

1-CS

Current Sensor Signal - A

28

WH

4-CS

Low Reference

29

WH

4-FAN

5-Volt Reference

30

WH

1-FAN

Fan Speed Signal

Energy Storage Control Module (ESCM) - C2 (HP2)


Object Number: 1457328  Size: CH

Connector Part Information

    • 967224-C2
    • 48-Way F (BK)

Pin

Wire Color

Circuit No.

Function

1-14

--

--

Not Used

15

WH

1-CAR

High Speed GMLAN Serial Data (+)

16-17

--

--

Not Used

18

WH

7-CAR

Ignition 1 Voltage

19-23

--

--

Not Used

24

WH

GND-CAR

Ground

25-38

--

--

Not Used

39

WH

2-CAR

High Speed GMLAN Serial Data (-)

40-41

--

--

Not Used

42

WH

8-CAR

Ignition 0 Voltage

43-47

--

--

Not Used

48

WH

3-CAR

Battery Positive Voltage

Energy Storage Control Module (ESCM) - C3 (HP2)


Object Number: 1457330  Size: CH

Connector Part Information

    • 967224-C2
    • 2-Way F (BK)

Pin

Wire Color

Circuit No.

Function

L-H

--

--

Not Used

Generator - Gas (10 Series Except HP2)


Object Number: 1522871  Size: CH

Connector Part Information

    • 12186308
    • 2-Way F JPT Sealed (BK)

Pin

Wire Color

Circuit No.

Function

1

BN

25

Charge Indicator Control

2

GY

23

Generator Field Duty Cycle Signal

Generator - Gas (20/30 Series and HP2)


Object Number: 697046  Size: CH

Connector Part Information

    • 12186568
    • 4-Way F Metri-Pack 150 Series Sealed (BK)

Pin

Wire Color

Circuit No.

Function

A

D-BU

5668

Engine On Signal (JC4)

--

--

Not Used

B

BN

25

Charge Indicator Control

C

GY

23

Generator Field Duty Cycle Signal

D

--

--

Not Used

Generator - Left (K65/8X5)


Object Number: 696955  Size: CH

Connector Part Information

    • 12186566
    • 1-Way F Metri-Pack 150 Series Sealed (NA)

Pin

Wire Color

Circuit No.

Function

A

--

--

Unavailable

B

BN

2524

Generator 2 Turn On Signal

C-D

--

--

Unavailable

Generator - Right - Diesel


Object Number: 647991  Size: CH

Connector Part Information

    • 15355066
    • 2-Way F Metri-Pack 150 Series Sealed (BG)

Pin

Wire Color

Circuit No.

Function

A

--

--

Unavailable

B

BN

25

Charge Indicator Control

C

GY

23

Generator Field Duty Cycle Signal

D

--

--

Unavailable

Generator Battery Control Module - (10 Series Except HP2)


Object Number: 632344  Size: CH

Connector Part Information

    • 15326842
    • 10-Way F GT 150 Sealed (BK)

Pin

Wire Color

Circuit No.

Function

A

RD/WH

4740

Battery Positive Voltage

B

GY

23

Generator Field Duty Cycle Controll

C

RD/WH

4740

Battery Positive Voltage

D

BN

25

Charge Indicator Control

E

--

--

Not Used

F

BK/WH

451

Ground

G

D-BU

5668

Engine On Signal (JC4)

H

BK/WH

451

Ground

J

PU

5428

Generator Regulator Control (Earliy Build)

K

OG/BK

6752

Class 2 Serial Data

Hybrid Control Module (HCM) (w/HP2)


Object Number: 1228485  Size: CH

Connector Part Information

    • 15430224
    • 56-Way F Micro-Pack 64 Series Sealed (BU)

Pin

Wire Color

Circuit No.

Function

1

OG

1940

Battery Positive Voltage

2

PK

1020

Ignition 0 Voltage

3-7

--

--

Not Used

8

PK/BK

109

Hood Ajar Switch Signal

9

PU

5681

APO Switch Signal

10-11

--

--

Not Used

12

PK

1939

Ignition 1 Voltage

13-27

--

--

Not Used

28

PU/WH

5687

Class 2 Serial Data

29

BK/WH

451

Ground

30-33

--

--

Not Used

34

OG/BK

1057

Low Reference

35-39

--

--

Not Used

40

TN/WH

2500

High Speed GMLAN Serial Data (+)

41

TN

2501

High Speed GMLAN Serial Data (-)

42

--

--

Not Used

43

BK/WH

451

Ground

44

--

--

Not Used

45

YE

5680

APO Switch Indicator Control

46-47

--

--

Not Used

48

PK/WH

5537

Transmission Pump Relay Control

49

PU/WH

5539

Power Maintain Relay Coil Control

50

--

--

Not Used

51

WH

5542

Auxiliary Heater Pump Relay Control

52

BN/WH

5682

Low Reference

53

--

--

Not Used

54

TN/WH

2500

High Speed GMLAN Serial Data (+)

55

TN

2501

High Speed GMLAN Serial Data (-)

56

--

--

Not Used

Starter/Generator Control Module SGCM - C1 (HP2)


Object Number: 1374873  Size: CH

Connector Part Information

    • 15416791
    • 2-Way F Series Sealed (BK)

Pin

Wire Color

Circuit No.

Function

A

--

--

Not Used

B

--

--

Not Used

Starter/Generator Control Module SGCM - C2 (HP2)


Object Number: 1374874  Size: CH

Connector Part Information

    • 15416792
    • 2-Way F Series Sealed (BK)

Pin

Wire Color

Circuit No.

Function

A

BK

50

Ground

B

RD

102

Battery Positive Voltage

Starter/Generator Control Module SGCM - C3 (HP2)


Object Number: 1374872  Size: CH

Connector Part Information

    • 15416789
    • 2-Way F Series Sealed (BK)

Pin

Wire Color

Circuit No.

Function

A

RD

5084

High Voltage Battery (+)

B

BK

5691

High Voltage Battery (-)

Starter/Generator Control Module SGCM - C4 (HP2)


Object Number: 39784  Size: CH

Connector Part Information

    • 12129225
    • 24-Way F Micro-Pack 100 Series Sealed (WH)

Pin

Wire Color

Circuit No.

Function

1

TN/WH

2500

High Speed GMLAN Serial Data (+)

2

TN/WH

2500

High Speed GMLAN Serial Data (+)

3-6

--

--

Not Used

7

YE/BK

625

Starter Enable Relay Control

8

PK

1020

Ignition 0 Voltage

9

L-BU/BK

647

Medium Resolution Engine Speed Signal

10-11

--

--

Not Used

12

WH

2368

Cooling Fan Clutch Supply Voltage

13

TN

2501

High Speed GMLAN Serial Data (-)

14

TN

2501

High Speed GMLAN Serial Data (-)

15-20

--

--

Not Used

21

WH

121

Engine Speed Signal

22-23

--

--

Not Used

24

PK

2014

Coolant Pump Relay Control

Starter/Generator Control Module SGCM - C5 (HP2)


Object Number: 1391786  Size: CH

Connector Part Information

    • 15416860
    • 7-Way F GT 280/150 Series Sealed (BK)

Pin

Wire Color

Circuit No.

Function

A

--

--

Not Used

B

WH

5685

APO Neutral

C

OG

5595

High Voltage Interlock Loop Signal - 2

D

BK

50

Ground

E

PU

5087

High Voltage Interlock Loop Signal - 1

F

D-GN

5686

Ground

G

BK

5683

APO Phase A

Temperature Sensor - Battery 1 (HP2)


Object Number: 1459283  Size: CH

Connector Part Information

    • 1-968699-1
    • 2-Way F (BK)

Pin

Wire Color

Circuit No.

Function

1

WH

1-NTC-1

Temperature Sensor Signal - 1

2

WH

2-NTC-1

Low Reference

Temperature Sensor - Battery 2 (HP2)


Object Number: 1459283  Size: CH

Connector Part Information

    • 1-968699-1
    • 2-Way F (BK)

Pin

Wire Color

Circuit No.

Function

1

WH

1-NTC-2

Temperature Sensor Signal - 2

2

WH

2-NTC-2

Low Reference

Temperature Sensor - Battery 3 (HP2)


Object Number: 1459283  Size: CH

Connector Part Information

    • 1-968699-1
    • 2-Way F (BK)

Pin

Wire Color

Circuit No.

Function

1

WH

1-NTC-3

Temperature Sensor Signal - 3

2

WH

2-NTC-3

Low Reference

Voltage Sensor - 1 (HP2)


Object Number: 1399242  Size: CH

Connector Part Information

    • 925324-2
    • 1-Way F (WH)

Pin

Wire Color

Circuit No.

Function

A

WH

1-R1

Voltage Sensor Signal - 1

Voltage Sensor - 2 (HP2)


Object Number: 1399242  Size: CH

Connector Part Information

    • 925324-2
    • 1-Way F (WH)

Pin

Wire Color

Circuit No.

Function

A

WH

1-R2

Voltage Sensor Signal - 2

Voltage Sensor - 3 (HP2)


Object Number: 1399242  Size: CH

Connector Part Information

    • 925324-2
    • 1-Way F (WH)

Pin

Wire Color

Circuit No.

Function

A

WH

1-R3

Voltage Sensor Signal - 3

Voltage Sensor - 4 (HP2)


Object Number: 1399242  Size: CH

Connector Part Information

    • 925324-2
    • 1-Way F (WH)

Pin

Wire Color

Circuit No.

Function

A

WH

1-R4

Voltage Sensor Signal - 4

Table 1: 24V Generator Relay
Table 2: Generator Connector
Table 3: Vehicle Load Disconnect Switch
Table 4: Winch Prep Connector - Front
Table 5: Winch Prep Connector - Rear

24V Generator Relay


Object Number: 535912  Size: CH

Connector Part Information

    • 12129716
    • 4-Way F MP Series 280 (GY)

Pin

Wire Color

Circuit No.

Function

30

BN

8008

Operator Field Duty Cycle Signal

85

PK

8002

UBEC Cavity A3

86

BK

150

Ground

87

RD/BK

8009

24V Battery Supply Voltage

Generator Connector


Object Number: 647991  Size: CH

Connector Part Information

    • 15355066
    • 4-Way F Metri-Pack 150 Series Sealed (NA)

Pin

Wire Color

Circuit No.

Function

A

--

--

Not Used

B

YE

8014

Generator Field Duty Cycle Signal

C-D

--

--

Not Used

Vehicle Load Disconnect Switch


Object Number: 1703358  Size: CH

Connector Part Information

    • 35-223
    • 4-Way

Pin

Wire Color

Circuit No.

Function

1

RD

900

12V Supply to Underhood BUS Electrical Center

2

RD

19

12V Power Supply

3

RD/BK

8009

24V Supply to Generator

4

RD

900

24V Power Supply

Winch Prep Connector - Front


Object Number: 1703366  Size: CH

Connector Part Information

    • TX017639
    • 2-Way (RD)

Pin

Wire Color

Circuit No.

Function

A

RD

32

Supply Voltage

B

BK

13

Ground

Winch Prep Connector - Rear


Object Number: 1703366  Size: CH

Connector Part Information

    • TX017640
    • 2-Way (RD)

Pin

Wire Color

Circuit No.

Function

A

RD

32

Supply Voltage

B

BK

13

Ground