GM Service Manual Online
For 1990-2009 cars only

Removal Procedure

    Caution: Refer to Vehicle Lifting Caution in the Preface section.


    Object Number: 1700951  Size: SH
  1. Raise the vehicle. Refer to Lifting and Jacking the Vehicle in General Information in 2005 C/K Truck Service Manual.
  2. Remove the tire and wheel. Refer to Tire and Wheel Removal and Installation in Tires and Wheels in 2005 C/K Truck Service Manual.
  3. Remove the jounce shock absorber. Refer to Jounce Shock Absorber Replacement .
  4. Remove the 2 control arm brace bolts (1).
  5. Remove the control arm pivot bolt (2) and washer.

  6. Object Number: 1700954  Size: SH
  7. Remove the control arm brace (2).
  8. Remove the outer shim (1).
  9. Remove the control arm (3).
  10. Inspect both shims (1) and pivot nut (4). Replace if worn.

Installation Procedure


    Object Number: 1700954  Size: SH
  1. Install the inner shim (1) and control arm (3) onto the pivot nut (4).

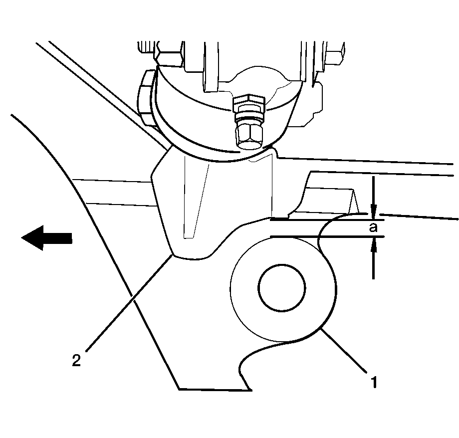
  2. Object Number: 1700955  Size: SH
  3. Verify that the alignment of the jounce lower control arm (2) and stabilizer bushing link (1) of the factory control arm are within the specification. Add shims until the specification is correct.
  4. Specification A
    5 mm ± 3.5 mm (0.20 in ±0.14 in).


    Object Number: 1700951  Size: SH
  5. Install the outer shim and control arm brace, ensure that the pivot nut and brace slots are aligned.
  6. Notice: Refer to Fastener Notice in the Preface section.

  7. Install the 2 brace bolts (1) and tighten.
  8. Tighten
    Tighten bolts to 72 N·m (53 lb ft).

  9. Install the washer and pivot bolt (2).
  10. Tighten
    Tighten bolt to 244 N·m (180 lb ft).

  11. Verify the control arm pivots freely and that the final alignment is correct.
  12. Install the jounce shock absorber. Refer to Jounce Shock Absorber Replacement .
  13. Install the tire and wheel. Refer to Tire and Wheel Removal and Installation in Tires and Wheels in 2005 C/K Truck Service Manual.
  14. Lower the vehicle. Refer to Lifting and Jacking the Vehicle in General Information in 2005 C/K Truck Service Manual.