GM Service Manual Online
For 1990-2009 cars only

Inspection Procedure

Prior to replacement inspect the following:

    • Oil leaks on the shaft or around the schrader value
    • Correct shaft to pad contact location
    • Rod guide to shaft end should be 4.20 in ± 0.15 in (10.67 cm ± 0.15 mm)

Pry up on the shaft end and release the arm should smoothly extend without binding.

Removal Procedure


    Object Number: 1700962  Size: SH
  1. Remove the rear jounce shock absorber mount. Refer to Rear Jounce Shock Absorber Mount Replacement .
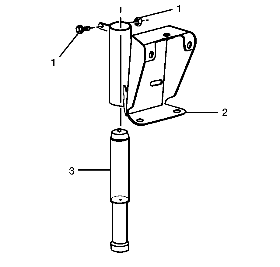
  2. Remove the nut and bolt (1) from the rear mount (2).
  3. Remove the jounce shock (3) by sliding it out of the mount (2).

Installation Procedure


    Object Number: 1700962  Size: SH
  1. Slide the jounce shock (3) into the mount (2).
  2. Notice: Refer to Fastener Notice in the Preface section.

  3. Install the nut and bolt (1) through the mount.
  4. Tighten
    Tighten nut and bolt to 12 N·m (9 lb ft).

  5. Install the rear jounce shock mount. Refer to Rear Jounce Shock Absorber Mount Replacement .