GM Service Manual Online
For 1990-2009 cars only

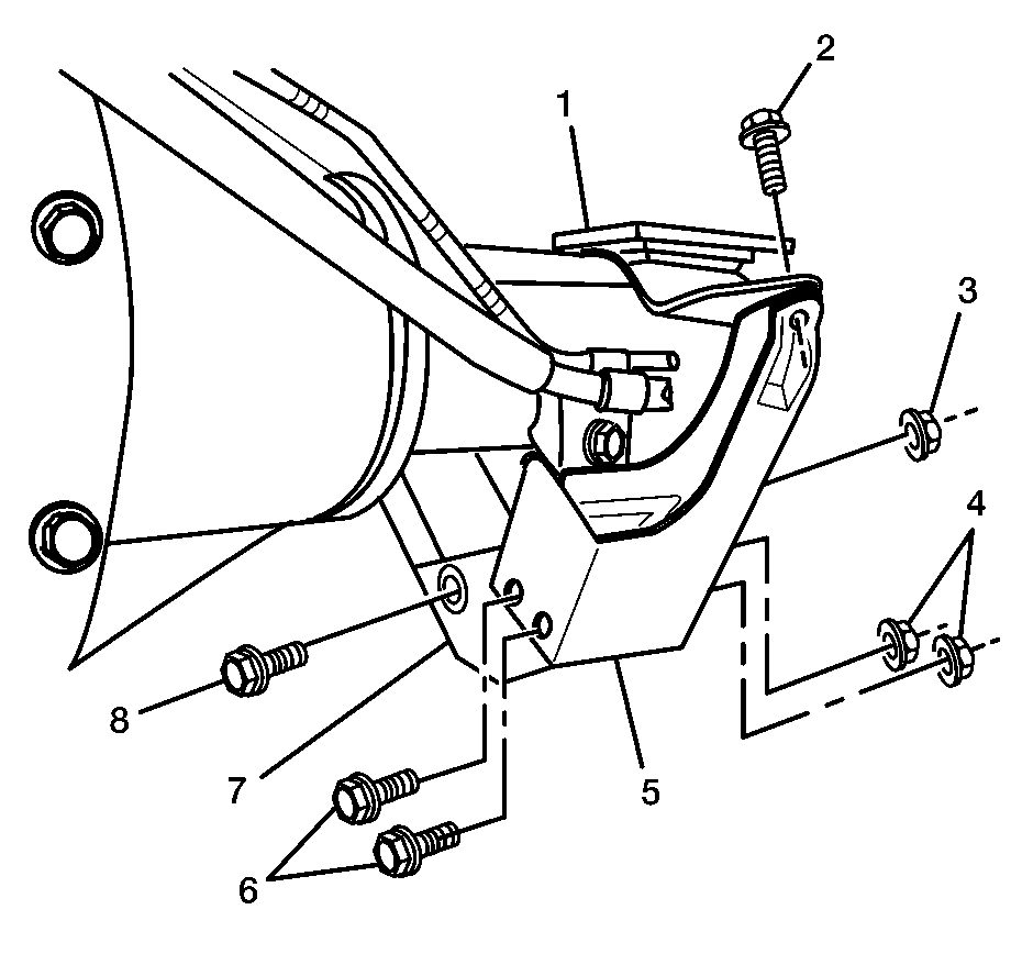
Removal Procedure

    Caution: Refer to Vehicle Lifting Caution in the Preface section.


    Object Number: 1700957  Size: SH
  1. Raise the vehicle. Refer to Lifting and Jacking the Vehicle in General Information in 2005 C/K Truck Service Manual.
  2. Remove bolts (6) and nuts (4) from the cover.
  3. Remove bolt (2) from the shock cover.
  4. Remove nut (3) and bolt (8) from the shock.
  5. Remove shock covers pieces (1, 5, 7) from the axle housing.

Installation Procedure


    Object Number: 1700957  Size: SH
  1. Install the shock cover pieces (1, 5, 7). Ensure that the tab in cover piece (1) fits into the slot in cover piece (5).
  2. Install bolt (2) at the top of the cover.
  3. Install shock bolt (8) and nut (3).
  4. Install bolts (6) and nuts (4).
  5. Notice: Refer to Fastener Notice in the Preface section.

  6. Ensure that the contact pad of the jounce shock is aligned with the jounce shock.
  7. Tighten

        • Tighten lower shock bolt to 90 N·m (70 lb ft).
        • Tighten shock cover bolts to 35 N·m (26 lb ft).
  8. Lower the vehicle. Refer to Lifting and Jacking the Vehicle in General Information in 2005 C/K Truck Service Manual.