GM Service Manual Online
For 1990-2009 cars only

Spare Tire Carrier Pivot Bracket Replacement Swing Away

Removal Procedure


    Object Number: 1698248  Size: SH
  1. Remove the spare tire carrier. Refer to Spare Tire Carrier Replacement .
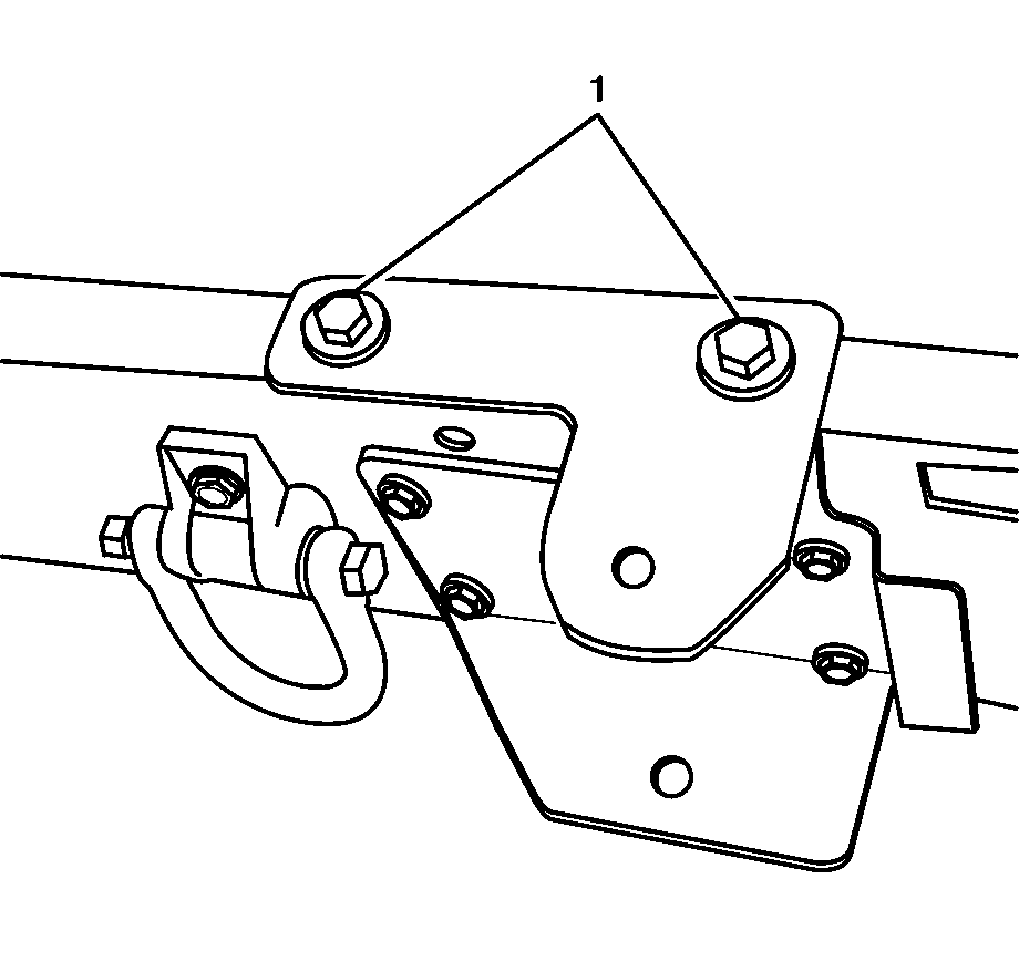
  2. Remove the top pivot mount bolts (1).

  3. Object Number: 1698250  Size: SH
  4. Remove the lower pivot mount bolts (1).

Installation Procedure

    Notice: Refer to Fastener Notice in the Preface section.


    Object Number: 1698250  Size: SH
  1. Install the lower pivot bracket onto the bumper and install the bolts (1).
  2. Tighten
    Tighten the lower pivot mount bolts to 97 N·m (72 lb ft).

  3. Install the upper mount onto the bumper and install the pivot bolt through both mounts.

  4. Object Number: 1698248  Size: SH
  5. Install the upper mount pivot bolts (1).
  6. Tighten
    Tighten the upper pivot mount bolts to 97 N·m (72 lb ft).

  7. Remove the pivot bolt and install the spare tire carrier. Refer to Spare Tire Carrier Replacement .