GM Service Manual Online
For 1990-2009 cars only

Rear Bumper Bracket Replacement LSSV

Removal Procedure

    Caution: Refer to Vehicle Lifting Caution in the Preface section.


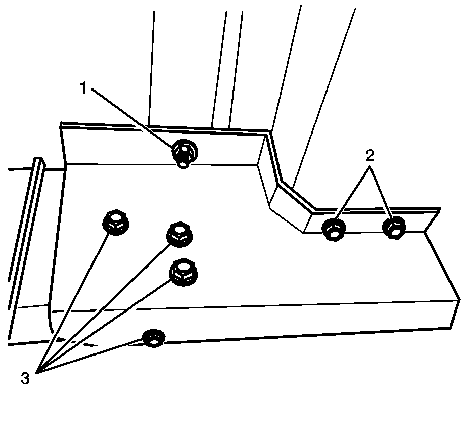
    Object Number: 1698275  Size: SH
  1. Raise and suitably support the vehicle. Refer to Lifting and Jacking the Vehicle in General Information of the 2005 C/K Truck Service Manual.
  2. Remove the rear D-ring (2) from the appropriate side. Refer to Rear D-Ring Bracket Replacement in Frame and Underbody.
  3. Remove the bumper bolts (1).

  4. Object Number: 1698278  Size: SH
  5. Remove the bumper bracket to frame bolts.
  6. Remove the bracket to bumper spacer from the vehicle.

Installation Procedure


    Object Number: 1698278  Size: SH
  1. Install the bumper bracket and spacer into position.
  2. Notice: Refer to Fastener Notice in the Preface section.

  3. Install the bracket to frame bolts.
  4. Tighten

        • Tighten the side and upper bolts to 97 N·m (72 lb ft).
        • Tighten the lower bolt to 155 N·m (114 lb ft).

    Object Number: 1698275  Size: SH
  5. Install the bumper bolts (1).
  6. Tighten
    Tighten bumper bolts to 97 N·m (72 lb ft).

  7. Install the rear D-ring (2) from the appropriate side. Refer to Rear D-Ring Bracket Replacement in Frame and Underbody.
  8. Remove the supports and lower the vehicle.

Rear Bumper Bracket Replacement Maintenance Body

Removal Procedure

    Caution: Refer to Vehicle Lifting Caution in the Preface section.


    Object Number: 1702050  Size: SH
  1. Raise and suitably support the vehicle. Refer to Lifting and Jacking the Vehicle in General Information of the 2005 C/K Truck Service Manual.
  2. Remove the rear hitch and reinforcement plate. Refer to Trailer Hitch/Reinforcement Plate Replacement in Frame and Underbody.
  3. Remove the body mount nut (1).
  4. Remove the bumper bolts (2).
  5. Remove the frame bolts (3) and remove the bracket from the vehicle.

Installation Procedure

    Notice: Refer to Fastener Notice in the Preface section.


    Object Number: 1702050  Size: SH
  1. Place the bracket on the vehicle and install the frame bolts (3).
  2. Tighten
    Tighten frame bolts to 120 N·m (89 lb ft).

  3. Install the body mount bolt (1).
  4. Tighten
    Tighten body mount bolts to 80 N·m (59 lb ft).

  5. Install the bumper bolts (2).
  6. Tighten
    Tighten bumper bolts to 50 N·m (37 lb ft).

  7. Install the rear hitch and reinforcement plate. Refer to Trailer Hitch/Reinforcement Plate Replacement in Frame and Underbody.
  8. Remove the safety stands and lower the vehicle.