GM Service Manual Online
For 1990-2009 cars only
Table 1: Door Latch Assembly (Lock Actuator) - Driver C1
Table 2: Door Latch Assembly (Door Jamb Switch) - Driver C2
Table 3: Door Latch Assembly (Key Cylinder Switch) - Driver C3
Table 4: Door Latch Assembly (Lock Actuator) - Passenger C1
Table 5: Door Latch Assembly (Door Jamb Switch) - Passenger C2
Table 6: Door Latch Assembly (Lock Actuator) - LR C1 (Crew Cab Only)
Table 7: Door Latch Assembly (Door Jamb Switch) - LR C2 (Crew Cab Only)
Table 8: Door Latch Assembly (Lock Actuator) - RR C1 (Crew Cab Only)
Table 9: Door Latch Assembly (Door Jamb Switch) - RR C2 (Crew Cab Only)
Table 10: Door Lock Switch - Driver (Base Only)
Table 11: Door Lock Switch - Passenger (Base Only)
Table 12: Driver Door Module (DDM) - C1 (YE9)
Table 13: Driver Door Module (DDM) - C2 (YE9)
Table 14: Driver Door Module (DDM) - C3 (YE9)(Wire Colors May Vary)
Table 15: Driver Door Module (DDM) - C4 (YE9)(Wire Colors May Vary)
Table 16: Driver Door Module (DDM) - C5 (AN3)
Table 17: Passenger Door Module (PDM) - C1 (YE9)
Table 18: Passenger Door Module (PDM) - C2 (YE9)
Table 19: Passenger Door Module (PDM) - C3 (YE9)(Wire Colors May Vary)
Table 20: Passenger Door Module (PDM) - C4 (YE9)(Wire Colors May Vary)
Table 21: Passenger Door Module (PDM) - C5 (AN3)
Table 22: Window Motor - Driver
Table 23: Window Motor - Passenger
Table 24: Window Motor - LR (Crew Cab Only)
Table 25: Window Motor - RR (Crew Cab Only)
Table 26: Window Switch - LR (Crew Cab Only)
Table 27: Window Switch - RR (Crew Cab Only)

Door Latch Assembly (Lock Actuator) - Driver C1


Object Number: 68721  Size: CH

Connector Part Information

    • 15300027
    • 2-Way F Metri-Pack 280 Series Sealed (BK)

Pin

Wire Color

Circuit No.

Function

A

TN

294

Door Lock Actuator Unlock Control - w/YE9

694

Door Lock Actuator Unlock Control - w/o YE9

B

GY

295

Door Lock Actuator Lock Control

Door Latch Assembly (Door Jamb Switch) - Driver C2


Object Number: 684972  Size: CH

Connector Part Information

    • 15366025
    • 2-Way F GT 150 Series Sealed 3.2 X 4.0 (GY)

Pin

Wire Color

Circuit No.

Function

A

--

--

Unavailable

B

GY/BK

745

Left Front Door Ajar Switch Signal

C

--

--

Unavailable

D

BN

1183

Left Front Door Switch Low Reference

Door Latch Assembly (Key Cylinder Switch) - Driver C3


Object Number: 684793  Size: CH

Connector Part Information

    • 12052642
    • 2-Way F Metri-Pack 150 Series Sealed (L-GN)

Pin

Wire Color

Circuit No.

Function

A

D-BU

536

Driver Door Key Switch Low Reference

B

L-GN

262

Driver Door Key Switch Signal

Door Latch Assembly (Lock Actuator) - Passenger C1


Object Number: 68721  Size: CH

Connector Part Information

    • 15300027
    • 2-Way F Metri-Pack 280 Series Sealed (BK)

Pin

Wire Color

Circuit No.

Function

A

TN

294

Door Lock Actuator Unlock Control

B

GY

295

Door Lock Actuator Lock Control

Door Latch Assembly (Door Jamb Switch) - Passenger C2


Object Number: 684974  Size: CH

Connector Part Information

    • 15366027
    • 2-Way F GT 150 Series Sealed 3.2 X 4.0 (BK)

Pin

Wire Color

Circuit No.

Function

A

D-GN

1178

Right Front Door Switch Low Reference

B

--

--

Unavailable

C

BK/WH

746

Right Front Door Ajar Switch Signal

D

--

--

Unavailable

Door Latch Assembly (Lock Actuator) - LR C1 (Crew Cab Only)


Object Number: 68721  Size: CH

Connector Part Information

    • 15300027
    • 2-Way F Metri-Pack 280 Series Sealed (BK)

Pin

Wire Color

Circuit No.

Function

A

TN

294

Door Lock Actuator Unlock Control

B

GY

295

Door Lock Actuator Lock Control

Door Latch Assembly (Door Jamb Switch) - LR C2 (Crew Cab Only)


Object Number: 684972  Size: CH

Connector Part Information

    • 15366026
    • 2-Way F GT 150 Series Sealed 3.2x4.0 (BK)

Pin

Wire Color

Circuit No.

Function

A

--

--

Unavailable

B

L-BU/BK

747

Left Rear Door Ajar Switch Signal

C

--

--

Unavailable

D

BK

1150

Ground

Door Latch Assembly (Lock Actuator) - RR C1 (Crew Cab Only)


Object Number: 68721  Size: CH

Connector Part Information

    • 15300027
    • 2-Way F Metri-Pack 280 Series Sealed (BK)

Pin

Wire Color

Circuit No.

Function

A

TN

294

Door Lock Actuator Unlock Control

B

GY

295

Door Lock Actuator Lock Control

Door Latch Assembly (Door Jamb Switch) - RR C2 (Crew Cab Only)


Object Number: 684972  Size: CH

Connector Part Information

    • 15366025
    • 2-Way F GT 150 Series Sealed 3.2x4.0 (BK)

Pin

Wire Color

Circuit No.

Function

A

--

--

Unavailable

B

L-BU/BK

748

Right Rear Door Ajar Switch Signal

C

--

--

Unavailable

D

BK

1250

Ground

Door Lock Switch - Driver (Base Only)


Object Number: 73231  Size: CH

Connector Part Information

    • 12064860
    • 6-Way F Metri-Pack 150 Series (BK)

Pin

Wire Color

Circuit No.

Function

A

WH

194

Door Unlock Control

B

BN/WH

230

Instrument Panel Lamps Dimming Control

C

--

--

Not Used

D

BK

1050

Ground

E

BK/WH

1851

Ground

F

L-BU

195

Door Lock Control

Door Lock Switch - Passenger (Base Only)


Object Number: 73231  Size: CH

Connector Part Information

    • 12064860
    • 6-Way F Metri-Pack 150 Series (BK)

Pin

Wire Color

Circuit No.

Function

A

WH

194

Door Unlock Control

B

BN/WH

230

Instrument Panel Lamps Dimming Control

C

--

--

Not Used

D

BK

1050

Ground

E

BK/WH

1851

Ground

F

L-BU

195

Door Lock Control

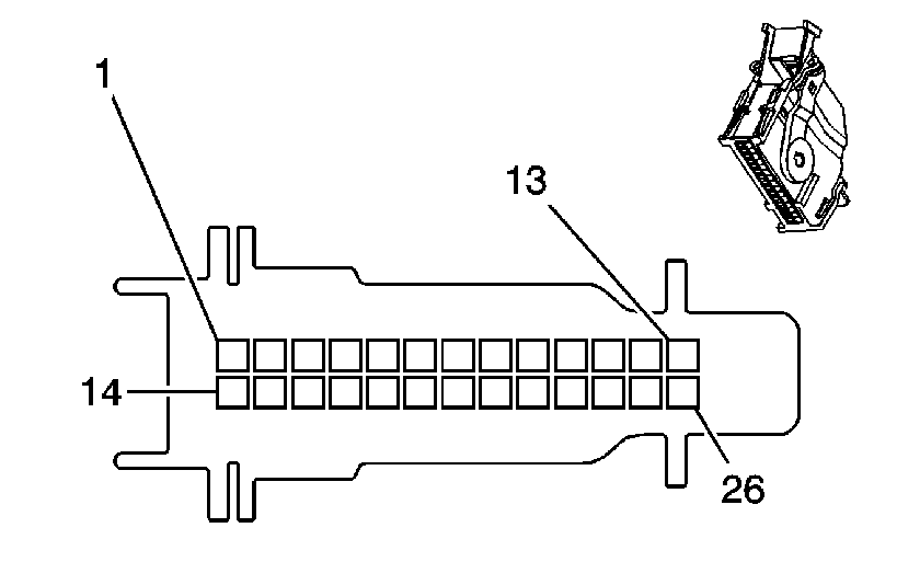
Driver Door Module (DDM) - C1 (YE9)


Object Number: 902725  Size: CH

Connector Part Information

    • 15411588
    • 4-Way F Amp 2.8 mm Sealed (BK)

Pin

Wire Color

Circuit No.

Function

1

BN

165

Power Window Motor Left Front Down Control

2

OG

1240

Battery Positive Voltage

3

D-BU

164

Power Window Motor Left Front Up Control

4

BK

1050

Ground

Driver Door Module (DDM) - C2 (YE9)


Object Number: 845629  Size: CH

Connector Part Information

    • 15398841
    • 26-Way F Amp Lever Assist (BK)

Pin

Wire Color

Circuit No.

Function

1

--

--

Not Used

2

D-BU

536

Driver Door Key Switch Low Reference

3

BN

1183

Left Front Door Switch Low Reference

4

D-BU

660

Left Courtesy Lamp Control

5-9

--

--

Not Used

10

GY

1690

Automatic Day/Night Mirror Signal

11

L-BU

2114

Left Turn Signal Lamps Supply Voltage

12

PK

1691

Automatic Day/Night Mirror Low Reference

13

D-BU/WH

149

Courtesy Lamp Supply Voltage

14

OG

4140

Battery Positive Voltage

15

L-GN

262

Driver Door Key Switch Signal

16-17

--

--

Not Used

18

GY/BK

745

Left Front Door Ajar Switch Signal

19

--

--

Not Used

20

TN

294

Door Lock Actuator Unlock Control

21

GY

295

Door Lock Actuator Lock Control

22

BN

1046

DDM Class 2 Serial Data

23-26

--

--

Not Used

Driver Door Module (DDM) - C3 (YE9)(Wire Colors May Vary)


Object Number: 850873  Size: CH

Connector Part Information

    • 6383393-7
    • 10-Way F 0.64 mm Unsealed Amp (BU)
    • Note: Wire Colors May Vary

Pin

Wire Color

Circuit No.

Function

1

BN/WH

--

Left Turn Signal Low Reference (DL3)

2

GY/BK

--

Left Turn Signal Control (DL3)

3

BK

--

Driver Mirror Heating Element Low Reference (DL3/DPF/DL8)

4

PU

--

Mirror Sensor Low Reference (DL3)

5

--

--

Not Used

6

OG/BK

--

Left Door Exterior Courtesy Lamp Supply Voltage (Y91)

7

GY

--

Automatic Day/Night Mirror Signal (DL3)

8

PK

--

Automatic Day/Night Mirror Low Reference (DL3)

9

BK

--

Left Door Exterior Courtesy Lamp Ground (Y91)

10

--

--

Not Used

Driver Door Module (DDM) - C4 (YE9)(Wire Colors May Vary)


Object Number: 850870  Size: CH

Connector Part Information

    • 6383393-5
    • 10-Way F 0.64 mm Unsealed Amp (BK)
    • Note: Wire Colors May Vary

Pin

Wire Color

Circuit No.

Function

1

BN

--

Driver Folding Mirror Motor Extend Control (DL3/DPF)

2

BK

--

Mirror Heating Element Supply Voltage (DL3/DPF/DL8)

3

RD

--

Driver Mirror Horizontal Position Sensor Signal (DL3)

4

D-GN

--

5-Volt Reference (DL3)

5

D-BU

--

Driver Mirror Vertical Position Sensor Signal (DL3)

6

GY

--

Driver Folding Mirror Motor Retract Control (DL3/DPF)

7

YE

--

Driver Mirror Right/Down Motors Common (DL3/DPF/DL8)

8

L-BU

--

Driver Mirror Motor Right Control (DL3/DPF/DL8)

9

L-GN

--

Driver Mirror Motor Down Control (DL3/DPF/DL8)

10

--

--

Not Used

Driver Door Module (DDM) - C5 (AN3)


Object Number: 849815  Size: CH

Connector Part Information

    • 15411588
    • 12-Way F 0.64 mm Unsealed Amp (GN)

Pin

Wire Color

Circuit No.

Function

1

WH/BK

--

Driver Heated Seat Medium Temperature Indicator Control

2

YE

--

Driver Heated Seat Low Temperature Indicator Control

3

GY

--

Driver Heated Seat Back Only Mode Switch Signal

4

L-BU

--

Memory/Heated Seat Switch Backlight

5

PK

--

Memory 2 Switch Signal

6

--

--

Not Used

7

D-GN

--

Driver Heated Seat High Temperature Indicator Control

8

BK

--

Driver Heated Seat Back Only Indicator Control

9

D-BU

--

Driver Heated Seat Temperature Switch Signal

10

RD

--

Memory 1 Switch Signal

11

BN

--

Switch Power

12

--

--

Not Used

Passenger Door Module (PDM) - C1 (YE9)


Object Number: 902725  Size: CH

Connector Part Information

    • 15393410
    • 4-Way F 2.8 mm Sealed Amp (BK)

Pin

Wire Color

Circuit No.

Function

1

BN

667

Power Window Motor Right Front Down Control

2

OG

1340

Battery Positive Voltage

3

BK

1050

Ground

4

D-BU

666

Power Window Motor Right Front Up Control

Passenger Door Module (PDM) - C2 (YE9)


Object Number: 845629  Size: CH

Connector Part Information

    • 15398841
    • 26-Way F Amp Lever Assist (BK)

Pin

Wire Color

Circuit No.

Function

1-4

--

--

Not Used

5

BK/WH

746

Right Front Door Ajar Switch Signal

6-7

--

--

Not Used

8

WH

156

Courtesy Lamp Supply Voltage

9

--

--

Not Used

10

GY

295

Door Lock Actuator Lock Control

11

TN

294

Door Lock Actuator Unlock Control

12-13

--

--

Not Used

14

OG

4240

Battery Positive Voltage

15-18

--

--

Not Used

19

L-BU

661

Right Courtesy Lamp Control

20

D-GN

1178

Right Front Door Switch Low Reference

21

--

--

Not Used

22

TN

1047

PDM Class 2 Serial Data

23-25

--

--

Not Used

26

D-BU

2115

Right Turn Signal Lamps Supply Voltage

Passenger Door Module (PDM) - C3 (YE9)(Wire Colors May Vary)


Object Number: 850873  Size: CH

Connector Part Information

    • 6383393-7
    • 10-Way F 0.64 mm Unsealed Amp (BU)
    • Note: Wire Colors May Vary

Pin

Wire Color

Circuit No.

Function

1

RD/WH

--

Passenger Mirror Motor Right Control (DL3/DL8/DPF)

2

WH

--

Passenger Mirror Right/Down Motors Common (DL3/DL8/DPF)

3

BK

--

Passenger Folding Mirror Motor Extend Control (DL3/DPF)

4

GY

--

Passenger Folding Mirror Motor Retract Control (DL3/DPF)

5

OG/BK

--

Right Door Exterior Courtesy Lamp Supply Voltage (Y91)

6

PU/WH

--

Passenger Mirror Motor Down Control (DL3/DL8/DPF)

7

BK

--

Mirror Heating Element Supply Voltage (DL3/DL8/DPF)

8

BK

--

Passenger Heating Element Low Reference (DL3/DL8/DPF)

9

BK

--

Right Door Exterior Courtesy Lamp Ground (Y91)

10

GY/BK

--

Right Turn Signal Control (DL3)

Passenger Door Module (PDM) - C4 (YE9)(Wire Colors May Vary)


Object Number: 850870  Size: CH

Connector Part Information

    • 6383393-5
    • 10-Way F 0.64 mm Unsealed Amp (BK)
    • Note: Wire Colors May Vary

Pin

Wire Color

Circuit No.

Function

1

D-GN

--

5 Volt Reference (DL3)

2

RD

--

Passenger Mirror Vertical Position Sensor Signal (DL3)

3

PU

--

Mirror Sensor Low Reference (DL3)

4

D-BU

--

Passenger Mirror Horizontal Position Sensor Signal (DL3)

5

BN/WH

--

Right Turn Signal Low Reference (DL3)

6-10

--

--

Not Used

Passenger Door Module (PDM) - C5 (AN3)


Object Number: 849815  Size: CH

Connector Part Information

    • 683394-4
    • 12-Way F 0.64 mm Unsealed Amp (GN)

Pin

Wire Color

Circuit No.

Function

1

YE

--

Passenger Heated Low Temperature Indicator Control

2

D-GN

--

Passenger Heated Seat High Temperature Indicator Control

3

D-BU

--

Passenger Heated Seat Temperature Switch Signal

4

GY

--

Passenger Heated Seat Back Only Mode Switch Signal

5

--

--

Not Used

6

BN

--

Heated Seat Switch Supply Voltage

7

BK

--

Passenger Heated Seat Back only Indicator Control

8

WH/BK

--

Passenger Heated Seat Medium Temperature Indicator Control

9-11

--

--

Not Used

12

L-BU

--

Heated Seat Switch Backlight

Window Motor - Driver


Object Number: 684837  Size: CH

Connector Part Information

    • 12129487
    • 2-Way F Metri-Pack 280 Series Flexlock Sealed (GY)

Pin

Wire Color

Circuit No.

Function

A

D-BU

164

Power Window Motor Left Front Up Control

B

BN

165

Power Window Motor Left Front Down Control

Window Motor - Passenger


Object Number: 684837  Size: CH

Connector Part Information

    • 12129487
    • 2-Way F Metri-Pack 280 Series Flexlock Sealed (GY)

Pin

Wire Color

Circuit No.

Function

A

D-BU

666

Power Window Motor Right Front Up Control

B

BN

667

Power Window Motor Right Front Down Control

Window Motor - LR (Crew Cab Only)


Object Number: 684837  Size: CH

Connector Part Information

    • 12129487
    • 2-Way F Metri-Pack 280 Series Flexlock Sealed (GY)

Pin

Wire Color

Circuit No.

Function

A

D-BU

668

Power Window Motor Left Rear Up Control

B

BN

669

Power Window Motor Left Rear Down Control

Window Motor - RR (Crew Cab Only)


Object Number: 684837  Size: CH

Connector Part Information

    • 12129487
    • 2-Way F Metri-Pack 280 Series Flexlock Sealed (GY)

Pin

Wire Color

Circuit No.

Function

A

D-BU

670

Power Window Motor Right Rear Up Control

B

BN

671

Power Window Motor Right Rear Down Control

Window Switch - LR (Crew Cab Only)


Object Number: 333036  Size: CH

Connector Part Information

    • 12191825
    • 8-Way Metri-Pack 280 Series (BN)

Pin

Wire Color

Circuit No.

Function

A

OG

1240

Battery Positive Voltage

B

YE

1187

Power Window Switch Left Rear Down Signal

C

WH

1185

Power Window Switch Left Rear Up Signal

D

L-BU

2265

Power Window Lockout Left Rear Signal

E

BK

1150

Ground

F

D-BU

668

Power Window Motor Left Rear Up Control

G

BN

669

Power Window Motor Left Rear Down Control

H

BN/WH

230

Instrument Panel Lamps Dimming Control

Window Switch - RR (Crew Cab Only)


Object Number: 333036  Size: CH

Connector Part Information

    • 12191825
    • 8-Way Metri-Pack 280 Series (BN)

Pin

Wire Color

Circuit No.

Function

A

OG

1340

Battery Positive Voltage

B

YE

1188

Power Window Switch Right Rear Down Signal

C

WH

1186

Power Window Switch Right Rear Up Signal

D

L-BU

2266

Power Window Lockout Right Rear Signal

E

BK

1250

Ground

F

D-BU

670

Power Window Motor Right Rear Up Control

G

BN

671

Power Window Motor Right Rear Down Control

H

BN/WH

230

Instrument Panel Lamps Dimming Control