GM Service Manual Online
For 1990-2009 cars only

Removal Procedure


    Object Number: 1700786  Size: SH
  1. Remove the D-ring. Refer to Front D-Ring Replacement .
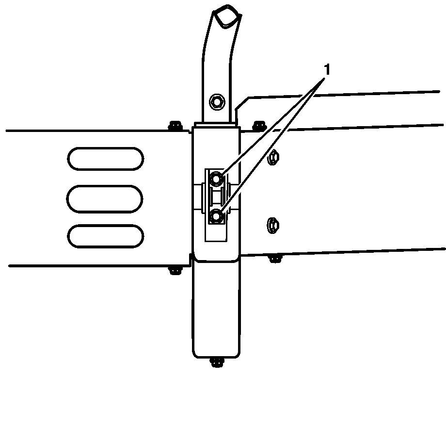
  2. Remove the D-ring mounting bracket bolts (1).
  3. Remove the D-ring bracket.

Installation Procedure


    Object Number: 1700786  Size: SH
  1. Install the D-ring bracket to the vehicle.
  2. Notice: Refer to Fastener Notice in the Preface section.

  3. Install the D-ring bracket mounting bolts.
  4. Tighten
    Tighten the bolts to 87-97 N·m (64-72 lb ft).

  5. Install the D-ring. Refer to Front D-Ring Replacement .