GM Service Manual Online
For 1990-2009 cars only

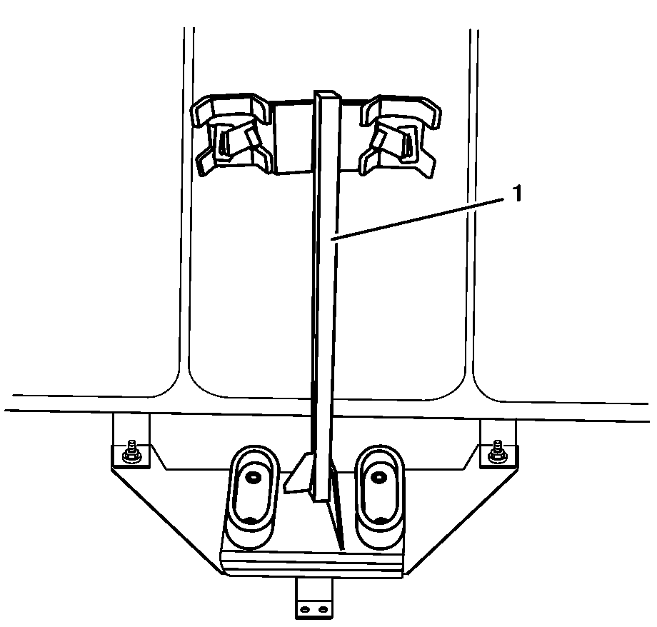
Removal Procedure


    Object Number: 1703189  Size: SH
  1. Remove the rear nut securing gun rack to the floor.
  2. Loosen the inner rear front seat bolts enough to slide back.
  3. Remove the gun rack (1) from vehicle.

Installation Procedure


    Object Number: 1703189  Size: SH
  1. Install the gun rack (1) and slide under the front seat bolts.
  2. Align the rear gun rack hole with stud in the floor.
  3. Notice: Refer to Fastener Notice in the Preface section.

  4. Install the nut on the stud and tighten.
  5. Tighten

        • Tighten the rear nut to 20 N·m (15 lb ft).
        • Tighten the front bolts to 55 N·m (41 lb ft).