GM Service Manual Online
For 1990-2009 cars only

Removal Procedure


    Object Number: 1702782  Size: SH
  1. Remove the lower rear window molding. Refer to Rear Window Lower Garnish Molding Replacement in Interior Trim in the 2005 C/K Truck Service Manual.
  2. Remove the pioneer tool kit.
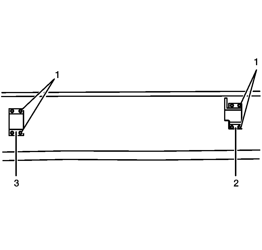
  3. Remove the 4 bolts (1) holding the bracket to the inner body.
  4. Remove the left bracket (2) or the right bracket (3).

Installation Procedure


    Object Number: 1702782  Size: SH
  1. Install the left bracket (2) or the right bracket (3).
  2. Notice: Refer to Fastener Notice in the Preface section.

  3. Install the 4 bolts (1) to the bracket.
  4. Tighten
    Tighten the bolts to 8 N·m (70 lb in).

  5. Install the lower rear window molding. Refer to Rear Window Lower Garnish Molding Replacement in Interior Trim in the 2005 C/K Truck Service Manual.
  6. Install the pioneer tool kit.