GM Service Manual Online
For 1990-2009 cars only

Backup Lamp Replacement Ambulance Body

Removal Procedure


    Object Number: 1697906  Size: SH
  1. Remove the backup lamp bulb. Refer to Backup Lamp Bulb Replacement .
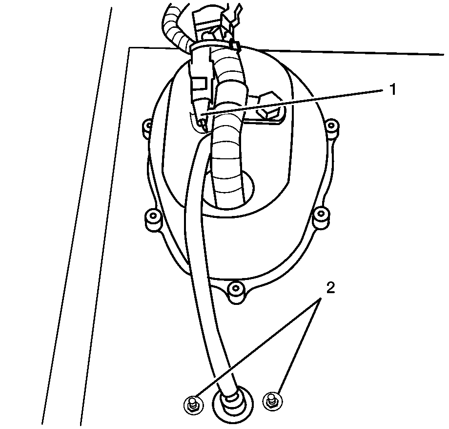
  2. Remove the backup lamp nuts (2).
  3. Disconnect the electrical connector (1) from the backup lamp.
  4. Remove the lamp assembly.

Installation Procedure


    Object Number: 1697906  Size: SH
  1. Install the lamp assembly.
  2. Connect the electrical connector (1) to the backup lamp.
  3. Notice: Refer to Fastener Notice in the Preface section.

  4. Install the nuts (2) for the backup lamp.
  5. Tighten
    Tighten screws to 0.8N·m (7 lb in).

  6. Install the backup lamp bulb. Refer to Backup Lamp Bulb Replacement .