GM Service Manual Online
For 1990-2009 cars only

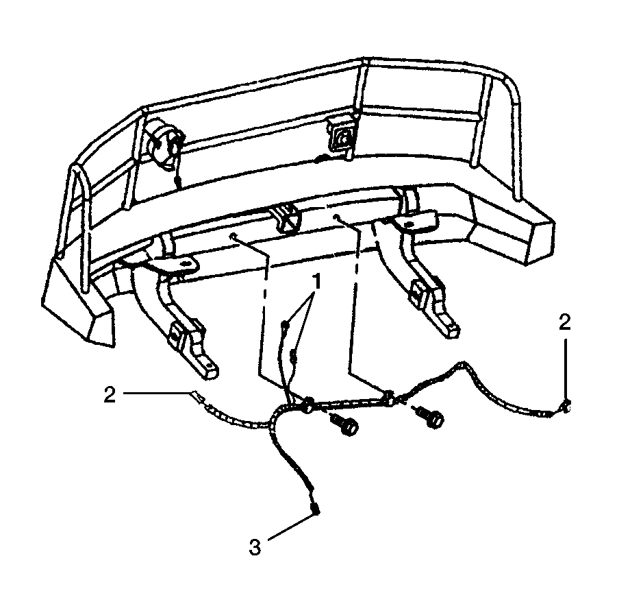
Front Blackout Lamp Wiring Harness Ambulance/Maintenance Body

Removal Procedure

    Caution: Refer to Battery Disconnect Caution in the Preface section.


    Object Number: 1704995  Size: SH
  1. Disconnect the battery cables. Refer to Battery Cable Disconnect and Connection in Engine Electrical.
  2. Disconnect the blackout (B/O) headlamp connectors (1) from the blackout (B/O) headlamp.
  3. Disconnect the blackout (B/O) marker lamp connectors (2) from the blackout (B/O) marker lamp.
  4. Trace the blackout (B/O) lamp harness connector (3) to the main harness connector.
  5. Disconnect the blackout (B/O) lamp harness connector (3) to the main harness connector.
  6. Remove the wiring harness from the vehicle.
  7. Note wiring harness routing for installation.

Installation Procedure


    Object Number: 1704995  Size: SH
  1. Position the blackout (B/O) lamp wiring harness onto the vehicle in the same routing location as removed.
  2. Connect the blackout (B/O) lamp harness connector (3) to the main harness connector.
  3. Connect the blackout (B/O) marker lamp connectors (2) to the blackout (B/O) marker lamps.
  4. Connect the blackout (B/O) headlamp connectors (1) to the blackout (B/O) headlamp.
  5. Connect the battery cables. Refer to Battery Cable Disconnect and Connection in Engine Electrical.