GM Service Manual Online
For 1990-2009 cars only

Front Blackout Marker Lamp Replacement LSSV

Removal Procedure


    Object Number: 1693474  Size: SH
  1. Ensure all lamp switches are in the OFF position.
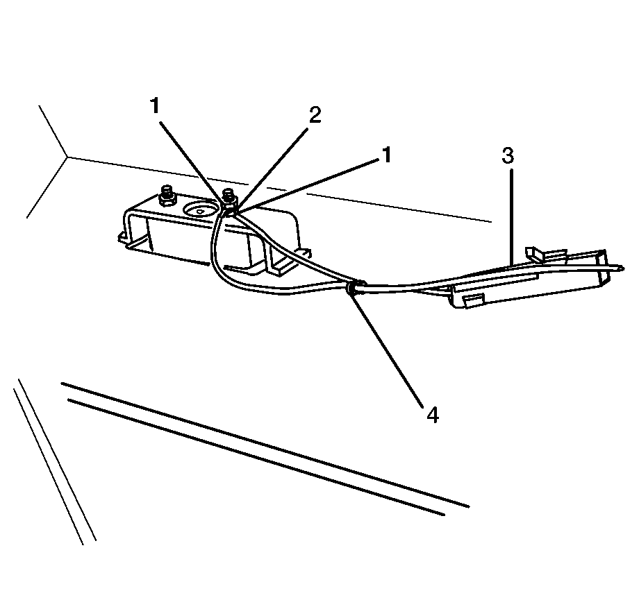
  2. Remove the wiring harness strap (4) from the marker lamp harness.
  3. Remove the harness connector (3) by releasing the connector tab.
  4. Remove the nuts (1) and the ground connector (2) from the marker lamp.

  5. Object Number: 1692783  Size: SH
  6. Remove the blackout (B/O) marker lamp assembly (1) from the bumper.

Installation Procedure


    Object Number: 1692783  Size: SH
  1. Install the marker lamp (1) into the front bumper opening.
  2. Notice: Refer to Fastener Notice in the Preface section.


    Object Number: 1693474  Size: SH
  3. Install the nuts (1) and the ground connector (2) onto the maker lamp studs.
  4. Tighten
    Tighten the marker lamp nuts to 2  N·m (18 lb in).

  5. Install the harness connector (3) to the marker lamp connector.
  6. Secure the harness in the original mounting location using the wiring harness strap (4).

Front Blackout Marker Lamp Replacement Ambulance/Maintenance Body

Removal Procedure


    Object Number: 1693474  Size: SH
  1. Ensure all lights are in the OFF position.
  2. Remove the wiring harness strap (4) from the marker lamp harness.
  3. Remove the harness connector (3) by releasing the connector tab.
  4. Remove the nuts (1) and the ground connector (2) from the marker lamp.

  5. Object Number: 1707690  Size: SH
  6. Remove the blackout (B/O) marker lamp assembly (1) from the bumper.

Installation Procedure


    Object Number: 1707690  Size: SH
  1. Install the marker lamp (1) into the front bumper opening.
  2. Notice: Refer to Fastener Notice in the Preface section.


    Object Number: 1693474  Size: SH
  3. Install the nuts (1) and the ground connector (2) onto the maker lamp studs.
  4. Tighten
    Tighten marker lamp nuts to 2 N·m (18 lb in).

  5. Install the harness connector (3) to the marker lamp connector.
  6. Secure the harness in the original mounting location using the wiring harness strap (4).