GM Service Manual Online
For 1990-2009 cars only

Taillamp Replacement Maintenance Body

Removal Procedure


    Object Number: 1693478  Size: SH
  1. Ensure that the headlamp switch is in the OFF position.
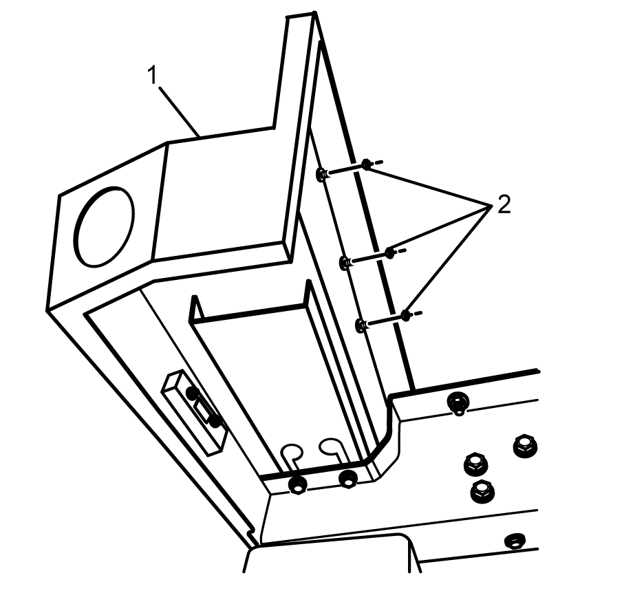
  2. Remove the nuts (2) from the rear bumper (1).
  3. Remove the lamp from the rear bumper.
  4. Disconnect the lamp from the wiring harness.

Installation Procedure


    Object Number: 1693478  Size: SH
  1. Install the wiring harness to the lamp.
  2. Notice: Refer to Fastener Notice in the Preface section.

  3. Install the lamp onto the rear bumper (1) and install nuts (2).
  4. Tighten
    Tighten the nuts to 27 N·m (20 lb ft).