GM Service Manual Online
For 1990-2009 cars only

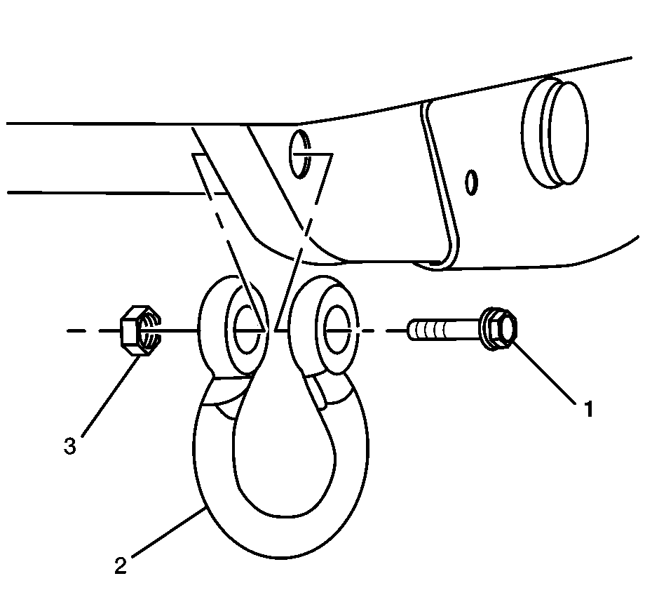
Front D-Ring Replacement Ambulance/Maintenance Body

Removal Procedure


    Object Number: 1700612  Size: SH
  1. Remove the bolt (1) and nut (3).
  2. Remove the D-ring (2) from the mount.

Installation Procedure


    Object Number: 1700612  Size: SH
  1. Install the D-ring (2) to the mount.
  2. Notice: Refer to Fastener Notice in the Preface section.

  3. Install the bolt (1) and nut (3).
  4. Tighten
    Tighten nut and bolt to 200 N·m (148 lb ft).

Front D-Ring Replacement LSSV

Removal Procedure


    Object Number: 1700801  Size: SH
  1. Remove the nut and bolt (2).
  2. Remove the D-ring from the mount.
  3. Discard the wave washer (1).

Installation Procedure


    Object Number: 1700801  Size: SH

    Important: The flat side of the D-ring must be facing out.

  1. Install the D-ring on the bracket.
  2. Slide the new wave washer (1) between the D-ring and the bracket.
  3. Install the D-ring nut and bolt (2). Tighten the nut and bolt until the D-ring will stand straight out on its own.