GM Service Manual Online
For 1990-2009 cars only

Rear D-Ring Replacement Maintenance Body

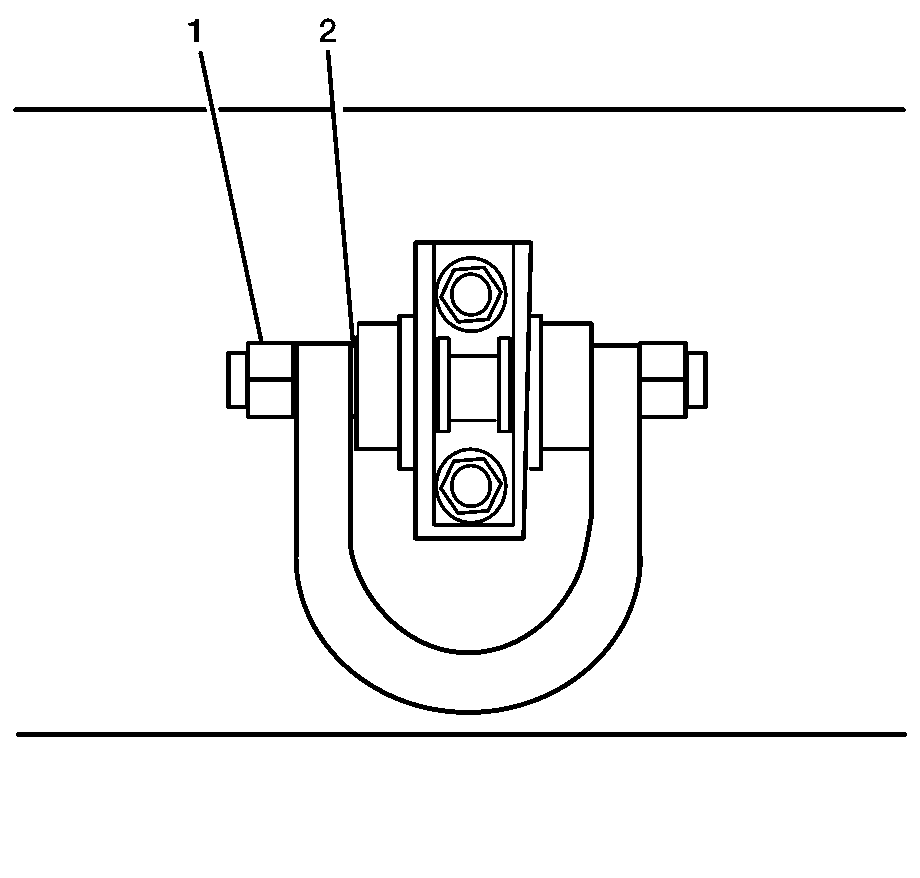
Removal Procedure


    Object Number: 1700806  Size: SH
  1. Remove the bolt (1) and nut (2).
  2. Remove the D-ring (3) from the bracket.

Installation Procedure


    Object Number: 1700806  Size: SH
  1. Install the D-ring (3) onto the bracket.
  2. Notice: Refer to Fastener Notice in the Preface section.

    Important: D-rings must move once torqued. Do not over torque.

  3. Install the bolt (1) and nut (2).
  4. Tighten
    Tighten nut and bolt to 200 N·m (148 lb ft).

Rear D-Ring Replacement LSSV

Removal Procedure


    Object Number: 1700816  Size: SH
  1. Remove the nut and bolt (1).
  2. Remove the D-ring from the mount.
  3. Discard the wave washer (2).

Installation Procedure


    Object Number: 1700816  Size: SH

    Important: The flat side of the D-ring must be facing out.

  1. Install the D-ring on the bracket.
  2. Notice: Refer to Fastener Notice in the Preface section.

  3. Slide the new wave washer (2) between the D-ring and the bracket.
  4. Install the D-ring nut and bolt (1). Tighten the nut and bolt until the D-ring will stand straight out on its own.