GM Service Manual Online
For 1990-2009 cars only

Regular Cab and Crew Cab (Except 1500 Crew Cab)


Object Number: 1613532  Size: B3
  1. Wing Nut Holding Wheel Blocks

  2. Wheel Blocks

  3. Retaining Bracket and Wing Nut

  4. Tool Kit and Jack Tools

  5. Retaining Hook

  6. Jack

  7. Knob

Extended Cab


Object Number: 1613538  Size: B3
  1. Wing Nut Holding Wheel Blocks

  2. Wheel Blocks

  3. Retaining Hook

  4. Jack

  5. Knob

  6. Retaining Bracket and Wing Nut

  7. Tool Kit and Jack Tools

1500 Crew Cab


Object Number: 1613542  Size: B3
  1. Knob

  2. Retaining Hook

  3. Wheel Blocks

  4. Wing Nut Holding Wheel Blocks

  5. Jack

For regular cab models, the equipment you will need is behind the passenger's seat. For extended and crew cab models, the equipment is on the shelf behind the passenger's side second row seat.

  1. If there is a cover, move the seats forward and turn the wing nut on the cover counterclockwise to remove it. For crew cab models, pull up the second row seat with the loop at the base of the seat cushion to access the tools.
  2. Turn the knob on the jack counterclockwise to lower the jack head to release the jack from its holder.
  3. Remove the wheel blocks and the wheel block retainer by turning the wing nut counterclockwise.
  4. Remove the wing nut used to retain the storage bag and tools by turning it counterclockwise.

You will use the jack handle extensions and the wheel wrench to remove the underbody-mounted spare tire.


  1. Object Number: 880766  Size: B4

    Spare Tire (Valve Stem Pointed Down)

  2. Hoist Assembly

  3. Hoist Cable

  4. Tire Retainer

  5. Hoist Shaft

  6. Hoist End of Extension Tool

  7. Hoist Shaft Access Hole

  8. Wheel Wrench

  9. Jack Handle Extensions

  10. Spare Tire Lock (If Equipped)

  1. Open the spare tire lock cover on the bumper and use the ignition key to remove the lock, if equipped with a spare tire lock (J).

  2. Object Number: 805764  Size: B2
  3. Assemble the wheel wrench (H) and the two jack handle extensions (I) as shown.

  4. Object Number: 805774  Size: A3

    Insert the hoist end (open end) (F) of the extension through the hole (G) in the rear bumper.

  5. Be sure the hoist end of the extension connects to the hoist shaft (E). The ribbed square end of the extension is used to lower the spare tire.
  6. Turn the wheel wrench (H) counterclockwise to lower the spare tire to the ground. Continue to turn the wheel wrench until the spare tire can be pulled out from under the vehicle.
  7. If the spare tire does not lower to the ground, the secondary latch is engaged causing the tire not to lower. See Secondary Latch System .


    Object Number: 805763  Size: A2

    Use the wheel wrench hook which allows you to pull the hoist cable towards you to assist in reaching the spare tire.


    Object Number: 1613524  Size: A2

    Tilt the retainer at the end of the cable when the tire has been lowered, so it can be pulled up through the wheel opening.

  8. Put the spare tire near the flat tire.

Maintenance Body


Object Number: 1625414  Size: A2

The heavy duty bumper of the vehicle has an opening (A) to gain access to the spare tire hoist. For more information refer to Changing a Flat Tire in the 2005 Vehicle Owner Manual.

Pickup Vehicles

Under Body Carrier


Object Number: 1625415  Size: A2

The heavy duty bumper of the vehicle has an opening in the bumper to gain access to the spare tire hoist. This opening is located behind the license plate mount. In order to gain access to this opening you must lower the license plate. To lower the plate you must remove the pin (B). Rotate the plate (A) down enough to access the opening. For more information refer to Changing a Flat Tire in the 2005 Vehicle Owner Manual.

Cargo Bed Carrier


Object Number: 1627435  Size: B3

The cargo bed tire carrier is located in the passenger front of the cargo bed. To remove the tire, use and turn the wheel wrench counterclockwise and remove the wheel nuts (A).

Swing Away Carrier


Object Number: 1627434  Size: B3

The swing away tire carrier is located at the rear of the vehicle attached to the bumper. To remove the tire, use and turn the wheel wrench counterclockwise and remove the wheel nuts (A).

To open the swing away spare tire carrier, do the following:


    Object Number: 1613341  Size: B3

    Caution: If you drive with the spare tire carrier unlatched, you could injure pedestrians or damage the vehicle. Make sure the carrier is secure before driving.

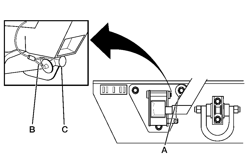
  1. Press the button on the pin (B), which is attached to the cable (A), to remove the pin from the latch bolt nut (C) .
  2. Lift up on the latch on the left side of the vehicle to release the spare tire carrier from the vehicle. The handle will stay in the raised position until the spare tire carrier is closed and latched properly.
  3. Swing the spare tire carrier to the side.

To close the swing away tire carrier, do the following:


    Object Number: 1613347  Size: B3

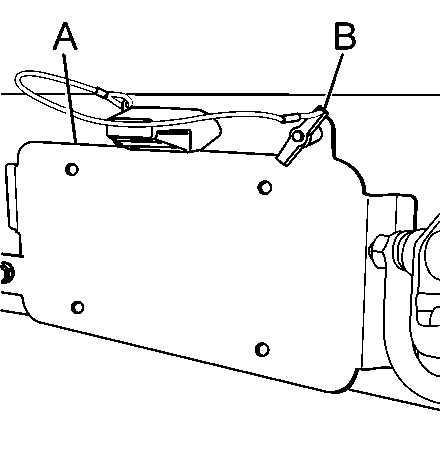
    Caution: The spare tire carrier must be secured so that it does not strike and injure someone. Always close it into the latch forcefully. Make sure that the release handle is fully closed (down) and that the cable is attached.

  1. Move the spare tire carrier back into place until it latches, by closing it into the latch forcefully. The spare tire carrier is latched properly when the latch handle has lowered to the closed position.
  2. Reinstall the cable (A) by pushing in the button on the pin (B) and inserting the pin into the latch bolt nut.
  3. Pull on the spare tire carrier to make sure it is firmly latched.

In Vehicle Carrier


Object Number: 1637867  Size: B3

The in vehicle tire carrier is located behind the passenger seat. To remove the tire turn the nut (A) counterclockwise then remove the tire from the carrier.

Ambulance Body


Object Number: 1625724  Size: A3

The spare tire is located on the right side front of the ambulance behind door (A). A key is required to open the door. The door is hinged at the bottom and swings down. A ramp is attached to the inside of the door to aid in removal and installation of the tire.

The following steps apply only to vehicles featuring Option Code EMP (Enhanced Mobility Package). For vehicles without EMP refer to the 2005 Vehicle Owner Manual.

For regular cab models, the jack you will need is behind the passenger’s seat.


Object Number: 1657741  Size: B2
  1. Jack

The equipment is behind the driver’s seat mounted on the floor.


Object Number: 1657739  Size: A3
  1. Wheel Blocks

  2. Tire Tools

For extended cab models, the equipment you will need is under the passenger’s side second row seats.


Object Number: 1657740  Size: B2
  1. Jack

  2. Tire Tools

  3. Wheel Blocks

For crew cab models, the jack you will need is under the passenger’s side second row seats.


Object Number: 1657737  Size: B2

The equipment is under the shelf behind the driver’s side second row seats.


Object Number: 1657739  Size: A3
  1. Wheel Blocks

  2. Tire Tools

To Remove


    Object Number: 1613289  Size: B2
  1. Wing nuts (A) are used to retain the storage bag and tools. To remove them, turn the wing nuts counterclockwise.
  2. Remove the wheel blocks by turning the wing nut counterclockwise.

  3. Object Number: 1613290  Size: A2
  4. To release the jack from its holder, turn the knob (A) on the jack holder counterclockwise.

  5. Object Number: 1613291  Size: A3
  6. Using the wheel wrench and ratchet, remove the retainer nut (B) and the retainer (A) or wheel nuts.
  7. Remove tire from the vehicle and put the spare tire near the flat tire.