GM Service Manual Online
For 1990-2009 cars only

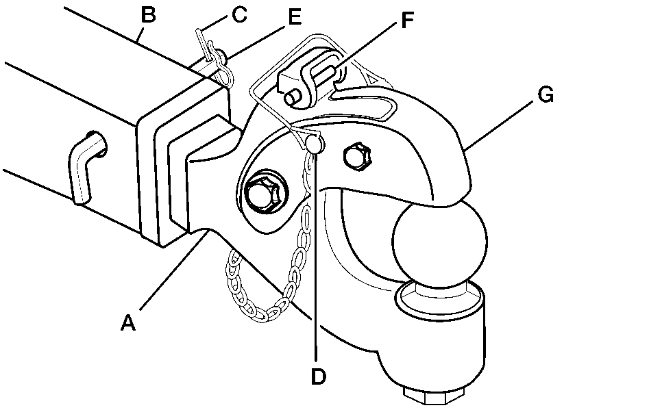
The pintle hitch is a dual purpose hitch. It can tow trailers with either a lunnette eye or a standard coupler. The pintle upper jaw closes onto the top of the ball to allow for towing trailers with lunnette eye. The upper jaw locks into up or open position for standard coupler towing.

The pintle hitch is located at the rear of the vehicle, and is removable.

Caution: Do not use the pintle hitch if it is worn, damaged or missing parts. An improperly working hitch would cause the trailer to disengage from the vehicle and cause you can lose control of the trailer. You and others could be seriously injured. Inspect the hitch before using to ensure it is in proper working condition.

Operating the Pintle Hitch:

To Open:


    Object Number: 1613276  Size: B3
  1. Open the latch by removing latch pin (D).
  2. Pull up on the lock latch (F) while lifting the latch (G).

To Close:

  1. Push the latch (G) until the lock latch (F) locks in place.
  2. Install the latch pin (D).

Installing the Pintle Hitch:

  1. Install the receiver extension (B).
  2. Push the pintle hitch (A) into the receiver extension.
  3. Install the retaining pin (E) into the receiver extension and the pintle hitch (A).
  4. Install the spring clip (C) into the retaining pin (E).