GM Service Manual Online
For 1990-2009 cars only

DTC P0500 6.6L


Object Number: 1492064  Size: LF
OBD II Symbol Description Notice

Circuit Description

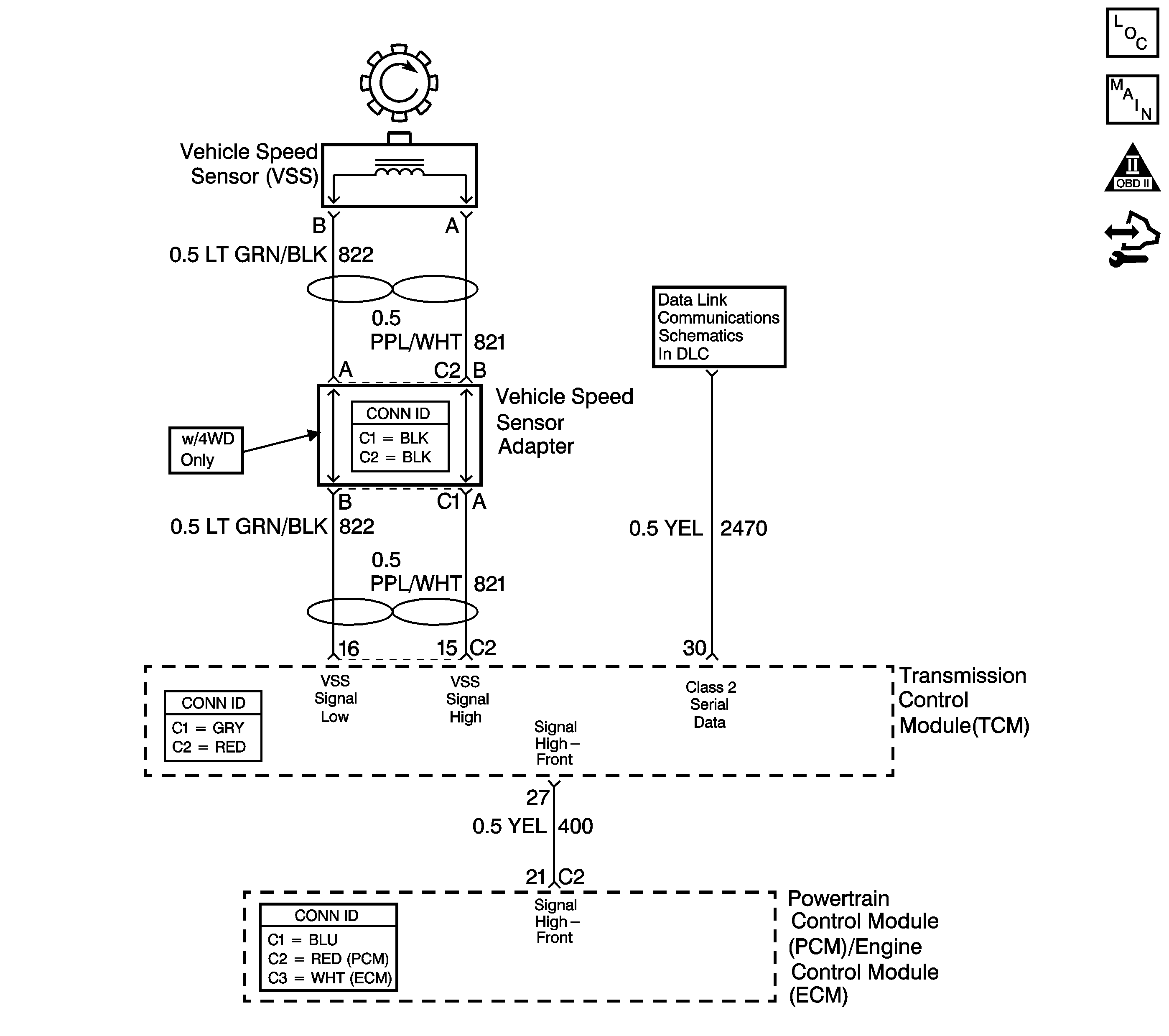
The vehicle speed sensor (VSS) monitors the rotation speed of the transmission output shaft. The VSS assembly is a permanent magnet generator. It produces an AC voltage as the rotor teeth on the output shaft of the transmission, 2WD, or transfer case, 4WD, pass through the magnetic field of the sensor. The AC voltage frequency and amplitude increase as the vehicle speed increases. The transmission control module (TCM) will send a controlled duty cycle voltage to the engine control module (ECM) that operates in a range of -4.5 volts or +5.0 volts. The ECM converts this signal into vehicle speed. As vehicle speed increases, the frequency of the duty cycle will increase.

DTC P0500 is a type B DTC.

DTC Descriptor

This diagnostic procedure supports the following DTC:

DTC P0500 Vehicle Speed Sensor (VSS) Circuit

Conditions for Running the DTC

The engine is running.

Conditions for Setting the DTC

If the ECM detects a difference in vehicle speed with the VSS of greater than 8 km/h (5 mph), then DTC P0500 is set.

Action Taken When the DTC Sets

    • The ECM illuminates the malfunction indicator lamp (MIL) on the second consecutive drive trip that the diagnostic runs.
    • The ECM disables cruise control.
    • The ECM records the operating conditions when the Conditions for Setting the DTC are met. The ECM stores this information as Freeze Frame and Failure Records.
    • The ECM stores DTC P0500 in ECM history.

Conditions for Clearing the MIL/DTC

    • The ECM turns OFF the MIL during the third consecutive trip in which the diagnostic test runs and passes.
    • A scan tool can clear the MIL/DTC.
    • The ECM clears the DTC from ECM history if the vehicle completes 40 warm-up cycles without an emission related diagnostic fault occurring.
    • The ECM cancels the DTC default actions when the ignition switch is OFF long enough in order to power down the ECM.

Test Description

The numbers below refer to the step numbers on the diagnostic table.

  1. This step tests the TCM and circuit 400 for voltage at the ECM connector.

  2. This step tests for continuity and a short to ground in the wiring system between the TCM and ECM.

DTC P0500 6.6L

Step

Action

Value

Yes

No

1

Did you perform the Diagnostic System Check - Vehicle?

--

Go to Step 2

Go to Diagnostic System Check - Vehicle in Vehicle DTC Information

2

  1. Install a scan tool.
  2. Turn ON the ignition, with the engine OFF.
  3. Important: 

       • Before clearing the DTC, use the scan tool in order to record the Freeze Frame and Failure Records from the TCM.
       • Using the Clear Info function erases stored DTCs in both the TCM and ECM.

  4. Record the DTC Freeze Frame and Failure Records.

Is there a DTC P0721 or P0722 present?

--

Go to DTC P0721 or DTC P0722

Go to Step 3

3

  1. Install a scan tool.
  2. Turn ON the ignition, with the engine OFF.
  3. Important: 

       • Before clearing the DTC, use the scan tool in order to record the Freeze Frame and Failure Records from the ECM.
       • Using the Clear Info function erases stored DTCs in both the ECM and TCM.

  4. Record the DTC Freeze Frame and Failure Records.
  5. Clear the DTC.
  6. Caution: To avoid any vehicle damage, serious personal injury or death when major components are removed from the vehicle and the vehicle is supported by a hoist, support the vehicle with jack stands at the opposite end from which the components are being removed and strap the vehicle to the hoist.

  7. Raise and support the vehicle.
  8. Start and idle the engine.
  9. Turn off the traction control system, if equipped.
  10. Select and monitor Engine Data 1/Vehicle Speed on the scan tool.
  11. Place the transmission into DRIVE. With the drive wheels rotating, slowly increase the engine speed.

Does Vehicle Speed on the scan tool increase with wheel speed?

--

Go to Intermittent Conditions in Engine Controls - 6.6L

Go to Step 4

4

  1. Turn OFF the engine.
  2. Disconnect connector C2 at the ECM.
  3. Turn the ignition to the ON position.
  4. Using the DMM and the J 35616 GM terminal test kit, test the signal circuit for voltage between pin 21 and ground.

Is the circuit voltage within the specified range?

-5.0 V to 4.0 V or +5.0 V to 4.0 V

Go to Step 7

Go to Step 5

5

  1. Turn OFF the ignition.
  2. Test the signal circuit between the TCM pin 25 and the ECM for the following:
  3. • An open circuit
    • Refer to Testing for Continuity in Wiring Systems.
    • A short to ground
    • Refer to Testing for Short to Ground in Wiring Systems.

Did you find and correct a condition?

--

Go to Step 8

Go to Step 6

6

Replace the TCM. Refer to Control Module References in Computer/Integrating Systems for replacement, setup, and programming.

Did you complete the replacement?

--

Go to Step 8

--

7

Replace the ECM. Refer to Control Module References in Computer/Integrating Systems for replacement, setup, and programming.

Did you complete the replacement?

--

Go to Step 8

--

8

  1. Select the DTC.
  2. Select Clear Info.
  3. Operate the vehicle within the conditions for running the DTC.
  4. Select Transmission Specific DTC.
  5. Enter DTC P0500.

Has the test run and passed?

--

System OK

Go to Step 1

DTC P0500 8.1L


Object Number: 1492064  Size: LF
OBD II Symbol Description Notice

Circuit Description

The vehicle speed sensor (VSS) monitors the rotation speed of the transmission output shaft. The VSS assembly is a permanent magnet generator. It produces an AC voltage as the rotor teeth on the output shaft of the transmission, 2WD, or transfer case, 4WD, pass through the magnetic field of the sensor. The AC voltage frequency and amplitude increase as the vehicle speed increases. The transmission control module (TCM) will send a controlled duty cycle voltage to the powertrain control module (PCM) that operates in a range of -4.5 volts or +5.0 volts. The PCM converts this signal into vehicle speed. As vehicle speed increases, the frequency of the duty cycle will increase.

DTC P0500 is a type B DTC.

DTC Descriptor

This diagnostic procedure supports the following DTC:

DTC P0500 Vehicle Speed Sensor (VSS) Circuit

Conditions for Running the DTC

    • The engine is running.
    • The engine coolant temperature (ECT) is greater than 25°C (77°F).

Conditions for Setting the DTC

    • If the PCM detects a difference in vehicle speed with the VSS of greater than 8 km/h (5 mph), then DTC P0500 is set.
    • No vehicle speed with engine RPM greater than 1,000 RPM and engine torque more than 300 N·m (221 lb ft).

Action Taken When the DTC Sets

    • The PCM illuminates the malfunction indicator lamp (MIL) on the second consecutive drive trip that the diagnostic runs.
    • The PCM disables cruise control.
    • The PCM records the operating conditions when the Conditions for Setting the DTC are met. The PCM stores this information as Freeze Frame and Failure Records.
    • The PCM stores DTC P0500 in PCM history.

Conditions for Clearing the MIL/DTC

    • The PCM turns OFF the MIL during the third consecutive trip in which the diagnostic test runs and passes.
    • A scan tool can clear the MIL/DTC.
    • The PCM clears the DTC from PCM history if the vehicle completes 40 warm-up cycles without an emission related diagnostic fault occurring.
    • The PCM cancels the DTC default actions when the ignition switch is OFF long enough in order to power down the PCM.

Test Description

The numbers below refer to the step numbers on the diagnostic table.

  1. This step tests the TCM and circuit 400 for voltage at the PCM connector.

  2. This step tests for continuity and a short to ground in the wiring system between the TCM and PCM.

DTC P0500 8.1L

Step

Action

Value

Yes

No

1

Did you perform the Diagnostic System Check - Vehicle?

--

Go to Step 2

Go to Diagnostic System Check - Vehicle in Vehicle DTC Information

2

  1. Install a scan tool.
  2. Turn ON the ignition, with the engine OFF.
  3. Important: 

       • Before clearing the DTC, use the scan tool in order to record the Freeze Frame and Failure Records from the TCM.
       • Using the Clear Info function erases stored DTCs in both the TCM and PCM.

  4. Record the DTC Freeze Frame and Failure Records.

Is there a DTC P0721 or P0722 present?

--

Go to DTC P0721 or DTC P0722

Go to Step 3

3

  1. Install a scan tool.
  2. Turn ON the ignition, with the engine OFF.
  3. Important: 

       • Before clearing the DTC, use the scan tool in order to record the Freeze Frame and Failure Records from the PCM.
       • Using the Clear Info function erases stored DTCs in both the PCM and TCM.

  4. Record the DTC Freeze Frame and Failure Records.
  5. Clear the DTC.
  6. Caution: To avoid any vehicle damage, serious personal injury or death when major components are removed from the vehicle and the vehicle is supported by a hoist, support the vehicle with jack stands at the opposite end from which the components are being removed and strap the vehicle to the hoist.

  7. Raise and support the vehicle.
  8. Start and idle the engine.
  9. Turn OFF the traction control system, if equipped.
  10. Select and monitor Engine Data 1/Vehicle Speed on the scan tool.
  11. Place the transmission into DRIVE. With the drive wheels rotating, slowly increase the engine speed.

Does Vehicle Speed on the scan tool increase with wheel speed?

--

Go to Intermittent Conditions in Engine Controls - 8.1L

Go to Step 4

4

  1. Turn OFF the engine.
  2. Disconnect connector C2 at the PCM.
  3. Turn the ignition to the ON position.
  4. Using the DMM and the J 35616 GM terminal test kit, test the signal circuit for voltage between pin 12 and ground.

Is the circuit voltage within the specified range?

-5.0 V to 4.0 V or +5.0 V to 4.0 V

Go to Step 7

Go to Step 5

5

  1. Turn OFF the ignition.
  2. Test the signal circuit between the TCM pin 25 and the PCM for the following conditions:
  3. • An open circuit
    • Refer to Testing for Continuity in Wiring Systems.
    • A short to ground
    • Refer to Testing for Short to Ground in Wiring Systems.

Did you find and correct a condition?

--

Go to Step 8

Go to Step 6

6

Replace the TCM. Refer to Control Module References in Computer/Integrating Systems for replacement, setup, and programming.

Did you complete the replacement?

--

Go to Step 8

--

7

Replace the PCM. Refer to Control Module References in Computer/Integrating Systems for replacement, setup, and programming.

Did you complete the replacement?

--

Go to Step 8

--

8

  1. Select the DTC.
  2. Select Clear Info.
  3. Operate the vehicle within the Conditions for Running the DTC.
  4. Select Transmission Specific DTC.
  5. Enter DTC P0500.

Has the test run and passed?

--

System OK

Go to Step 1