GM Service Manual Online
For 1990-2009 cars only

Removal Procedure

  1. Drain the cooling system. Refer to Cooling System Draining and Filling in Engine Cooling in the C/K Pickup Service Manual.

  2. Object Number: 762369  Size: SH
  3. Loosen the hose clamps enough to move the clamps away from the tee fitting.
  4. Disconnect the high pressure regulator (HPR) coolant hose (7) at the tee fitting (3).
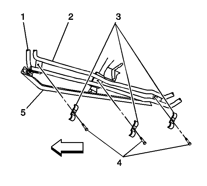
  5. Raise and support the vehicle. Refer to Lifting and Jacking the Vehicle in General Information in the C/K Pickup Service Manual.

  6. Object Number: 757007  Size: SH
  7. Remove the coolant line bracket bolts (4).
  8. Remove the coolant line brackets (3).

  9. Object Number: 756970  Size: SH
  10. Loosen the hose clamp enough to move the clamp (7) away from the pipe fitting (1).
  11. Disconnect the coolant hose (6) from the pipe fitting (1).
  12. Remove the coolant line from the vehicle.
  13. Lower the vehicle.

  14. Object Number: 757009  Size: SH
  15. Remove the tank cover (2). Refer to Fuel Tank Cover Replacement .

  16. Object Number: 757008  Size: SH
  17. Loosen the hose clamp enough to move the clamp (6) away from the high pressure regulator (HPR) coolant fitting.
  18. Disconnect the coolant hose (5) from the HPR fitting.
  19. Remove the coolant hose from the vehicle.

Installation Procedure


    Object Number: 757008  Size: SH
  1. Install the coolant hose (5) into the vehicle.
  2. Connect the coolant hose (5) to the HPR fitting.
  3. Tighten the coolant hose clamp (6) ensuring that the clamp fastens the hose to the HPR fitting.
  4. Raise and support the vehicle. Refer to Lifting and Jacking the Vehicle in General Information in the C/K Pickup Service Manual.

  5. Object Number: 757007  Size: SH
  6. Install the coolant line to the coolant line brackets.
  7. Install the coolant line brackets (3).
  8. Notice: Use the correct fastener in the correct location. Replacement fasteners must be the correct part number for that application. Fasteners requiring replacement or fasteners requiring the use of thread locking compound or sealant are identified in the service procedure. Do not use paints, lubricants, or corrosion inhibitors on fasteners or fastener joint surfaces unless specified. These coatings affect fastener torque and joint clamping force and may damage the fastener. Use the correct tightening sequence and specifications when installing fasteners in order to avoid damage to parts and systems.

  9. Install the coolant line bracket bolts (4).
  10. Tighten
    Tighten the bolts to 28 N·m (21 lb ft).


    Object Number: 756970  Size: SH
  11. Connect the coolant hose (6) to the coolant pipe fitting (1).
  12. Tighten the coolant hose clamp (7) ensuring that the clamp fastens the hose to the coolant pipe fitting (1).
  13. Lower the vehicle.

  14. Object Number: 762369  Size: SH
  15. Connect the coolant hose (7) to the heater hose tee (3).
  16. Tighten the coolant hose clamp ensuring that the clamp fastens the hose to the tee fitting (3).
  17. Fill the cooling system. Refer to Cooling System Draining and Filling in Engine Cooling in the C/K Pickup Service Manual.
  18. Inspect the cooling system for leaks. Refer to Loss of Coolant in Engine Cooling in the C/K Pickup Service Manual.

  19. Object Number: 757009  Size: SH
  20. Install the tank cover (2). Refer to Fuel Tank Cover Replacement .