 
| Subject: | Inaccurate Fuel Gauge Readings, Vehicle Runs Out of Fuel, or Fuel Gauge Registers Full But May Still Add Fuel (Install New Float Arm, Control Module, and Jumper Harness) | 
| Models: | 1990-99 Chevrolet and GMC 6-7 C-Series Conventional Cab Models | 
| with Gas Engines Equipped with 50 Gallon (189 L) Dual Fuel Tanks (RPO NL5) | 
| 1997-99 Chevrolet and GMC 6-7F T-Series Tilt Cab Models | 
| with Gas or Diesel Engines Equipped with 50 Gallon (189 L) Dual Fuel Tanks (RPO NL5) | 
Built before February 16, 1999 and the following VIN breakpoints (T-Series Only):
| Make | Plant | VIN Breakpoint | 
|---|---|---|
| Chevrolet | Janesville | XJ105482 | 
| GMC | Janesville | XJ510031 | 
Some owners/operators may comment about inaccurate fuel gauge readings. The inaccurate readings on T-Series models may result in running out of fuel when the fuel gauge indicates that the fuel tank is 1/4 or 1/2 full. The fuel gauge on C and T-Series models may also indicate full when an additional 40 to 50 gallons (151 to 189 L) of fuel can be added to the tank.
This condition may be caused by an improperly calibrated fuel gauge for the dual tank system. Also, the float arm geometry may not have sufficient length to accurately account for the amount of fuel in the fuel tank when the tank is full.
Some owners/operators may add fuel to the tanks without turning off the engine. The former fuel transfer pump control module required an ignition key cycle to reset itself in order to transfer fuel from the auxiliary (right) tank to the primary (left) tank.
New fuel level sensor float arms, a fuel transfer control module, and a jumper harness that includes a 330 Ohm resistor have been developed in order to correct this condition. Install the new parts on affected vehicles. Use the following procedure and the part numbers listed below.
Refer to Engine Fuel System, Driveability and Emissions, or the Engine Controls sub-section of the appropriate year Medium Duty Service Manual.
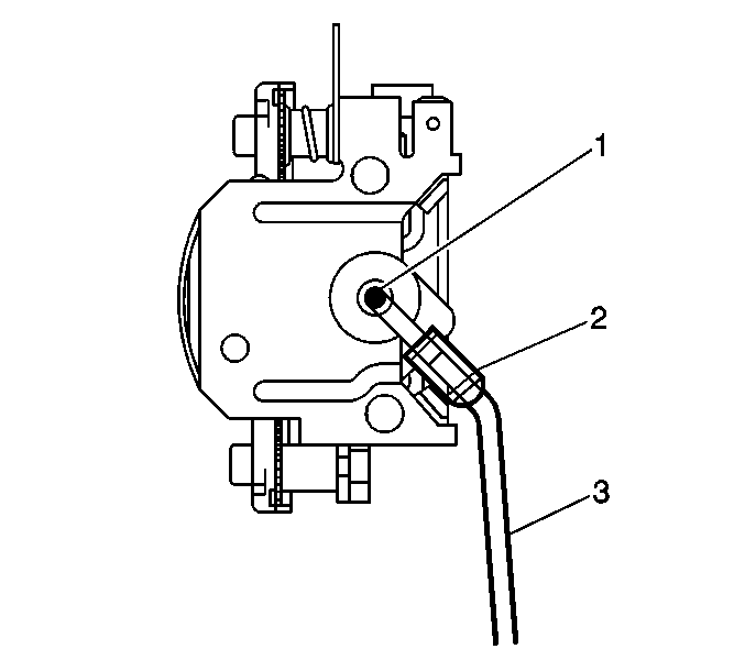
Use this procedure in order to install a new float arm in both fuel tanks:
 
Important: When Step 7 is complete, tighten the new float arm securely to the sender unit. Be sure that the float arm moves freely. Repeat the procedure for the second tank.
Use this procedure in order to install a new fuel gauge jumper:
 
Use the following information to replace the fuel transfer control module:
 
 
| P/N | Description | Quantity | 
|---|---|---|
| 25322803 | Float Kit, Fuel Lvl Sensor - T-Series | 1 | 
| 15045796 | Module, Fuel Lvl Control - C- and T-Series | 1 | 
| 15334239 | Jumper Harness (w/330 Ohm Resistor) - T-Series | 1 | 
| 11509086 | Band Tie, Nylon | 1 | 
Parts are currently available from GMSPO.
For vehicles repaired under warranty, use:
| Labor Operation | Description | Labor Time | 
|---|---|---|
| L1224 | Sender/Pump Asm., Fuel (Tank Unit) - Replace (Right Tank) | Use published labor operation time | 
| L0763 | Module, Fuel Transfer - Replace | Use published labor operation time |