GM Service Manual Online
For 1990-2009 cars only

Object Number: 69022  Size: LF
Automatic Transmission Components Gas
Automatic Transmission Controls Schematics 5.7 and 7.4 L Gas Schematics
OBD II Symbol Description Notice
Handling ESD Sensitive Parts Notice

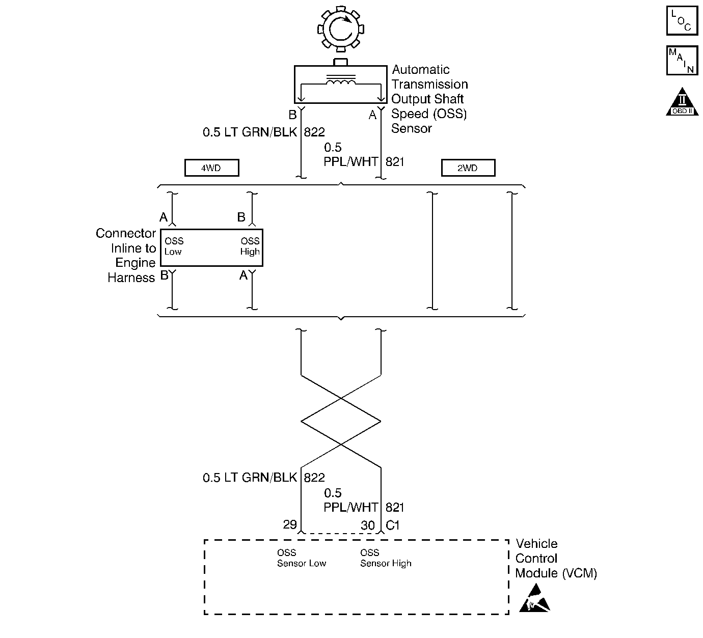
Circuit Description

The Output Shaft Speed Sensor (OSS Sensor), which is a Permanent Magnet (PM) generator, gives the vehicle speed information to the Vehicle Control Module (VCM). The PM generator produces a pulsing AC voltage. The AC voltage level and the number of pulses increase as the speed of the vehicle increases. The VCM then converts the pulsing voltage to vehicle speed. The vehicle speed is used for calculations. A scan tool can display the vehicle speed.

If the VCM detects a low vehicle speed and there is a high engine speed in a drive gear range, DTC P0502 sets. DTC P0502 is a type D DTC. For California emissions, DTC P0502 is a type B DTC.

Conditions for Setting the DTC

    • No Throttle Position (TP) Sensor DTCs P0122 or P0123
    • No TFP Val. Position Sw. DTC P1810
    • No A/T ISS Sensor low DTC P0716 or P0717
    • The engine torque must be 100-470 N·m (80-375 lb ft).
    • The A/T ISS is greater than 2500 RPM.
    • The transmission is not in Park or Neutral.
    • The engine is running more than 475 RPM for 7 seconds.
    • The OSS is less than 200 RPM for at least 3 seconds.

Action Taken When the DTC Sets

    • The VCM commands maximum line pressure.
    • The VCM freezes the shift adapts.
    • The VCM defaults a calculated output speed value by using the Input Speed Sensor values.
    • For California emissions, the VCM illuminates the Malfunction Indicator Lamp (MIL).

Conditions for Clearing the MIL/DTC

    • For California emissions, the VCM turns off the MIL after three consecutive ignition cycles without a failure reported.
    • A scan tool can clear the DTC from the VCM history. The VCM clears the DTC from the VCM history if the vehicle completes 40 warm-up cycles without a failure reported.
    • The VCM cancels the DTC default actions when the fault no longer exists and the ignition is cycled OFF long enough to power down the VCM.

Diagnostic Aids

    • DTC P0502 sets when no vehicle speed is detected at the start off.
    • Inspect the wiring for poor electrical connections at the VCM. Inspect the wiring for poor electrical connections at the transmission 20-way connector. Look for the following problems:
       - A bent terminal
       - A backed out terminal
       - A damaged terminal
       - Poor terminal tension
       - A chafed wire
       - A broken wire inside the insulation.
    • When diagnosing for an intermittent short or open, massage the wiring harness while watching the test equipment for a change.
    • First diagnose and clear any engine DTCs or TP Sensor codes. Then inspect for any transmission DTCs that may have reset.

Test Description

The numbers below refer to the step numbers on the diagnostic table.

  1. This step tests for voltage in the 822 ground circuit.

  2. This step tests the 5-volt and ground circuit of the VCM.

  3. This step tests the integrity of the OSS Sensor.

  4. This step tests the OSS circuit.

DTC P0502 Vehicle Speed Sensor Low Input (Transmission Output Shaft Speed Signal)

Step

Action

Value(s)

Yes

No

1

Was the Powertrain On-Board Diagnostic (OBD) System Check performed?

--

Go to Step 2

Go to Powertrain On Board Diagnostic (OBD) System Check

2

  1. Install the Scan Tool ®.
  2. With the engine OFF, turn the ignition switch to the RUN position.
  3. Important: Before clearing the DTCs, use the scan tool in order to record the Freeze Frame and Failure Records for reference. Using the Clear Info function erases the stored Freeze Frame and Failure records from the VCM.

  4. Record the DTC Freeze Frame and Failure Records.
  5. Raise and support the drive wheels.
  6. Start the engine.
  7. Place the Transmission in any drive range.
  8. With the drive wheels rotating, does the Transmission OSS increase with the drive wheel speed?

--

Go to Diagnostic Aids

Go to Step 3

3

  1. Turn the ignition OFF.
  2. Disconnect the OSS Sensor harness connector from the sensor.
  3. Turn the ignition switch to the Run position.
  4. Using the J 39200 DMM on DC volts and J 35616 Connector Test Adapter Kit, measure the voltage between the OSS Sensor harness connector terminal A and a good ground.

Is the voltage within the specified value?

4.0-5.1 volts DC

Go to Step 4

Go to Step 5

4

With the ignition switch in the RUN position, measure the voltage between terminal B of the OSS Sensor harness and a good ground.

Is the voltage less than the specified value?

0.2 volts

Go to Step 6

Go to Step 12

5

Was the voltage reading in Step 3 greater than the specified value?

5.1 volts

Go to Step 12

Go to Step 7

6

With the ignition switch in the Run position, measure the voltage between terminals A and B of the OSS Sensor harness connector.

Is the voltage within the specified value?

4.0-5.1 volts

Go to Step 10

Go to Step 8

7

Important: 4 wheel drive vehicles use an in-line connector between the engine harness and the OSS Sensor harness at the transfer case.

Inspect circuit 821 for high resistance or an open circuit.

Refer to Electrical Diagnosis, Section 8.

Did you find a problem?

--

Go to Step 18

Go to Step 9

8

Inspect circuit 822 for an open between the connector and the VCM.

Important: 4 wheel drive vehicles use an in-line connector between the engine harness and the OSS Sensor harness at the transfer case.

Did you find a problem?

--

Go to Step 18

Go to Step 13

9

Inspect circuit 821 for a short to ground.

Did you find a problem?

--

Go to Step 18

Go to Step 13

10

Using the DMM, measure the resistance between terminals A and B of the OSS Sensor.

Is the resistance within the specified value?

1470-2820Ω

Go to Step 11

Go to Step 17

11

  1. Place the transmission in Neutral.
  2. Select the AC volts.
  3. Rotate the rear wheels ensuring that the driveshaft is turning.

Is the voltage greater than the specified value?

0.5 volts AC

Go to Step 13

Go to Step 15

12

  1. Inspect circuit 821 for a short to voltage B+.
  2. Inspect circuit 822 for a short to voltage B+.
  3. Inspect circuits 821 and 822 for a short together.

Did you find a problem?

--

Go to Step 18

Go to Step 14

13

  1. Reconnect the OSS Sensor connector to the OSS Sensor.
  2. With the ignition OFF disconnect the VCM connector C1 (blue) from the VCM.
  3. Connect the DMM to terminals C1-29 and C1-30.
  4. While rotating the rear wheels and ensuring that the driveshaft is turning, measure the voltage with the DMM on AC volts.

Is the voltage greater than the specified value?

0.5 volts AC

Go to Step 14

--

14

  1. Inspect the VCM pins for corrosion or poor tension.
  2. Inspect connector C1 terminals for corrosion or poor tension.

Did you find a problem?

--

Go to Step 18

Go to Step 16

15

  1. Remove the OSS Sensor.
  2. Inspect the Output Shaft Speed Sensor Rotor for damage or misalignment.
  3. Refer to Transmission Overhaul , in Unit Repair.

Did you find a problem?

--

Go to Step 18

Go to Step 17

16

Replace the VCM.

Refer to VCM Replacement/Programming , Section 6.

Is the replacement complete?

--

Go to Step 18

--

17

Replace the OSS Sensor.

Refer to Speed Sensor Replacement, in On-Vehicle Service.

Is the replacement complete?

--

Go to Step 18

--

18

In order to verify your repair, perform the following procedure:

  1. Select DTC.
  2. Operate the vehicle so that the transmission OSS is greater than 500 RPM for 1 second.
  3. Select Clear Info.
  4. Select Specific DTC.
  5. Enter DTC P0502.

Has the test run and passed?

--

System OK

Begin the diagnosis again. Go to Step 1