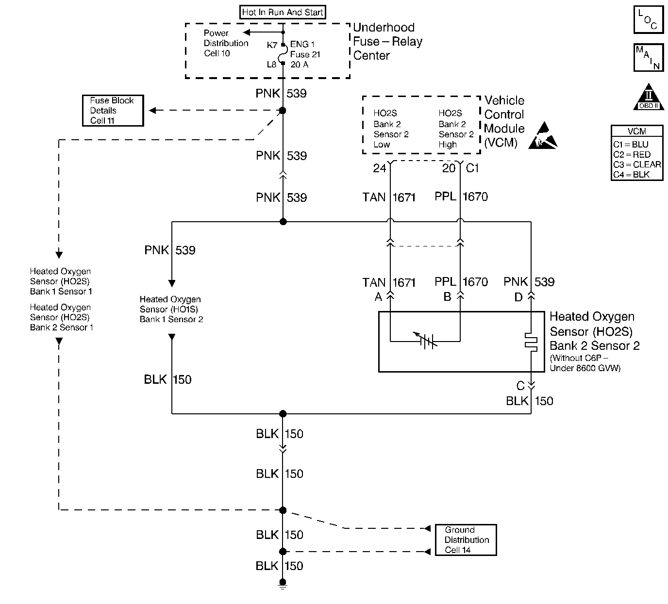
The heated oxygen sensor (HO2S) is a sensor designed to create a voltage relative to the oxygen content in the engine exhaust stream. The control module supplies the HO2S with signal high and low circuits. Ignition voltage and ground are supplied to the HO2S heater by independent circuits. The oxygen content of the exhaust indicates when the engine is operating lean or rich. When the HO2S detects that the engine is operating rich, the signal voltage is high, and decreases the signal voltage as the engine runs leaner. This oscillation above and below the bias voltage, sometimes referred to as activity or switching, can be monitored with the HO2S signal voltage.
The HO2S contains a heater that is necessary in order to quickly warm the sensor to operating temperature. The heater also maintains the operating temperature during extended idle conditions. The HO2S needs to be at a high temperature in order to produce a voltage. When the HO2S reaches operating temperature, the control module monitors the HO2S bias, or reference, voltage. It also monitors the HO2S signal voltage for Closed Loop fuel control. During normal Closed Loop fuel control operation, the control module will add fuel, or enrich the mixture, when the HO2S detects a lean exhaust content. The control module will subtract fuel, or "lean-out" the mixture, when the HO2S detects a rich exhaust condition.
Certain vehicle models utilize an oxygen sensor behind the catalytic converter in order to monitor catalyst efficiency.
This diagnostic trouble code (DTC) determines if the HO2S is functioning properly. It checks for an adequate number of HO2S voltage transitions above and below the bias range of 300-600 mV. This DTC sets when the vehicle control module (VCM) fails to detect a minimum number of voltage transitions above and below the bias range during the test period. Possible causes of this DTC are:
| • | An open or a short to voltage on either the HO2S signal or HO2S low circuits |
| • | A malfunctioning HO2S |
| • | A problem in the HO2S heater or its circuit |
| • | A faulty HO2S ground |
This DTC determines if the post-converter HO2S heater circuit is functioning properly by monitoring the amount of time required for the HO2S to reach operating temperature. This DTC sets when the VCM fails to detect HO2S voltage transitions above and below the bias range within a specified amount of time. Possible cause of this DTC are listed below.
| • | An open circuit in either the HO2S ignition positive voltage or the HO2S heater ground circuits. |
| • | An HO2S heater element problem. |
| Important: This test is void if the system voltage remains outside the specified range for more than 4 seconds |
| • | The system voltage is between 9-17 volts |
| • | The MAF is less than 27 g/s |
| • | The engine run time is more than 2 seconds |
| • | The ECT is less than 33°C (91° F) |
| • | The IAT is less than 33°C (91° F) |
| • | The difference between the ECT and IAT is 5°C (9° F) or less |
The O2 sensor voltage remains within 150 mV of its startup voltage for 255 seconds after cold start.
| • | The control module illuminates the malfunction indicator lamp (MIL) if a failure is detected during 2 consecutive key cycles. |
| • | The control module sets the DTC and records the operating conditions at the time the diagnostic failed. The failure information is stored in the scan tool Freeze Frame/Failure Records. |
| • | The control module turns OFF the MIL after 3 consecutive drive trips when the test has run and passed. |
| • | A history DTC will clear if no fault conditions have been detected for 40 warm-up cycles. A warm-up cycle occurs when the coolant temperature has risen 22°C (40°F) from the startup coolant temperature and the engine coolant reaches a temperature that is more than 70°C (158°F) during the same ignition cycle. |
| • | Use a scan tool in order to clear the DTCs. |
Important: Never solder the HO2S wires. For proper wire and connection repairs, refer to Wiring Repairs or Connector Repairs in Wiring Systems.
Check for the following conditions:
An intermittent may be caused by any of the following conditions:
| • | A poor connection |
| • | Rubbed through wire insulation |
| • | A broken wire inside the insulation |
Thoroughly check any circuitry that is suspected of causing the intermittent complaint. Refer to Intermittents and Poor Connections Diagnosis in Wiring Systems.
If a repair is necessary, refer to Wiring Repairs or Connector Repairs in Wiring Systems.
The number(s) below refer to the step number(s) on the Diagnostic Table.
As the heater warms the oxygen sensor to operating temperature, the HO2S will output a voltage in relation to the amount of oxygen in the exhaust. With the ignition ON and the engine OFF the exhaust usually contains a high oxygen content. With the engine OFF the HO2S voltage will usually decrease from the initial (bias) voltage due to the high oxygen content.
This step checks for proper HO2S heater ignition positive voltage and ground supply.
This step checks for proper VCM and signal circuit operation.
Step | Action | Value(s) | Yes | No | ||||||||
|---|---|---|---|---|---|---|---|---|---|---|---|---|
1 |
Important: Before clearing the DTCs, use the scan tool Capture Info to save the Freeze Frame and Failure Records for reference. The control module's data is deleted once the Clear Info function is used. Did you perform the Powertrain On-Board Diagnostic (OBD) System Check? | -- | ||||||||||
|
Important: The HO2S must be cool before proceeding with diagnosis. The Ignition must remain OFF for at least one half hour before proceeding with diagnosis.
Does the HO2S voltage increase or decrease from the initial voltage by at least the value specified? | 150 mV | |||||||||||
3 | The condition that set this DTC is not present. This DTC may have been set by one of the following conditions:
Repair any of the above conditions as necessary. Did you find a problem? | -- | Go to Diagnostic Aids | |||||||||
Turn ON the ignition leaving the engine OFF. Is the test lamp ON? | -- | |||||||||||
Ensure the ignition is ON while the engine is OFF. Is the HO2S voltage less than the specified value? | 20 mV | |||||||||||
6 | Connect the test lamp between the HO2S heater ignition positive voltage circuit terminal (engine harness side) and a known good ground. Ensure the ignition is ON while the engine is OFF. Is the test lamp ON? | -- | ||||||||||
7 |
Is the resistance less than the specified value? | 5 ohms | ||||||||||
8 | Replace the HO2S. Refer to Heated Oxygen Sensor Replacement . Is the action complete? | -- | -- | |||||||||
9 | Repair the open HO2S heater ground circuit. Refer to Wiring Repairs in Wiring Systems. Is the action complete? | -- | -- | |||||||||
10 |
Is the action complete? | -- | -- | |||||||||
11 | Repair the circuit that measured high resistance. Refer to Wiring Repairs in Wiring Systems. Is the action complete? | -- | -- | |||||||||
12 |
Did you find a problem? | -- | ||||||||||
13 |
Is the action complete? | -- | -- | |||||||||
14 |
Important: The HO2S must be cool before proceeding with diagnosis. The Ignition must remain OFF for at least one half hour before proceeding with diagnosis.
Does the HO2S voltage increase or decrease from the initial voltage by at least the value specified? | 150 mV | ||||||||||
15 | Does the scan tool display any additional undiagnosed DTCs? | -- | Go to the applicable DTC table | System OK |
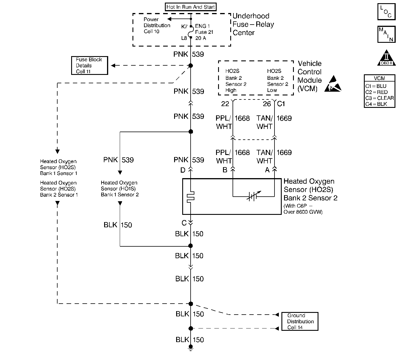
The heated oxygen sensor (HO2S) is a sensor designed to create a voltage relative to the oxygen content in the engine exhaust stream. The control module supplies the HO2S with signal high and low circuits. Ignition voltage and ground are supplied to the HO2S heater by independent circuits. The oxygen content of the exhaust indicates when the engine is operating lean or rich. When the HO2S detects that the engine is operating rich, the signal voltage is high, and decreases the signal voltage as the engine runs leaner. This oscillation above and below the bias voltage, sometimes referred to as activity or switching, can be monitored with the HO2S signal voltage.
The HO2S contains a heater that is necessary in order to quickly warm the sensor to operating temperature. The heater also maintains the operating temperature during extended idle conditions. The HO2S needs to be at a high temperature in order to produce a voltage. When the HO2S reaches operating temperature, the control module monitors the HO2S bias, or reference, voltage. It also monitors the HO2S signal voltage for Closed Loop fuel control. During normal Closed Loop fuel control operation, the control module will add fuel, or enrich the mixture, when the HO2S detects a lean exhaust content. The control module will subtract fuel, or "lean-out" the mixture, when the HO2S detects a rich exhaust condition.
Certain vehicle models utilize an oxygen sensor behind the catalytic converter in order to monitor catalyst efficiency.
This diagnostic trouble code (DTC) determines if the HO2S is functioning properly. It checks for an adequate number of HO2S voltage transitions above and below the bias range of 300-600 mV. This DTC sets when the vehicle control module (VCM) fails to detect a minimum number of voltage transitions above and below the bias range during the test period. Possible causes of this DTC are:
| • | An open or a short to voltage on either the HO2S signal or HO2S low circuits |
| • | A malfunctioning HO2S |
| • | A problem in the HO2S heater or its circuit |
| • | A faulty HO2S ground |
This DTC determines if the post-converter HO2S heater circuit is functioning properly by monitoring the amount of time required for the HO2S to reach operating temperature. This DTC sets when the VCM fails to detect HO2S voltage transitions above and below the bias range within a specified amount of time. Possible cause of this DTC are listed below.
| • | An open circuit in either the HO2S ignition positive voltage or the HO2S heater ground circuits. |
| • | An HO2S heater element problem. |
| Important: This test is void if the system voltage remains outside the specified range for more than 4 seconds |
| • | The system voltage is between 9-17 volts |
| • | The MAF is less than 27 g/s |
| • | The engine run time is more than 2 seconds |
| • | The ECT is less than 33°C (91° F) |
| • | The IAT is less than 33°C (91° F) |
| • | The difference between the ECT and IAT is 5°C (9°F) or less |
The O2 sensor voltage remains within 150 mV of its startup voltage for 255 seconds after cold start.
| • | The control module illuminates the malfunction indicator lamp (MIL) if a failure is detected during 2 consecutive key cycles. |
| • | The control module sets the DTC and records the operating conditions at the time the diagnostic failed. The failure information is stored in the scan tool Freeze Frame/Failure Records. |
| • | The control module turns OFF the MIL after 3 consecutive drive trips when the test has run and passed. |
| • | A history DTC will clear if no fault conditions have been detected for 40 warm-up cycles. A warm-up cycle occurs when the coolant temperature has risen 22°C (40°F) from the startup coolant temperature and the engine coolant reaches a temperature that is more than 70°C (158°F) during the same ignition cycle. |
| • | Use a scan tool in order to clear the DTCs. |
Important: Never solder the HO2S wires. For proper wire and connection repairs, refer to Wiring Repairs or Connector Repairs in Wiring Systems.
Check for the following conditions:
An intermittent may be caused by any of the following conditions:
| • | A poor connection |
| • | Rubbed through wire insulation |
| • | A broken wire inside the insulation |
Thoroughly check any circuitry that is suspected of causing the intermittent complaint. Refer to Intermittents and Poor Connections Diagnosis in Wiring Systems.
If a repair is necessary, refer to Wiring Repairs or Connector Repairs in Wiring Systems.
The number(s) below refer to the step number(s) on the Diagnostic Table.
As the heater warms the oxygen sensor to operating temperature, the HO2S will output a voltage in relation to the amount of oxygen in the exhaust. With the ignition ON and the engine OFF the exhaust usually contains a high oxygen content. With the engine OFF the HO2S voltage will usually decrease from the initial (bias) voltage due to the high oxygen content.
This step checks for proper HO2S heater ignition positive voltage and ground supply.
This step checks for proper VCM and signal circuit operation.
Step | Action | Value(s) | Yes | No | ||||||||
|---|---|---|---|---|---|---|---|---|---|---|---|---|
1 |
Important: Before clearing the DTCs, use the scan tool Capture Info to save the Freeze Frame and Failure Records for reference. The control module's data is deleted once the Clear Info function is used. Did you perform the Powertrain On-Board Diagnostic (OBD) System Check? | -- | ||||||||||
|
Important: The HO2S must be cool before proceeding with diagnosis. The Ignition must remain OFF for at least one half hour before proceeding with diagnosis.
Does the HO2S voltage increase or decrease from the initial voltage by at least the value specified? | 150 mV | |||||||||||
3 | The condition that set this DTC is not present. This DTC may have been set by one of the following conditions:
Repair any of the above conditions as necessary. Did you find a problem? | -- | Go to Diagnostic Aids | |||||||||
Turn ON the ignition leaving the engine OFF. Is the test lamp ON? | -- | |||||||||||
Ensure the ignition is ON while the engine is OFF. Is the HO2S voltage less than the specified value? | 20 mV | |||||||||||
6 | Connect the test lamp between the HO2S heater ignition positive voltage circuit terminal (engine harness side) and a known good ground. Ensure the ignition is ON while the engine is OFF. Is the test lamp ON? | -- | ||||||||||
7 |
Is the resistance less than the specified value? | 5 ohms | ||||||||||
8 | Replace the HO2S. Refer to Heated Oxygen Sensor Replacement . Is the action complete? | -- | -- | |||||||||
9 | Repair the open HO2S heater ground circuit. Refer to Wiring Repairs in Wiring Systems. Is the action complete? | -- | -- | |||||||||
10 |
Is the action complete? | -- | -- | |||||||||
11 | Repair the circuit that measured high resistance. Refer to Wiring Repairs in Wiring Systems. Is the action complete? | -- | -- | |||||||||
12 |
Did you find a problem? | -- | ||||||||||
13 |
Is the action complete? | -- | -- | |||||||||
14 |
Important: The HO2S must be cool before proceeding with diagnosis. The Ignition must remain OFF for at least one half hour before proceeding with diagnosis.
Does the HO2S voltage increase or decrease from the initial voltage by at least the value specified? | 150 mV | ||||||||||
15 | Does the scan tool display any additional undiagnosed DTCs? | -- | Go to the applicable DTC table | System OK |