GM Service Manual Online
For 1990-2009 cars only

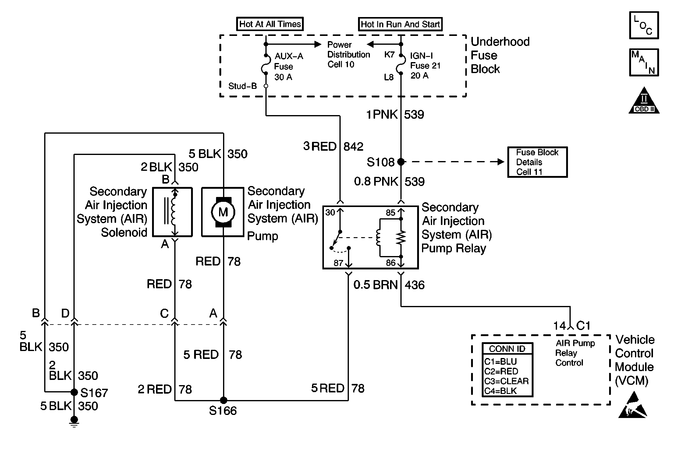
Object Number: 600795  Size: MF
Engine Controls Components
OBD II Symbol Description Notice
VCM Connector End Views
Auxiliary Engine Cooling Fan Control (Export), A/C Recirc Door Control
Handling ESD Sensitive Parts Notice

Circuit Description

An AIR pump is used on this vehicle to lower tail pipe emissions on start-up. The vehicle control module (VCM) supplies a ground to the AIR pump relay, which energizes the AIR pump and the AIR solenoid.

The VCM will run two tests using the heated oxygen sensor (HO2S) voltages to diagnose the AIR system.

Test one (passive) consists of the following:

PART 1

When the AIR pump is enabled, the VCM monitors the HO2S voltage. If the HO2S voltages go below a threshold, the VCM interprets this as an indication that the AIR System is operational.

PART 2

When the AIR pump is disabled, the VCM monitors the HO2S voltages. The HO2S voltages should increase above a threshold and switch normally.

If the VCM did not sense more than a predetermined amount of HO2S rich switches, a malfunction will be reported. If both of these tests indicate a pass, no further action is taken. If one of the above tests failed or is inconclusive, the diagnostic will proceed to test two.

Test two (active) consist of the following:

During this test the VCM will activate the AIR pump during Closed Loop operation. When the AIR system is activated, the VCM will monitor the HO2S voltages and short term fuel trim values for both banks of the engine. If the AIR system is operating properly, the HO2S voltages should go low and the short term fuel trim should go high.

The VCM checks that the HO2S voltages return to above a rich threshold when the AIR pump is disabled.

If the VCM determines that the HO2S voltages for BOTH banks did not respond as expected during the tests, DTC P0410 will set. If only one sensor responded, the VCM will set either a DTC P1415 or P1416 to indicate on which bank the AIR system is inoperative.

Conditions for Running the DTC

    • No active intake air temperature (IAT) sensor DTCs
    • No active engine coolant temperature (ECT) sensor DTCs
    • No active throttle position (TP) sensor DTCs
    • No active HO2S DTCs
    • No active vehicle speed sensor (VSS) DTCs
    • No active misfire DTCs
    • No active system voltage DTCs
    • No active fuel trim DTCs
    • No active evaporative emission (EVAP) DTCs
    • No active power enrichment
    • No active DFCO
    • The air flow is less than 25 g/s.
    • The engine load is less than 34 percent.
    • The air fuel ratio is 14.7.
    • The engine speed is more than 550 RPM.
    • The ECT is between 60-107°C (140-225°F).
    • The engine load is less than 34 percent.
    • The system voltage is more than 11.7 volts.
    • The air flow is less than 25 g/s.

Conditions for Setting the DTC

The HO2S voltage is more than 222 mv on bank 1 for more than 1 second when the AIR pump is turned ON during Closed Loop operation.

Action Taken When the DTC Sets

The VCM will turn ON the malfunction indicator lamp (MIL) after two consecutive test cycles with the fault active.

Conditions for Clearing the MIL or DTC

    • The control module turns OFF the MIL after 3 consecutive drive trips when the test has run and passed.
    • A history DTC will clear if no fault conditions have been detected for 40 warm-up cycles. A warm-up cycle occurs when the coolant temperature has risen 22°C (40°F) from the startup coolant temperature and the engine coolant reaches a temperature that is more than 70°C (158°F) during the same ignition cycle.
    • Use a scan tool in order to clear the DTCs.

Diagnostic Aids

Low AIR system volume may cause a DTC P1415, P1416, or an intermittent complaint. Also check for the following conditions:

    • Pinched, kinked, or restricted AIR pipes, hoses or fittings
    • Leaks, holes, loose fittings or hoses
    • Restricted or obstructed AIR pump inlet

An AIR supply hose that is melted before the check valve could indicate exhaust gas back-flow past the check valve.

An intermittent may be caused by a poor connection, rubbed through wire insulation, or a broken wire inside the insulation.

Thoroughly check any circuitry that is suspected of causing the intermittent complaint for the following conditions:

    • Backed out terminals
    • Improper mating
    • Broken locks
    • Improperly formed or damaged terminals
    • Poor terminal to wire connections
    • Physical damage to the wiring harness
    • Corrosion
    • Moisture in the connector

Test Description

The numbers below refer to the step numbers on the diagnostic table.

  1. This step determines if the cause of this DTC is still present.

  2. This step determines if there is a problem before or after the check valve.

Step

Action

Value(s)

Yes

No

1

Did you perform the Powertrain On-Board Diagnostic (OBD) System Check?

--

Go to Step 2

Go to Powertrain On Board Diagnostic (OBD) System Check

2

  1. Install a scan tool.
  2. Start the engine and allow it to run for 2 minutes.
  3. Verify the engine is at normal operating temperature and in Closed Loop.
  4. Command ON the AIR pump with the scan tool.

Does the short term fuel trim bank 1 indicate a change of more than the specified value within 30 seconds?

20%

Go to Step 3

Go to Step 4

3

The DTC is intermittent.

Are any additional DTCs stored?

--

Go to the applicable DTC table

Go to Diagnostic Aids

4

Check the AIR system bank 1 for the following:

    • Hoses and pipes for proper connections
    • Secure hose clamps
    • Kinks, holes, or pinched hoses and pipes
    • Loose fittings
    • Components with evidence of heat damage

Did you find a problem?

--

Go to Step 8

Go to Step 5

5

  1. Disconnect the AIR hose at the AIR pump side of the bank 1 check valve.
  2. Start the engine and allow it to idle.
  3. Command ON the AIR pump with the scan tool.

Does air flow from the AIR hose?

--

Go to Step 6

Go to Step 7

6

Check for restrictions or leaks in the check valve and the AIR pipe on bank 1.

Did you find a problem?

--

Go to Step 8

Go to Diagnostic Aids

7

Check for restrictions or leaks in the bank 1 AIR hose between the check valve and the point where the system branches to each bank.

Did you find a problem?

--

Go to Step 8

Go to Secondary Air Injection System Diagnosis

8

Repair as necessary. Refer to Secondary Air Injection Check Valve and Check Valve Pipe Replacement .

Is the action complete?

--

Go to Step 9

--

9

  1. Use the scan tool in order to select the DTC and the Clear Information functions.
  2. Start the engine.
  3. Allow the engine to idle until normal operating temperature is reached.
  4. Select DTC and the Specific DTC function.
  5. Enter the DTC number which was set.
  6. Operate the vehicle, with the Conditions for Setting this DTC, until the scan tool indicates the diagnostic Ran.

Does the scan tool indicate that this diagnostic Passed?

--

Go to Step 10

Go to Step 2

10

Does the scan tool display any additional undiagnosed DTCs?

--

Go to the applicable DTC table

System OK