GM Service Manual Online
For 1990-2009 cars only
Makes
🢒
Chevrolet
🢒
2002
🢒
Chevy MD Steel Tilt (W Model)
🢒
Transmission/Transaxle
🢒
Automatic Transmission - 4L80-E
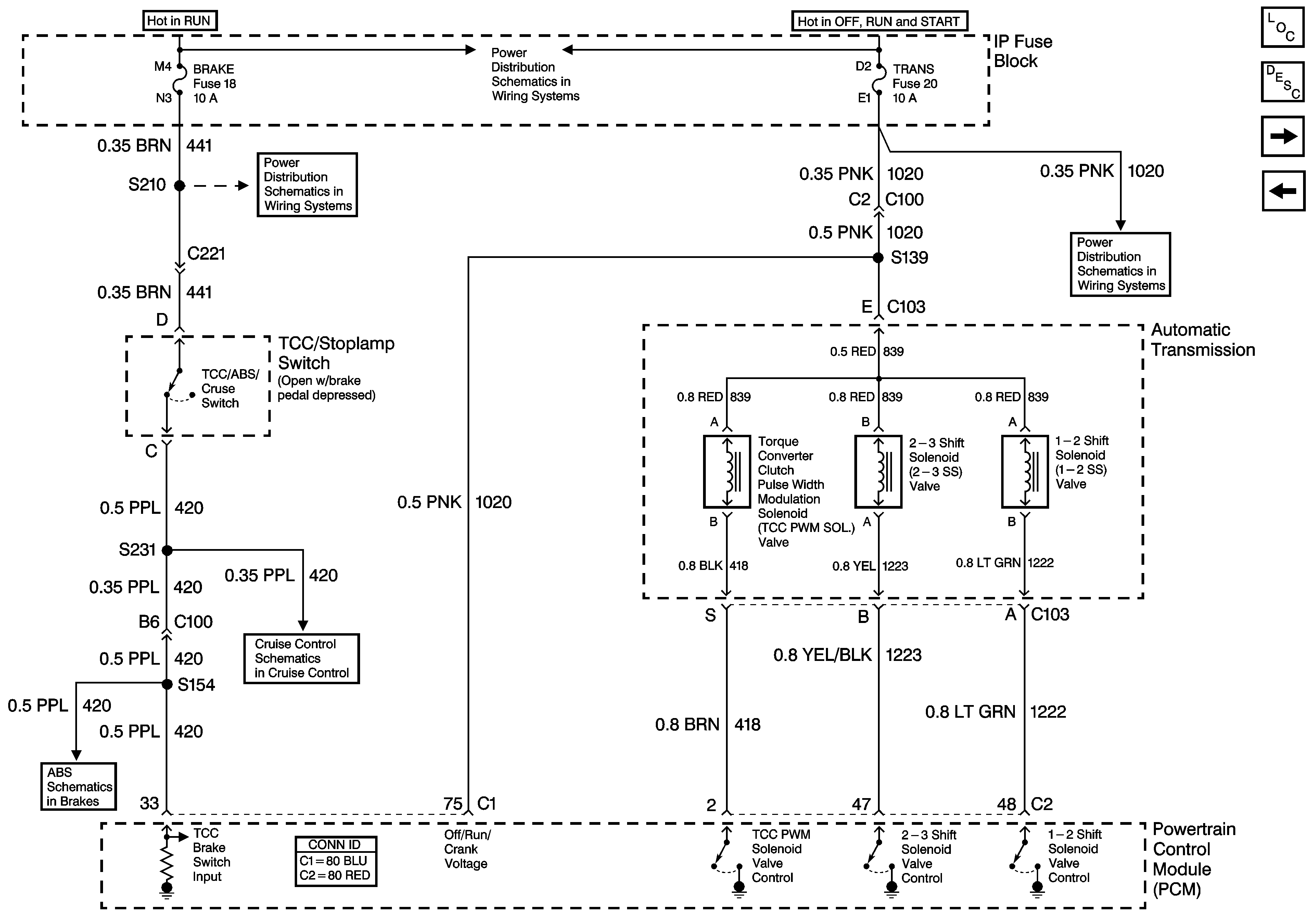
🢒 Automatic Transmission Controls Schematics
Figure
1:
PWR and VSS Controls
Figure
2:
Solenoid and TCC/Stoplamp Controls
Figure
3:
Sensor, Solenoid and GND Controls