GM Service Manual Online
For 1990-2009 cars only

Removal Procedure

    Caution: Unless directed otherwise, the ignition and start switch must be in the OFF or LOCK position, and all electrical loads must be OFF before servicing any electrical component. Disconnect the negative battery cable to prevent an electrical spark should a tool or equipment come in contact with an exposed electrical terminal. Failure to follow these precautions may result in personal injury and/or damage to the vehicle or its components.

  1. Disconnect the negative battery cable.
  2. Inspect the engine mounts. Refer to Engine Mount Inspection .
  3. Notice: When raising or supporting the engine for any reason, do not use a jack under the oil pan, any sheet metal, or the crankshaft pulley. Due to the small clearance between the oil pan and the oil pump screen, jacking against the oil pan may cause the pan to be bent against the pump screen. This will result in a damaged oil pickup unit.

  4. Support the engine/transmission with a suitable jack. Do not load the engine mounts.

  5. Object Number: 240949  Size: SH
  6. Remove the front engine mount through-bolt nuts (4), washers (3), and spacers (2).

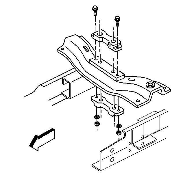
  7. Object Number: 258850  Size: SH
  8. Remove the front engine mount retaining bolts.
  9. Remove the front engine mount.
  10. Remove the transmission mount to crossmember through-bolts (10) and (11).
  11. Raise the front engine only enough to permit the removal of the engine and transmission mounts.

  12. Object Number: 240984  Size: SH
  13. Remove the transmission mount to crossmember retaining nuts.
  14. Remove the front engine mount assembly.
  15. Remove the transmission mounts (6), (7), (14), and (15).

Installation Procedure


    Object Number: 258850  Size: SH
  1. Install the front engine mount to the crossmember.
  2. Notice: Use the correct fastener in the correct location. Replacement fasteners must be the correct part number for that application. Fasteners requiring replacement or fasteners requiring the use of thread locking compound or sealant are identified in the service procedure. Do not use paints, lubricants, or corrosion inhibitors on fasteners or fastener joint surfaces unless specified. These coatings affect fastener torque and joint clamping force and may damage the fastener. Use the correct tightening sequence and specifications when installing fasteners in order to avoid damage to parts and systems.

  3. Install the engine mount retaining bolts/nuts.
  4. Tighten
    Tighten the engine mount retaining bolts/nuts to 47 N·m (35 lb ft).


    Object Number: 240984  Size: SH
  5. Install the transmission mounts (6), (7), (14) and (15) to the crossmember.
  6. Install the transmission mount retaining nuts.
  7. Tighten
    Tighten the transmission mount retaining nuts to 47 N·m (35 lb ft).

  8. Lower the engine and transmission assembly until the front engine mount bracket bolts are through the mount and the transmission mount brackets are centered over the mount through bolt holes.

  9. Object Number: 240949  Size: SH
  10. Install the front engine mount through bolt spacers (2), washers (3), and retaining nuts (4).
  11. Tighten
    Tighten the front engine mount through bolt nuts to 95 N·m (70 lb ft).


    Object Number: 240984  Size: SH
  12. Install the engine/transmission mount spacers (8), (13), washers (9), (12), and through bolts (10) and (11).
  13. Tighten
    Tighten the engine/transmission mount through bolts to 195 N·m (144 lb ft).

  14. Remove the jack.
  15. Caution: Unless directed otherwise, the ignition and start switch must be in the OFF or LOCK position, and all electrical loads must be OFF before servicing any electrical component. Disconnect the negative battery cable to prevent an electrical spark should a tool or equipment come in contact with an exposed electrical terminal. Failure to follow these precautions may result in personal injury and/or damage to the vehicle or its components.

  16. Connect the negative battery cable.