GM Service Manual Online
For 1990-2009 cars only

Removal Procedure

Important: Install a new set of insulators when you replace a radiator. Used insulators may be worn out or too large for the new radiator, which could cause the radiator to be loose.

    Caution: Unless directed otherwise, the ignition and start switch must be in the OFF or LOCK position, and all electrical loads must be OFF before servicing any electrical component. Disconnect the negative battery cable to prevent an electrical spark should a tool or equipment come in contact with an exposed electrical terminal. Failure to follow these precautions may result in personal injury and/or damage to the vehicle or its components.

  1. Disconnect the negative battery cable.
  2. Drain the coolant. Refer to Cooling System Draining and Filling .

  3. Object Number: 258844  Size: SH
  4. Remove the lower radiator hose assembly and clamps from the radiator.
  5. Disconnect the upper surge tank-to-radiator hose and clamp.

  6. Object Number: 258843  Size: SH
  7. Disconnect the upper radiator hose and clamp.

  8. Object Number: 258837  Size: SH
  9. Remove the lower intake manifold-to-radiator bypass hose clamp and hose.

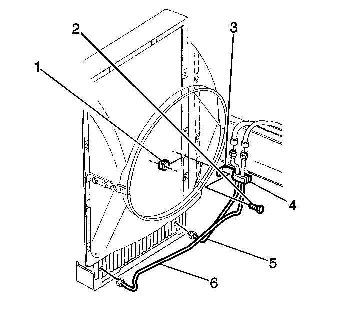
  10. Object Number: 240987  Size: SH
  11. Provide a container to catch the oil that is drained from the automatic transmission cooler and the lines. Do not reuse the drained fluid.
  12. Disconnect the transmission oil cooler lines (5) and (6).

  13. Object Number: 240941  Size: SH
  14. Raise the vehicle and support with safety stands. Refer to Lifting and Jacking the Vehicle in General Information. Note that the raised height must allow clearance for radiator removal.
  15. Remove the radiator lower channel support retaining bolts/nuts (2) and (4). Support the weight of the radiator. Do not allow the radiator to fall.
  16. Remove the lower channel support (3).
  17. Lower the radiator out of its housing and remove from the vehicle.
  18. Inspect and replace the following components as needed:
  19. • The radiator
    • The hoses
    • The mounting hardware
  20. Clean the radiator if reuse is intended.

Installation Procedure


    Object Number: 240941  Size: SH
  1. Install the radiator into its housing with new upper insulators.
  2. Install the lower channel support with new insulators (3).
  3. Notice: Use the correct fastener in the correct location. Replacement fasteners must be the correct part number for that application. Fasteners requiring replacement or fasteners requiring the use of thread locking compound or sealant are identified in the service procedure. Do not use paints, lubricants, or corrosion inhibitors on fasteners or fastener joint surfaces unless specified. These coatings affect fastener torque and joint clamping force and may damage the fastener. Use the correct tightening sequence and specifications when installing fasteners in order to avoid damage to parts and systems.

  4. Install the lower channel support retaining bolts/nuts (2) and (4).
  5. Tighten
    Tighten the lower channel support retaining bolts to 70 N·m (52 lb ft).

  6. Lower vehicle.

  7. Object Number: 240987  Size: SH
  8. Install the automatic transmission oil cooler lines (5) and (6) to the radiator.
  9. Install the lower radiator hose assembly.

  10. Object Number: 258837  Size: SH
  11. Install the upper surge tank-to-radiator hose.

  12. Object Number: 258843  Size: SH
  13. Install the upper radiator hose and clamp.

  14. Object Number: 258844  Size: SH
  15. Install the lower intake manifold-to-radiator bypass hose and clamp.
  16. Caution: Unless directed otherwise, the ignition and start switch must be in the OFF or LOCK position, and all electrical loads must be OFF before servicing any electrical component. Disconnect the negative battery cable to prevent an electrical spark should a tool or equipment come in contact with an exposed electrical terminal. Failure to follow these precautions may result in personal injury and/or damage to the vehicle or its components.

  17. Connect the negative battery cable.
  18. Fill the cooling system. Refer to Cooling System Draining and Filling .
  19. Fill the automatic transmission to the proper capacity. Use new, clean fluid. Refer to Transmission Fluid Check .