GM Service Manual Online
For 1990-2009 cars only

Removal Procedure

  1. Disconnect the negative battery cable. Refer to

    Caution: Unless directed otherwise, the ignition and start switch must be in the OFF or LOCK position, and all electrical loads must be OFF before servicing any electrical component. Disconnect the negative battery cable to prevent an electrical spark should a tool or equipment come in contact with an exposed electrical terminal. Failure to follow these precautions may result in personal injury and/or damage to the vehicle or its components.

    .
  2. Drain the fuel from the tank. Refer to Fuel Tank Draining in Engine Controls.
  3. Raise the vehicle. Refer to

    Notice: When you are jacking or lifting a vehicle at the frame side rails or other prescribed lift points, be certain that the lift pads do not contact the catalytic converter, the brake pipes or the fuel lines. If such contact occurs, vehicle damage or unsatisfactory vehicle performance may result.

    .
  4. Important: This vehicle is equipped with a right hand or left hand fuel tank filler. The opposite side of this 80 gallon fuel tank is plugged.


    Object Number: 227632  Size: SH
  5. Loosen the filler neck hose clamps (1), (5) at the fuel tank (3). Then disconnect the fuel tank filler neck hoses from the fuel tank.

  6. Object Number: 215303  Size: SH
  7. Remove the fuel tank shields (1), (2), and (3).

  8. Object Number: 227619  Size: SH
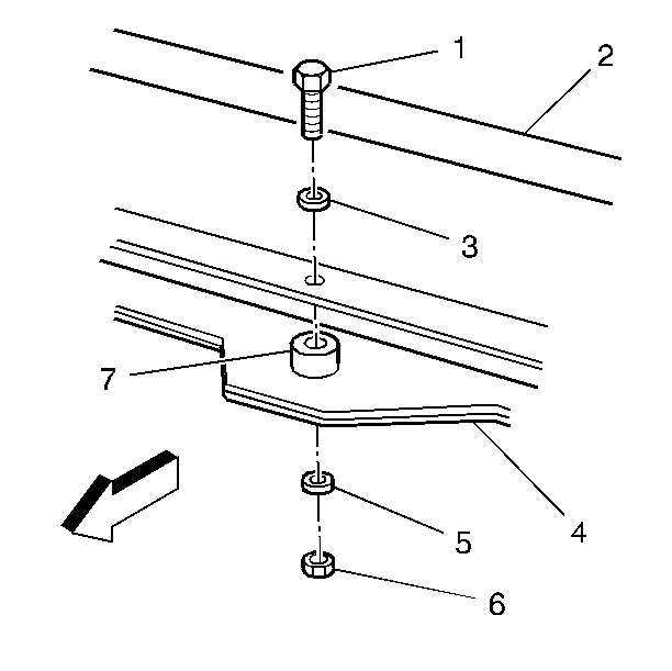
  9. Support the fuel tank (4) and remove the tank straps (6), (7) and insulator strips (5).

  10. Object Number: 227636  Size: SH
  11. Remove the fasteners (1), (6) to the front fuel tank crossmember spacers (7).

  12. Object Number: 227643  Size: SH
  13. Remove the fasteners (1), (4) to the rear fuel tank crossmember spacers (6).

  14. Object Number: 227628  Size: SH
  15. Move the fuel tank (3) to one side to remove it from the frame rail. Lower fuel tank slightly and move fuel tank to the opposite side to remove it from the frame rail. Center and lower the fuel tank.
  16. Disconnect the fuel feed and vapor hoses.
  17. Disconnect the electrical connections at the sender.

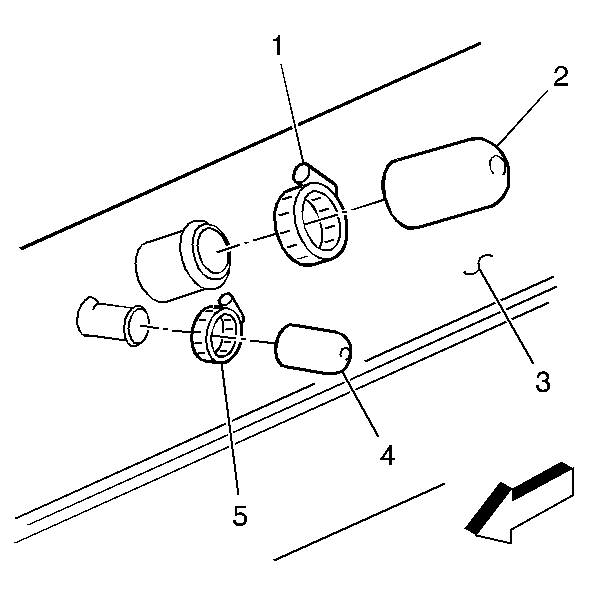
  18. Object Number: 318483  Size: SH
  19. Remove the locking ring nuts/washers (1) and lock ring (8) from the top of the fuel sending assembly (2) lift the sender assembly up from the tank flange. Refer to Fuel Sender Assembly Replacement .

Installation Procedure


    Object Number: 318483  Size: SH
  1. Insert a new O-ring seal. Install the fuel sender assembly (2) into the fuel tank.
  2. Align fuel sender (2) with the alignment tab in tank, install locking ring (8) and nuts/washers (1).
  3. Tighten
    Tighten the lock ring nuts to 11.5 N·m (100.90 lb in).


    Object Number: 227628  Size: SH
  4. Raise the tank (3) slightly and reconnect the fuel feed and vapor hoses and the electrical connections at the sender.
  5. Raise and position the fuel tank onto one side of the frame rail. Slowly raise the fuel tank and position it onto the opposite side frame rail. Move the fuel tank to position it correctly.
  6. Notice: Use the correct fastener in the correct location. Replacement fasteners must be the correct part number for that application. Fasteners requiring replacement or fasteners requiring the use of thread locking compound or sealant are identified in the service procedure. Do not use paints, lubricants, or corrosion inhibitors on fasteners or fastener joint surfaces unless specified. These coatings affect fastener torque and joint clamping force and may damage the fastener. Use the correct tightening sequence and specifications when installing fasteners in order to avoid damage to parts and systems.


    Object Number: 227643  Size: SH
  7. Install the fasteners (1), (4) to the rear fuel tank crossmember spacers (6).
  8. Tighten
    Tighten the rear spacer nuts to 70 N·m (52 lb ft).


    Object Number: 227636  Size: SH
  9. Install the fasteners (1), (6) to the front fuel tank crossmember spacers (7).
  10. Tighten
    Tighten the front spacer nuts to 70 N·m (52 lb ft).

    Important: Tighten the strap nuts by steps, alternating between the four nuts, until the specified torque is reached. A failure to tighten the strap nuts as specified will cause the bottom of the tank to flex upward. This will result in the fuel gauge indicating that there is fuel remaining in the tank when the tank runs dry.


    Object Number: 227619  Size: SH
  11. Install the fuel tank straps (6), (7) and insulator strips (5).
  12. Tighten
    Tighten the strap nuts to 58 N·m (43 lb ft).


    Object Number: 215303  Size: SH
  13. Install the fuel tank shields (1), (2), and (3).
  14. Tighten
    Tighten the shield nuts to 37 N·m (27 lb ft).


    Object Number: 227632  Size: SH
  15. Install the fuel tank filler neck hoses to the fuel tank. Tighten the clamps (1), (5).
  16. Tighten
    Tighten the clamps to 3 N·m (27 lb in).

  17. Replenish the fuel in the tank. Reinstall the fuel tank filler cap.
  18. Reconnect the negative battery cable. If a memory retention device was not used, please reset (to the extent possible) all devices that lost their memory after the battery was disconnected.
  19. Check for fuel leaks.
  20. 12.1. Turn ON the ignition switch for 2 seconds.
    12.2. Turn OFF the ignition switch for 10 seconds.
    12.3. Again, turn the ignition switch to the ON position.
    12.4. Check for fuel leaks.