GM Service Manual Online
For 1990-2009 cars only
Figure 1:

Full Engine View Front


Object Number: 228854  Size: LF
(1)Upper Intake Manifold
(2)EGR Valve
(3)EGR Pipe
(4)Bank 1 Coil to Near Plug Ignition System (Cylinders 1,3,5,7)
(5)Bank 1 Knock Sensor Shield
(6)Bank 1 Knock Sensor
(7)Crankshaft Position Sensor
(8)Crankcase Ventilation Valve
(9)EVAP Purge Solenoid
(10)MAP Sensor
(11)Bank 2 Coil Near Plug Ignition System (Cylinders 2,4,6,8)
(12)TP Sensor
(13)Throttle Body Assembly (TAC System)
Figure 2:

Full Engine Rear View


Object Number: 228861  Size: LF
(1)Bank 2 Coil Near Plug Ignition System (Cylinders 2,4,6,8)
(2)Throttle Body Assembly (TAC System)
(3)Throttle Body Motor (TAC System)
(4)Engine Coolant Temperature Sensor (ECT Sensor Location, Center of Bank 2 Cylinder Head)
(5)Camshaft Position Sensor
(6)Oil Pressure Sensor
(7)Fuel Rail Assembly connector
(8)EGR Pipe
(9)Bank 1 Coil Near Plug Ignition System (Cylinders 1,3,5,7)
(10)EVAP Purge Solenoid
(11)Crankcase Ventilation Valve
(12)EGR Valve
Figure 3:

Chassis Top View


Object Number: 214868  Size: MF
(1)Ignition Coil Harness Bank 1; Ignition Coil Harness Bank 2
(2)Evap Canisters
(3)Fuel Pump; Fuel Sender
(4)Data Link Connector (DLC)
(5)Powertrain Control Module (PCM))
(6)Electronic Brake Control Module (EBCM)
Figure 4:

Powertrain Control Module (PCM) Location


Object Number: 215019  Size: SF
(1)PCM Bracket
(2)Upper Radiator Support
(3)PCM Bracket
(4)PCM 80-way Harness Connectors
Figure 5:

Heated Oxygen Sensor (HO2S) Locations


Object Number: 215135  Size: MF
(1)HO2S Bank 2 Sensor 1
(2)HO2S Bank 1 Sensor 2
(3)HO2S Bank 2 Sensor 2
(4)HO2S Bank 1 Sensor 1
Figure 6:

Accelerator Pedal Position (APP), Throttle Actuator Control (TAC) Module


Object Number: 215301  Size: SH
(1)Throttle Actuator Control Module
(2)Throttle Actuator Control Module Harness Connectors
(3)Accelerator Pedal Position Sensor (APP)
(4)Accelerator Pedal
(5)Data Link Connector
Figure 7:

Air Induction System


Object Number: 215282  Size: MF
(1)Throttle Body Assembly (TAC System)
(2)Resonator Assembly
(3)Air Cleaner Assembly
(4)Intake Air Temperature (IAT) Sensor
(5)Mass Air Flow (MAF) Sensor
Figure 8:

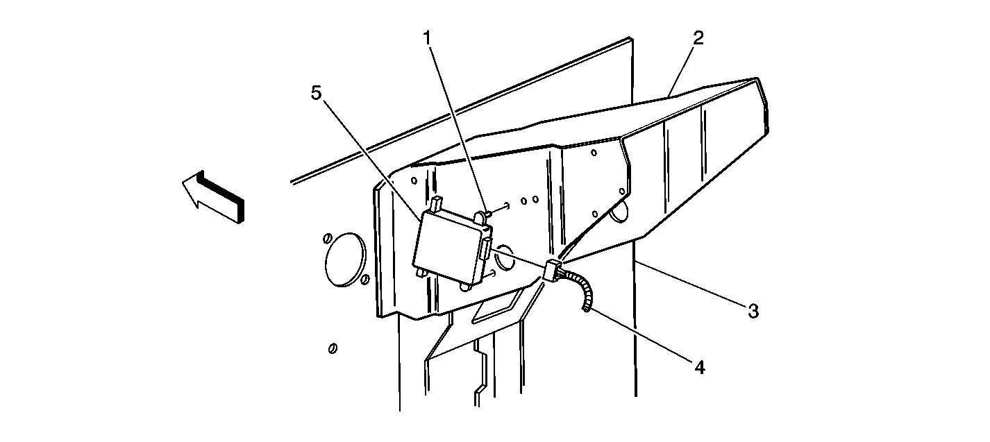
Speedo Adapter Module


Object Number: 215064  Size: SF
(1)Speedo Adapter Module Fasteners to Steering Column Bracket (Push Pins)
(2)Steering Column Bracket
(3)Driver's Island
(4)Speedo Adapter I/P Harness Connector
(5)Speedo Adapter Module