GM Service Manual Online
For 1990-2009 cars only

Notice: The heated oxygen sensors each use a permanently attached pigtail and connector. Do not remove the pigtail from the heated oxygen sensor. Damage or removal of the pigtail or the connector affects proper operation of the heated oxygen sensor. Handle the oxygen sensor carefully. Do not drop the oxygen sensor. Keep the in-line connector and the louvered end free of grease, dirt, or other contaminants. Do not use cleaning solvents of any type. Do not repair the wiring, the connector, or the terminals. Replace the oxygen sensor if the pigtail wiring, the terminals, or the connector is damaged. Proper oxygen sensor operation requires an external air reference. This external air reference is obtained by way of the oxygen sensor signal and heater wires. Any attempt to repair the wires, the connectors, or the terminals results in the obstruction of the air reference and degrades the oxygen sensor performance. A dropped oxygen sensor is a bad oxygen sensor.

Important:: Take care when handling the heated oxygen sensor. The in-line electrical connector and louvered end must be kept free of grease, dirt or other contaminants. Also, avoid using cleaning solvents of any type. Do not drop or roughly handle the heated oxygen sensor. A dropped sensor is a bad sensor.

Removal Procedure (Bank 1 Sensor 1)

The heated oxygen sensor may be difficult to remove when the engine temperature is below 48°C (120°F). Excessive force may damage the threads in the exhaust manifold or exhaust pipe. It may be necessary to lower the exhaust system to gain sufficient access to a HO2S and/or it's connector. Refer to Service Category Engine Exhaust.

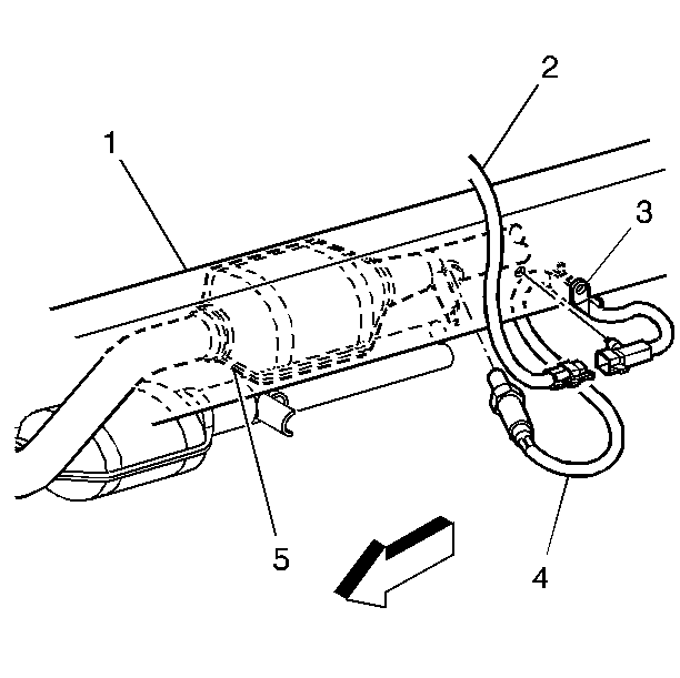
  1. Raise the vehicle. Refer to Vehicle Lifting and JackingGeneral Information.

  2. Object Number: 203114  Size: SH
  3. Disconnect the HO2S electrical connector (2).
  4. Carefully back out the heated oxygen sensor (1).

Installation Procedure (Bank 1 Sensor 1)

Important:: A special anti-seize compound is used on the heated oxygen sensor threads. The compound consists of graphite suspended in fluid and glass beads. The graphite will burn away, but the glass beads will remain, making the sensor easier to remove. New or service sensors will already have the compound applied to the threads. If a sensor is removed from an engine and if for any reason is to be reinstalled, the threads must have anti-seize compound applied before reinstallation.

  1. Coat the threads of the heated oxygen sensor (1) with anti-seize compound P/N 5613695, or equivalent if necessary.

  2. Object Number: 203114  Size: SH
  3. Install the heated oxygen sensor (1).
  4. Tighten
    Tighten the HO2S to 42 N·m (31 lb ft).

    Notice: Use the correct fastener in the correct location. Replacement fasteners must be the correct part number for that application. Fasteners requiring replacement or fasteners requiring the use of thread locking compound or sealant are identified in the service procedure. Do not use paints, lubricants, or corrosion inhibitors on fasteners or fastener joint surfaces unless specified. These coatings affect fastener torque and joint clamping force and may damage the fastener. Use the correct tightening sequence and specifications when installing fasteners in order to avoid damage to parts and systems.

  5. Connect the HO2S electrical connector (2).
  6. Lower the vehicle.

Removal Procedure (Bank 1 Sensor 2)

The heated oxygen sensor may be difficult to remove when the engine temperature is below 48°C (120°F). Excessive force may damage the threads in the exhaust manifold or exhaust pipe. It may be necessary to lower the exhaust system to gain sufficient access to a HO2S and/or it's connector. Refer to Service Category Engine Exhaust.

  1. Raise the vehicle. Refer to Vehicle Lifting and JackingGeneral Information.

  2. Object Number: 203122  Size: SH
  3. Disconnect the HO2S electrical connector (2).
  4. Carefully back out the heated oxygen sensor (4).

Installation Procedure (Bank 1 Sensor 2)

Important:: A special anti-seize compound is used on the heated oxygen sensor threads. The compound consists of graphite suspended in fluid and glass beads. The graphite will burn away, but the glass beads will remain, making the sensor easier to remove. New or service sensors will already have the compound applied to the threads. If a sensor is removed from an engine and if for any reason is to be reinstalled, the threads must have anti-seize compound applied before reinstallation.

  1. Coat the threads of the heated oxygen sensor (4) with anti-seize compound P/N 5613695, or equivalent if necessary.

  2. Object Number: 203122  Size: SH
  3. Install the heated oxygen sensor (4).
  4. Tighten
    Tighten the HO2S to 42 N·m (31 lb ft).

    Notice: Use the correct fastener in the correct location. Replacement fasteners must be the correct part number for that application. Fasteners requiring replacement or fasteners requiring the use of thread locking compound or sealant are identified in the service procedure. Do not use paints, lubricants, or corrosion inhibitors on fasteners or fastener joint surfaces unless specified. These coatings affect fastener torque and joint clamping force and may damage the fastener. Use the correct tightening sequence and specifications when installing fasteners in order to avoid damage to parts and systems.

  5. Connect the HO2S electrical connector (2).
  6. Lower the vehicle.