GM Service Manual Online
For 1990-2009 cars only

Removal Procedure

    Caution: Unless directed otherwise, the ignition and start switch must be in the OFF or LOCK position, and all electrical loads must be OFF before servicing any electrical component. Disconnect the negative battery cable to prevent an electrical spark should a tool or equipment come in contact with an exposed electrical terminal. Failure to follow these precautions may result in personal injury and/or damage to the vehicle or its components.

  1. Disconnect the negative battery cable.
  2. Move the shift lever to park (P) and apply the parking brake.
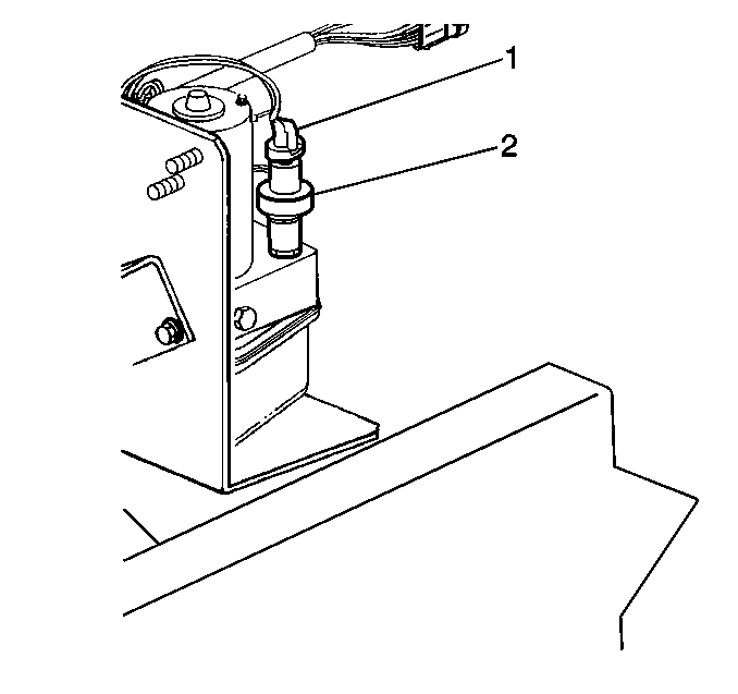
  3. Remove the parking brake pump motor switch electrical connector (1).

  4. Object Number: 258749  Size: SH
  5. Remove the parking brake pump motor switch (2).

Installation Procedure


    Object Number: 258749  Size: SH
  1. Install the parking brake pump motor switch (2).
  2. Install the parking brake pump motor switch electrical connector (1).
  3. Caution: Unless directed otherwise, the ignition and start switch must be in the OFF or LOCK position, and all electrical loads must be OFF before servicing any electrical component. Disconnect the negative battery cable to prevent an electrical spark should a tool or equipment come in contact with an exposed electrical terminal. Failure to follow these precautions may result in personal injury and/or damage to the vehicle or its components.

  4. Connect the negative battery cable.