GM Service Manual Online
For 1990-2009 cars only

Removal Procedure

    Caution: Unless directed otherwise, the ignition and start switch must be in the OFF or LOCK position, and all electrical loads must be OFF before servicing any electrical component. Disconnect the negative battery cable to prevent an electrical spark should a tool or equipment come in contact with an exposed electrical terminal. Failure to follow these precautions may result in personal injury and/or damage to the vehicle or its components.


    Object Number: 258753  Size: SH
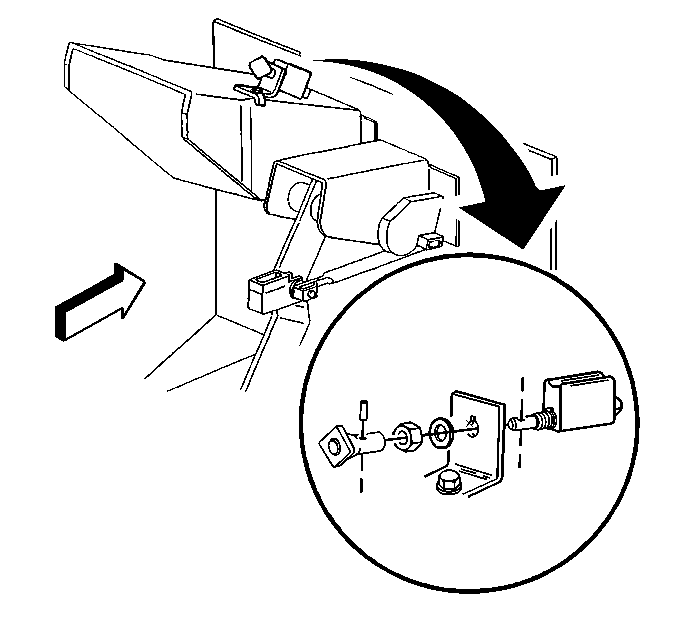
  1. Disconnect the negative battery cable.
  2. Remove the pull switch knob retaining pin by using a small hammer and a small drift punch. Gently drive the pin out.
  3. Slide the pull switch knob off of the shaft.
  4. Remove the pull switch mounting nut and washer.
  5. Remove the pull switch by sliding it out the back of the mounting bracket.

Installation Procedure


    Object Number: 258753  Size: SH
  1. Install the pull switch into the mounting bracket.
  2. Notice: Use the correct fastener in the correct location. Replacement fasteners must be the correct part number for that application. Fasteners requiring replacement or fasteners requiring the use of thread locking compound or sealant are identified in the service procedure. Do not use paints, lubricants, or corrosion inhibitors on fasteners or fastener joint surfaces unless specified. These coatings affect fastener torque and joint clamping force and may damage the fastener. Use the correct tightening sequence and specifications when installing fasteners in order to avoid damage to parts and systems.

  3. Install the pull switch washer and mounting nut.
  4. Tighten
    Tighten the pull switch mounting nut to 3 N·m (27 lb in).

  5. Install pull switch knob by sliding it onto the pull switch shaft.
  6. Install the pull switch knob retaining pin by using a small hammer and a small drift punch. Gently drive the pin in.
  7. Caution: Unless directed otherwise, the ignition and start switch must be in the OFF or LOCK position, and all electrical loads must be OFF before servicing any electrical component. Disconnect the negative battery cable to prevent an electrical spark should a tool or equipment come in contact with an exposed electrical terminal. Failure to follow these precautions may result in personal injury and/or damage to the vehicle or its components.

  8. Connect the negative battery cable.